Curiosii for ever!: Car repair manuals for everyone.

CAN Communication System





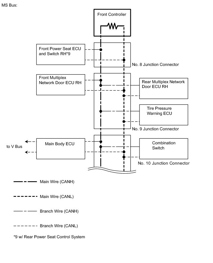
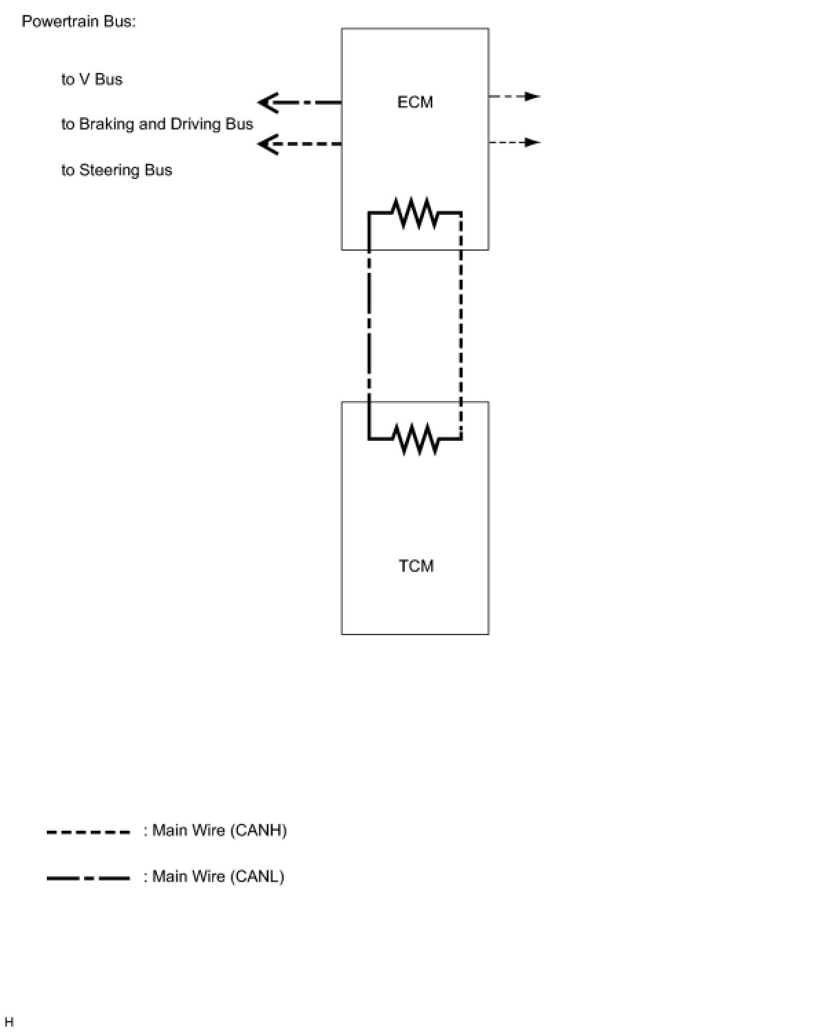
CAN COMMUNICATION: CAN COMMUNICATION SYSTEM: SYSTEM DIAGRAM

















HINT
If the vehicle is not equipped with a radar cruise control system or pre-collision system, the parking assist bus does not exist.

















HINT
* The skid control ECU detects and stores steering angle sensor and yaw rate sensor DTCs and performs DTC communication by receiving information from the steering angle sensor and yaw rate sensor.
* The ECM uses the CAN communication system to perform DTC communication instead of the conventional communication line (SIL).





SYSTEM DESCRIPTION

1. BRIEF DESCRIPTION

(a) The CAN (Controller Area Network) is a serial data communication system for real time application. It is a vehicle multiplex communication system which has a high communication speed (500 kbps, 250 kbps) and the ability to detect malfunctions.

(b) By pairing the CANH and CANL bus lines, the CAN performs communication based on differential voltages.

(c) Many ECUs (sensors) installed on the vehicle operate by sharing information and communicating with each other.

(d) The CAN has 2 resistors of 120 Ohms which are necessary to communicate with the main wire.

2. DEFINITION OF TERMS

(a) Main wire

(1) The main wire is a wire harness between the 2 termination circuits on the bus (communication line). This is the main bus in the CAN communication system.

(b) Branch wire

(1) The branch wire is a wire harness which diverges from the main wire to an ECU or sensor.

(c) Termination circuits

(1) The termination circuit is a circuit which converts the communication current of the CAN communication into the bus voltage. It consists of a resistor and condenser. 2 termination circuits are necessary on a bus.

(d) CAN J/C

(1) The CAN J/C is designed so that it can be used with CAN communication which has a termination circuit and CAN communication which does not have a termination circuit.

3. CIRCUIT DESCRIPTION

(a) The V bus, steering bus, braking and driving bus, parking assist bus, powertrain bus and MS bus each have termination circuits with 120 Ohms x 2 of resistance. High speed communication at 500 kbps and 250 kbps is possible.

4. ECU OR SENSOR WHICH COMMUNICATE VIA CAN COMMUNICATION SYSTEM

(a) Skid control ECU

(b) Air conditioning amplifier

(c) ECM

(d) Main body ECU

(e) No. 1 meter ECU

(f) Center airbag sensor

(g) Electric power control ECU

(h) AFS ECU

(i) Display and navigation module display*1

(j) Integration control and panel assembly*2

(k) Steering angle sensor

(l) Yaw rate sensor

(m) Power steering ECU

(n) Steering control ECU*3

(o) Suspension control ECU*4

(p) Seat belt control ECU*5

(q) Driving support ECU*6

(r) Electric parking brake ECU

(s) Parking assist ECU*7

(t) Clearance warning ECU*8

(u) Front controller

(v) Outer mirror switch

(w) Steering pad ECU

(x) Multiplex tilt and telescopic ECU

(y) Certification ECU

(z) Front multiplex network door ECU LH

(aa) Front multiplex network door ECU RH

(ab) Rear multiplex network door ECU LH

(ac) Rear multiplex network door ECU RH

(ad) Front power seat ECU and switch LH

(ae) Front power seat ECU and switch RH*9

(af) Rear power seat module switch*10

(ag) Combination switch

(ah) Power trunk lid control ECU*11

(ai) Rear junction block ECU

(aj) Tire pressure warning ECU

(ak) Front millimeter wave radar sensor*6

(al) TCM

(am) Object recognition ECU*12

(an) Driver monitor ECU*12

HINT
*1: w/ Multi-display

*2: w/o Multi-display

*3: w/ Variable Gear Ratio Steering System

*4: w/ Air Suspension System

*5: w/ Pre-collision System

*6: w/ Dynamic Radar Cruise Control System or Pre-collision System

*7: w/ Advanced Parking Guidance System and Intuitive Parking Assist System

*8: w/ Intuitive Parking Assist System

*9: w/ Rear Power Seat Control System

*10: w/ Rear Power Seat Control System (except 4-passenger with Ottoman) or w/ Seat Heater System and Rear Power Seat Control System (for 4-passenger with Ottoman)

*11: w/ Power Trunk Lid System

*12: w/ Driver Monitor Camera

5. DIAGNOSTIC CODES FOR CAN COMMUNICATION SYSTEM

(a) DTCs for the CAN communication system are as follows: U0073, U0100, U0101, U0122, U0123, U0124, U0126, U0127, U0128, U0129, U0130, U0131, U0132, U0140, U0141, U0142, U0146, U0151, U0155, U0164, U0182, U0198, U0199, U0200, U0201, U0202, U0208, U0209, U0210, U0230, U0235, U0243, U0327, U1000, U1002, U1004, U1005, U1100, U1101, U1102, U1104, U1105, U1106, U1110, U1111, U1112, U1113, U1114, U1115, U1119, U1120, U1121, B2427, B2621, and B2624

6. NOTES REGARDING TROUBLESHOOTING

(a) Trouble in the CAN bus (communication line) can be checked through the DLC3 (except when there is a wire break other than in the branch wire of the DLC3).

NOTICE:
Do not connect the Techstream directly to the DLC3 connector. Be sure to use a service wire.

(b) DTCs regarding the CAN communication system can be checked using the Techstream.

(c) The CAN communication system cannot detect trouble in the branch line of the DLC3 even though the DLC3 is also connected to the CAN communication system.

7. HOW TO DISTINGUISH CAN J/C CONNECTOR

(a) In the CAN communication system, the shape of all connectors connected to the CAN J/C is the same.

The connectors connected to the CAN J/C can be distinguished by the colors of the bus line and the connecting side of the connector.

HINT
See "TERMINALS OF ECU" Part 1 for bus line color or the type of connecting surface.