Curiosii for ever!: Car repair manuals for everyone.

Cruise Control System





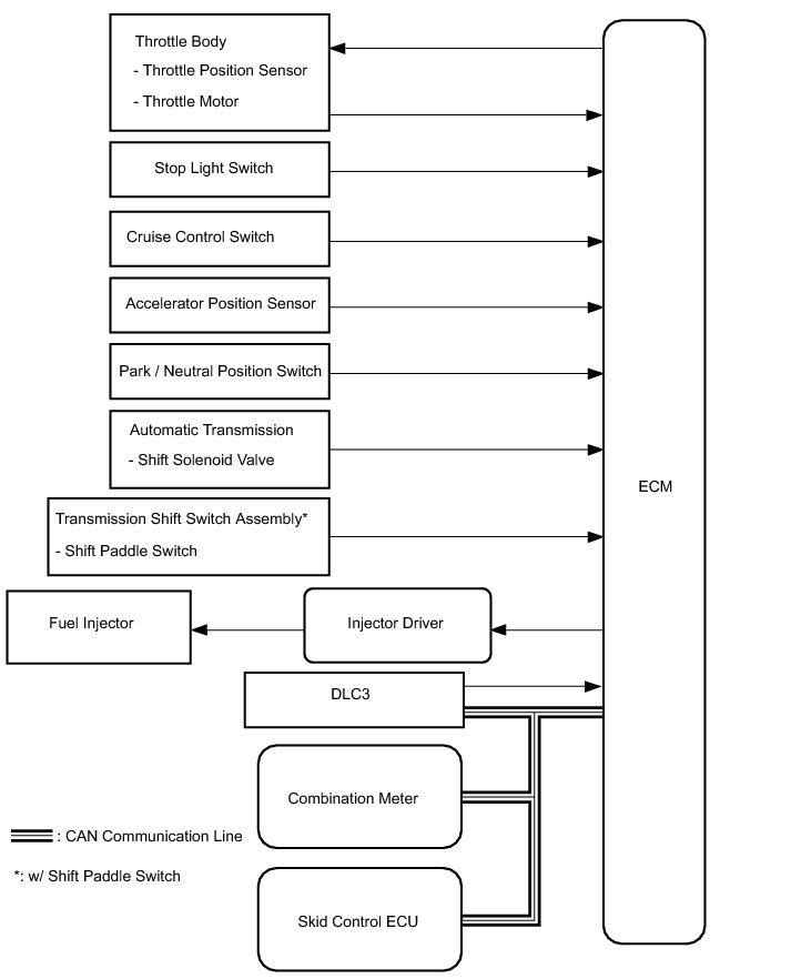
CRUISE CONTROL: CRUISE CONTROL SYSTEM: SYSTEM DIAGRAM













SYSTEM DESCRIPTION

1. CRUISE CONTROL SYSTEM

This system is controlled by the ECM, and is activated by the throttle position sensor and motor. The ECM controls the following functions: ON-OFF, -/SET, +/RES, CANCEL vehicle speed operation, motor output control, and overdrive control.

* The ECM compares the driving vehicle speed from the skid control ECU with the stored vehicle speed set through the cruise control switch. The ECM controls the throttle motor of the throttle body to close the valve when the driving speed is less than the stored speed.

* The ECM receives signals such as ON-OFF, -/SET, +/ RES, and CANCEL from the cruise control switch.

* The ECM illuminates the combination meter CRUISE indicator light when it receives the cruise control switch ON signal.

* The ECM cancels the cruise control system when the brake pedal is depressed and the ECM receives the stop light switch signal.

* The ECM cancels the cruise control system when it detects that the shift position is changed from D or S (8th, 7th, 6th, 5th or 4th gear) to N, M or S (3rd, 2nd, 1st gear), based on the park/neutral position switch signal.

* w/ Shift Paddle Switch:

* The ECM cancels cruise control when it detects that the transmission is changed from 4th gear to 3rd, 2nd or 1st gear with the shift paddle switch while the shift lever is in D or M.

2. LIMIT CONTROL

(a) Low speed limit:

The lowest possible limit of the speed setting range is set at approximately 40 km/h (25 mph). The cruise control system cannot be set when the driving vehicle speed is below the low speed limit. Cruise control operation will be automatically canceled and the set speed is stored in memory when the vehicle speed decreases below the low speed limit 40 km/h (25 mph) while the cruise control is operating.

(b) High speed limit:

The highest possible limit of the speed setting range is set at approximately 200 km/h (125 mph). The cruise control system cannot be set when the driving vehicle speed is over the high speed limit. Also, +/RES cannot be used to increase speed beyond the high speed limit.

3. OPERATION OF CRUISE CONTROL

The cruise control switch operates 7 functions: SET, COAST, TAP-DOWN, RESUME, ACCELERATION (ACCEL), TAP-UP, and CANCEL. The SET, TAP-DOWN and COAST functions, and the RESUME, TAP-UP and ACCEL functions are operated with the same switch. The cruise control switch is an automatic return type switch which turns on only while operating it in each arrow direction and turns off after releasing it.

(a) SET CONTROL

Vehicle speed is stored and constant speed control is maintained when pushing the switch to -/SET while driving with the cruise control switch ON (the CRUISE main indicator light is illuminated), and the vehicle speed is within the set speed range (between the low and high speed limits).

(b) COAST CONTROL

The ECM changes the cruise control demanding throttle opening angle to 0° and decelerates the vehicle when -/SET on the cruise control switch is pressed and held while the cruise control system is operating. When the cruise control switch is released from -/SET, the vehicle speed is stored and constant speed control is maintained.

HINT
The throttle valve is not fully closed due to idle speed control, etc.

(c) TAP-DOWN CONTROL

When tapping down the cruise control switch to -/SET (for approximately 0.5 seconds) while the cruise control system is in operation, the stored vehicle speed decreases each time by approximately 1.6 km/h (1.0 mph). When the cruise control switch is released from -/SET and the difference between the driving and stored vehicle speed is more than 5 km/h (3 mph), the vehicle speed is stored and constant speed control is maintained.

(d) ACCEL CONTROL

The throttle valve motor of the throttle position sensor and motor is instructed by the ECM to open the throttle valve when +/RES on the cruise control switch is pressed and held while the cruise control system is operating. When the cruise control switch is released from +/RES, the vehicle speed is stored and constant speed is maintained.

(e) TAP-UP CONTROL

When tapping up the cruise control switch to +/RES (for approximately 0.5 seconds) while the cruise control system is in operation, the stored vehicle speed increases each time by approximately 1.6 km/h (1.0 mph). However, when the difference between the driving and the stored vehicle speed is more than 5 km/h (3 mph), the stored vehicle speed will not be changed.

(f) RESUME CONTROL

If the cruise control operation was canceled with the stop light switch or CANCEL switch, and if driving speed is within the limit range, pushing the cruise control switch to +/RES restores vehicle speed memorized at the time of cancellation, and maintains constant speed mode.

(g) OVERDRIVE CONTROL

* Overdrive may cancel automatically when using cruise control while driving on inclined roads, etc.

* After overdrive is canceled, if the system determines that the road is no longer inclined based on throttle opening information, overdrive will be restored.

* If overdrive was canceled during ACCEL or RESUME operation, overdrive will be restored after the ACCEL or RESUME operation is completed.

(h) CANCEL CONTROL

(1) Manual cancel

Performing any of the following cancels the cruise control system (the stored vehicle speed in the ECM is maintained).

* Depressing the brake pedal

* Pushing the cruise control switch to CANCEL

* Turning the cruise control switch OFF (set speed is not stored in memory).

* Moving the shift lever to any position except D or S (8th, 7th, 6th, 5th or 4th gear)

* w/ Shift Paddle Switch:

* The transmission is changed from 4th gear to 3rd, 2nd or 1st gear with the shift paddle switch while the shift lever is in D or M.

4. AUTO CANCEL (FAIL-SAFE)

This system has an automatic cancellation function Fail-Safe Chart.