Curiosii for ever!: Car repair manuals for everyone.

Driver Side Door Entry Lock and Unlock Functions do not Operate





DOOR LOCK: SMART ACCESS SYSTEM WITH PUSH-BUTTON START: Driver Side Door Entry Lock and Unlock Functions do not Operate
- Driver Side Door Entry Lock and Unlock Functions do not Operate

DESCRIPTION

When the driver door entry lock and unlock functions do not operate, one of the following may be malfunctioning: 1) power door lock system, 2) driver side door electrical key oscillator, or 3) certification ECU.

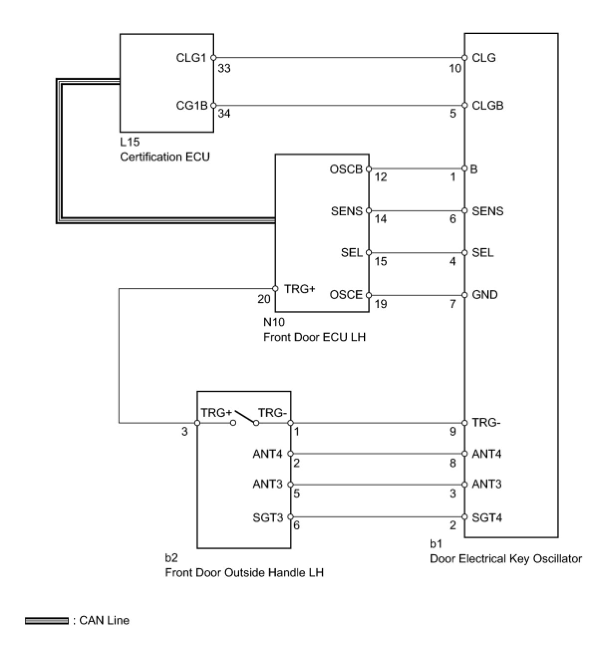
WIRING DIAGRAM





INSPECTION PROCEDURE

PROCEDURE

1. CHECK POWER DOOR LOCK OPERATION

(a) When the master switch assembly's door control switch is operated, check that the locked doors unlock.

Result





NG -- GO TO POWER DOOR LOCK CONTROL SYSTEM Power Door Lock Control System
OK -- Continue to next step.

2. READ VALUE USING TECHSTREAM (DOOR LOCK POSITION SWITCH)

(a) Using the Techstream, read the Data List.

Driver Door (Front door ECU LH)





OK:

On the screen, item changes between ON and OFF according to above chart.

NG -- GO TO POWER DOOR LOCK CONTROL SYSTEM (Proceed to Only Driver Door LOCK/UNLOCK Functions do not Operate) Problem Symptoms Table
OK -- Continue to next step.

3. READ VALUE USING TECHSTREAM

(a) Using the Techstream, read the Data List.

Driver Door (Front door ECU LH)





Result





B -- CHECK WAVE ENVIRONMENT
A -- Continue to next step.

4. CHECK FRONT DOOR ECU LH





(a) Measure the voltage according to the value(s) in the table below.

Standard voltage:





NG -- REPLACE FRONT DOOR ECU LH Components
OK -- Continue to next step.

5. CHECK HARNESS AND CONNECTOR (DOOR ELECTRICAL KEY OSCILLATOR - FRONT DOOR ECU LH)





(a) Disconnect the b1 oscillator connector.

(b) Disconnect the N10 ECU connector.

(c) Measure the resistance according to the value(s) in the table below.

Standard resistance:





NG -- REPAIR OR REPLACE HARNESS OR CONNECTOR
OK -- Continue to next step.

6. CHECK HARNESS AND CONNECTOR (DOOR ELECTRICAL KEY OSCILLATOR - FRONT DOOR OUTSIDE HANDLE LH)





(a) Disconnect the b1 oscillator connector.

(b) Disconnect the b2 handle connector.

(c) Measure the resistance according to the value(s) in the table below.

Standard resistance:





NG -- REPAIR OR REPLACE HARNESS OR CONNECTOR
OK -- Continue to next step.

7. CHECK HARNESS AND CONNECTOR (FRONT DOOR ECU LH - FRONT DOOR OUTSIDE HANDLE LH)





(a) Disconnect the N10 ECU connector.

(b) Disconnect the b2 handle connector.

(c) Measure the resistance according to the value(s) in the table below.

Standard resistance:





NG -- REPAIR OR REPLACE HARNESS OR CONNECTOR
OK -- Continue to next step.

8. CHECK DOOR ELECTRICAL KEY OSCILLATOR (OPERATION)

(a) Replace the door electrical key oscillator with a new one or normally functioning one Components.

(b) Check that the entry function operates normally.

OK:

Operates normally

NG -- CHECK FRONT DOOR OUTSIDE HANDLE LH (OPERATION)

OK -- END (DOOR ELECTRICAL KEY OSCILLATOR IS DEFECTIVE)

9. CHECK FRONT DOOR OUTSIDE HANDLE LH (OPERATION)

(a) Replace the front door outside handle LH with a new one or normally functioning one Removal.

(b) Check that the entry function operates normally.

OK:

Operates normally

NG -- REPLACE FRONT DOOR ECU LH Components

OK -- END (FRONT DOOR OUTSIDE HANDLE LH IS DEFECTIVE)

10. CHECK WAVE ENVIRONMENT

(a) Bring the electrical key transmitter near the driver door outside handle, and perform a driver door entry lock and unlock operation check.





NOTICE:
If the key is brought within 0.2 m (0.6 ft.) of the door handle, communication is not possible.

HINT
* When the electrical key transmitter is brought near the driver door outside handle, the possibility of wave interference decreases, and it can be determined if wave interference is causing the problem symptom.
* If the inspection result is that the operation check is normal, the possibility of wave interference is high. Also, added vehicle components may cause wave interference. If installed, remove them and perform the operation check.

Result





B -- AFFECTED BY WAVE INTERFERENCE
A -- Continue to next step.

11. KEY DIAGNOSTIC MODE

(a) Diagnostic mode inspection (driver door outside oscillator)





(1) Connect the Techstream to the DLC3.

(2) Turn the engine switch on (IG).

(3) Turn the Techstream on.

(4) Enter the following menus: Body Electrical / Smart Access / Smart Communication Check /Overhead + Driver Side.

(5) When the electrical key transmitter is in the position shown in the illustration, check that the wireless door lock buzzer sounds.

HINT
If the buzzer sounds, it can be determined that the driver seat outside transmitter is operating normally.

OK:

Wireless door lock buzzer sounds

NG -- CHECK HARNESS AND CONNECTOR (DOOR ELECTRICAL KEY OSCILLATOR - CERTIFICATION ECU)

OK -- END (CERTIFICATION ECU IS DEFECTIVE)

12. CHECK HARNESS AND CONNECTOR (DOOR ELECTRICAL KEY OSCILLATOR - CERTIFICATION ECU)





(a) Disconnect the L15 ECU connector.

(b) Disconnect the b1 oscillator connector.

(c) Measure the resistance according to the value(s) in the table below.

Standard resistance:





NG -- REPAIR OR REPLACE HARNESS OR CONNECTOR
OK -- Continue to next step.

13. CHECK HARNESS AND CONNECTOR (DOOR ELECTRICAL KEY OSCILLATOR - FRONT DOOR ECU LH)





(a) Disconnect the N10 ECU connector.

(b) Disconnect the b1 oscillator connector.

(c) Measure the resistance according to the value(s) in the table below.

Standard resistance:





NG -- REPAIR OR REPLACE HARNESS OR CONNECTOR
OK -- Continue to next step.

14. CHECK HARNESS AND CONNECTOR (DOOR ELECTRICAL KEY OSCILLATOR - FRONT DOOR OUTSIDE HANDLE LH)





(a) Disconnect the b1 oscillator connector.

(b) Disconnect the b2 handle connector.

(c) Measure the resistance according to the value(s) in the table below.

Standard resistance:





NG -- REPAIR OR REPLACE HARNESS OR CONNECTOR
OK -- Continue to next step.

15. CHECK DOOR ELECTRICAL KEY OSCILLATOR (OPERATION)

(a) Replace the door electrical key oscillator with a new one or normally functioning one Components.

(b) Check that the entry function operates normally.

OK:

Operates normally

NG -- CHECK FRONT DOOR OUTSIDE HANDLE LH (OPERATION)

OK -- END (DOOR ELECTRICAL KEY OSCILLATOR IS DEFECTIVE)

16. CHECK FRONT DOOR OUTSIDE HANDLE LH (OPERATION)

(a) Replace the front door outside handle LH with a new one or normally functioning one Removal.

(b) Check that the entry function operates normally.

OK:

Operates normally

NG -- CHECK FRONT DOOR ECU LH (OPERATION)

OK -- END (FRONT DOOR OUTSIDE HANDLE LH IS DEFECTIVE)

17. CHECK FRONT DOOR ECU LH (OPERATION)

(a) Replace the front door ECU LH with a new one or normally functioning one Components.

(b) Check that the entry function operates normally.

OK:

Operates normally

NG -- REPLACE CERTIFICATION ECU

OK -- END (FRONT DOOR ECU LH IS DEFECTIVE)