Curiosii for ever!: Car repair manuals for everyone.

Ignition System: Testing and Inspection





2GR-FSE ENGINE CONTROL: IGNITION SYSTEM: ON-VEHICLE INSPECTION

1. CHECK IGNITION COIL ASSEMBLY AND PERFORM SPARK TEST

(a) Check for DTCs DTC Check / Clear.

NOTICE:
If any DTC is present, perform troubleshooting procedures for that DTC.

(b) Check that spark occurs.

(1) Remove the ignition coils and spark plugs Removal.

(2) Disconnect the 6 injector connectors.

(3) Install the spark plug into the ignition coil, and then connect the ignition coil connector.

(4) Ground the spark plug.

(5) Check that spark occurs at each spark plug while the engine is being cranked.

NOTICE:
* Be sure to ground the spark plugs when checking them.
* If an ignition coil has been struck or dropped, replace it.
* Do not crank the engine for more than 2 seconds.
HINT
If spark does not occur, perform the following procedure (go to step "c").

(6) Connect the 6 fuel injector connectors.

(7) Install the spark plugs and ignition coils Installation.

(8) Clear the DTCs DTC Check / Clear.

(c) Perform the following spark test procedure (Step "c").

(1) Check that the wire harness side connector of the ignition coil with igniter is securely connected.

Result:





(2) Perform a spark test on each ignition coil.

* 1. Replace the ignition coil with a known good one.

* 2. Perform the spark test again.

Result:





(3) Perform a spark test on each spark plug.

* 1. Replace the spark plug with a known good one.

* 2. Perform the spark test again.

Result:





(4) Check that power is supplied to the ignition coil.

1 Turn the engine switch on (IG).

2 Measure the voltage according to the value(s) in the table below.





Standard Voltage:





Result:





Text in Illustration





2. INSPECT SPARK PLUG

NOTICE:
* Do not use a wire brush for cleaning.
* Do not attempt to adjust the electrode gap of a used spark plug.
(a) Check the electrode using a megohmmeter:

(1) Using a megohmmeter, measure the insulation resistance.





Text in Illustration





Standard Insulation Resistance:





HINT
* If the result is not as specified, clean the spark plug with a spark plug cleaner and measure the resistance again.
* If a megohmmeter is not available, perform the following simple inspection instead.
(b) Alternative inspection method:

(1) Quickly accelerate the engine to 4000 rpm 5 times.

(2) Remove the spark plug.

(3) Visually check the spark plug.





(3) If the electrode is dry, the spark plug is functioning properly. If the electrode is damp, proceed to the next step.

(c) Check the spark plug for any damage to its threads and insulator.

HINT
If there is any damage, replace the spark plug. If not, reinstall the spark plug.

Recommended Spark Plug:





(d) Reference

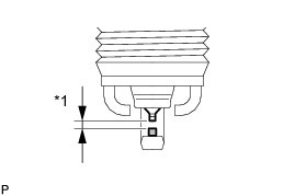
(1) Check the spark plug electrode gap.





Maximum electrode gap for a used spark plug:

1.4 mm (0.0551 in.)

(1) If the gap is more than the maximum, replace the spark plug.

NOTICE:
Never attempt to adjust the gap of a used plug.

Electrode gap for a new spark plug:

1.0 to 1.1 mm (0.0394 to 0.0433 in.)

Text in Illustration





(e) Clean the spark plugs.

If the electrode has traces of wet carbon, clean the electrode with a spark plug cleaner and then dry it.

Standard air pressure:

588 kPa (6.0 kgf/cm2, 85 psi)

Standard duration:

20 seconds or less

HINT
Only use a spark plug cleaner when the electrode is free of oil. If the electrode has traces of oil, use gasoline to clean off the oil before using the spark plug cleaner.