Curiosii for ever!: Car repair manuals for everyone.

Installation





WINDOW / GLASS: WINDSHIELD GLASS: INSTALLATION

1. INSTALL NO. 2 WINDSHIELD GLASS STOPPER (for 2-piece Type)

(a) Using a brush or sponge, coat the application area of the No. 2 windshield glass stoppers with Primer G.

NOTICE:
* Do not apply too much primer.
* Allow the primer coating to dry for 3 minutes or more.
* Do not keep any of the opened Primer G for later use.
HINT
If an area other than specified is coated by accident, wipe off the primer with a clean piece of cloth before it dries.

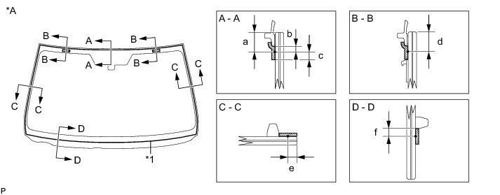
(b) Install 2 new No. 2 windshield glass stoppers onto the windshield glass, as shown in the illustration.





Text in Illustration





Standard Dimension:





HINT
Only 2-piece type No. 1 windshield glass stoppers are supplied. Use the 2-piece type stoppers even if the 1-piece type stoppers were used.

2. INSTALL NO. 1 WINDSHIELD GLASS STOPPER (for 2-piece Type)

(a) Install 2 new No. 1 windshield glass stoppers to the vehicle body, as shown in the illustration.





HINT
Only 2-piece type No. 1 windshield glass stoppers are supplied. Use the 2-piece type stoppers even if the 1-piece type stoppers were used.

3. INSTALL WINDSHIELD OUTSIDE MOULDING

(a) Using a brush or sponge, coat the application area of a new windshield outside moulding with Primer G.

NOTICE:
* Do not apply too much primer.
* Allow the primer coating to dry for 3 minutes or more.
* Do not keep any of the opened Primer G for later use.
HINT
If an area other than specified is coated by accident, wipe off the primer with a clean piece of cloth before it dries.

(b) Install the new windshield outside moulding, as shown in the illustration.





Text in Illustration





Standard Dimension:





4. INSTALL WINDSHIELD GLASS ADHESIVE DAM

(a) Using a brush or sponge, coat the application area of a new windshield glass adhesive dam with Primer G.

NOTICE:
* Do not apply too much primer.
* Allow the primer coating to dry for 3 minutes or more.
* Do not keep any of the opened Primer G for later use.
* Install the new adhesive dam along the ceramic notches.
HINT
If an area other than specified is coated by accident, wipe off the primer with a clean piece of cloth before it dries.

(b) Install the new adhesive dam onto the windshield glass, as shown in the illustration.





Text in Illustration





Standard Dimension:





NOTICE:
Install the new adhesive dam along the dam reference line.

5. INSTALL WINDSHIELD GLASS

(a) Position the glass.





Text in Illustration





(1) Using suction cups, place the glass in the correct position.

(2) Check that the whole contact surface of the glass rim is perfectly even.

(3) Place reference marks between the glass and vehicle body.

NOTICE:
Check that the stoppers are attached to the vehicle body correctly.

HINT
When reusing the glass, check and correct the reference mark positions.

(4) Remove the glass.

(b) Using a brush, coat the exposed part of the vehicle body with Primer M.





Text in Illustration





NOTICE:
* Do not coat the adhesive with Primer M.
* Do not apply too much primer.
* Allow the primer coating to dry for 3 minutes or more.
* Do not keep any of the opened Primer M for later use.
HINT
If an area other than specified is coated by accident, wipe off the primer with a clean piece of cloth before it dries.

(c) Using a brush or sponge, coat the edge of the glass and the contact surface with Primer G.





Text in Illustration





Standard Dimension:





NOTICE:
* Do not apply too much primer.
* Allow the primer coating to dry for 3 minutes or more.
* Do not keep any of the opened Primer G for later use.
HINT
* Apply Primer G onto the ceramic notches.
* If an area other than specified is coated by accident, wipe off the primer with a clean piece of cloth before it dries.
(d) Apply adhesive to the glass.

Adhesive:

Toyota Genuine Windshield Glass Adhesive or equivalent

(1) Cut off the tip of the cartridge nozzle as shown in the illustration.

HINT
After cutting off the tip, use all adhesive within the time described in the table below.

Usage Time Frame:





(2) Load the sealer gun with the cartridge.

(3) Coat the glass with adhesive as shown in the illustration.





Text in Illustration





Standard Dimension:





(e) Install the glass.

(1) Using suction cups, position the glass so that the reference marks are aligned, and press it in gently along the rim. (When reusing the glass)





Text in Illustration





NOTICE:
* Allow the primer coating to dry for 3 minutes or more.
* Check that the stoppers are attached to the vehicle body correctly.
* Check the clearance between the vehicle body and glass.
(2) Using auction cups, position the glass so that the reference marks are aligned, and press it in gently along the rim. (When replacing the glass with a new one)





Text in Illustration





NOTICE:
* Allow the primer coating to dry for 3 minutes or more.
* Check that the stoppers are attached to the vehicle body correctly.
* Check the clearance between the vehicle body and glass.
(3) Lightly press the front surface of the glass to ensure a close fit.

HINT
Press the glass with force of 98 N (10 kgf, 22 lbf) or more.

(4) Using a scraper, remove any excess or protruding adhesive.





Text in Illustration





NOTICE:
Do not drive the vehicle for the time described in the table below.

Minimum Time:





HINT
Apply adhesive onto the glass rim.

(f) Connect each connector.

6. INSPECT FOR LEAK AND REPAIR

(a) Conduct a leak test after the adhesive has completely hardened.

(b) Seal any leaks with a sealer gun.

7. TEMPORARILY TIGHTEN ROOF HEADLINING ASSEMBLY Installation

8. INSTALL VISOR HOLDER (for LH Side) Installation

9. INSTALL VISOR HOLDER (for RH Side)

HINT
Use the same procedure for the RH side and the LH side.

10. INSTALL ROOF HEADLINING ASSEMBLY Installation

11. INSTALL INNER REAR VIEW MIRROR ASSEMBLY Installation

12. INSTALL INNER REAR VIEW MIRROR STAY HOLDER COVER Installation

13. INSTALL RAIN SENSOR TAPE (W/ Rain Sensor) Installation

14. INSTALL RAIN SENSOR (W/ Rain Sensor) Installation

15. INSTALL FRONT ROOF PROTECTOR LH Installation

16. INSTALL FRONT ROOF PROTECTOR RH

HINT
Use the same procedure for the RH side and the LH side.

17. INSTALL VISOR ASSEMBLY LH Installation

18. INSTALL VISOR BRACKET COVER (for LH Side) Installation

19. INSTALL VISOR ASSEMBLY RH

HINT
Use the same procedure for the RH side and the LH side.

20. INSTALL VISOR BRACKET COVER (for RH Side)

HINT
Use the same procedure for the RH side and the LH side.

21. INSTALL MAP LIGHT ASSEMBLY Installation

22. INSTALL FRONT PILLAR GARNISH LH Installation

23. INSTALL FRONT DOOR OPENING TRIM COVER LH Installation

24. INSTALL DOOR SCUFF PLATE ASSEMBLY LH Installation

25. INSTALL FRONT PILLAR GARNISH RH

HINT
Use the same procedure for the RH side and the LH side.

26. INSTALL FRONT DOOR OPENING TRIM COVER RH

HINT
Use the same procedure for the RH side and the LH side.

27. INSTALL DOOR SCUFF PLATE ASSEMBLY RH

HINT
Use the same procedure for the RH side and the LH side.

28. CLOSE METAL TOP ROOF Installation

29. INSTALL COWL TOP VENTILATOR LOUVER SUB-ASSEMBLY Installation

30. INSTALL FRONT WIPER ARM AND BLADE ASSEMBLY LH Installation

31. INSTALL FRONT WIPER ARM AND BLADE ASSEMBLY RH Installation

32. INSTALL FRONT WIPER ARM HEAD CAP Installation

33. INSTALL FRONT OUTER BODY PILLAR ASSEMBLY LH Installation

34. INSTALL ROOF DRIP SIDE FINISH MOULDING LH Installation

35. INSTALL FRONT OUTER BODY PILLAR ASSEMBLY RH

HINT
Use the same procedure for the RH side and the LH side.

36. INSTALL ROOF DRIP SIDE FINISH MOULDING RH

HINT
Use the same procedure for the RH side and the LH side.

37. INSTALL FRONT UPPER FENDER PROTECTOR LH Installation

38. INSTALL FRONT UPPER FENDER PROTECTOR RH

HINT
Use the same procedure for the RH side and the LH side.

39. INSTALL ENGINE ROOM SIDE COVER LH Installation

40. INSTALL ENGINE ROOM SIDE COVER RH Installation

41. INSTALL COOL AIR INTAKE DUCT SEAL Installation