Curiosii for ever!: Car repair manuals for everyone.

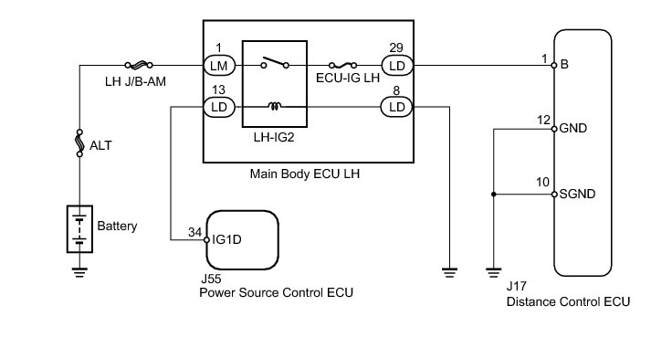
Distance Control ECU Power Source Circuit





CRUISE CONTROL: DYNAMIC RADAR CRUISE CONTROL SYSTEM: Distance Control ECU Power Source Circuit
- Distance Control ECU Power Source Circuit

DESCRIPTION

This circuit provides power to operate the distance control ECU. The distance control ECU determines information about the vehicle in front based on data from the millimeter wave radar sensor assembly, and then decides how much acceleration or deceleration is needed to maintain the set distance. The distance control ECU also requests the skid control ECU to apply braking and to sound the buzzer.

WIRING DIAGRAM





INSPECTION PROCEDURE

NOTICE:
Inspect the fuses for circuits related to this system before performing the following inspection procedure.

PROCEDURE

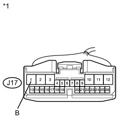
1. CHECK DISTANCE CONTROL ECU (B VOLTAGE)

(a) Disconnect the distance control ECU connector.





(b) Turn the engine switch on (IG).

(c) Measure the voltage according to the value(s) in the table below.

Standard Voltage:





Text in Illustration





(d) Reconnect the distance control ECU connector.

NG -- INSPECT MAIN BODY ECU LH (LH-IG2 RELAY)
OK -- Continue to next step.

2. CHECK HARNESS AND CONNECTOR (DISTANCE CONTROL ECU - BODY GROUND)

(a) Disconnect the distance control ECU connector.

(b) Measure the resistance according to the value(s) in the table below.





Standard Resistance:





Text in Illustration





(c) Reconnect the distance control ECU connector.

NG -- REPAIR OR REPLACE HARNESS OR CONNECTOR (DISTANCE CONTROL ECU - BODY GROUND)

OK -- PROCEED TO NEXT SUSPECTED AREA SHOWN IN PROBLEM SYMPTOMS TABLE Dynamic Radar Cruise Control System

3. INSPECT MAIN BODY ECU LH (LH-IG2 RELAY)

(a) Disconnect the main body ECU LH connectors.





(b) Measure the resistance according to the value(s) in the table below.

Standard Resistance:





Text in Illustration





(c) Reconnect the main body ECU LH connectors.

NG -- REPLACE MAIN BODY ECU LH (LH-IG2 RELAY)
OK -- Continue to next step.

4. CHECK HARNESS AND CONNECTOR (DISTANCE CONTROL ECU - MAIN BODY ECU LH)

(a) Disconnect main body ECU LH connector.





(b) Disconnect the distance control ECU connector.

(c) Measure the resistance according to the value(s) in the table below.

Standard Resistance (Check for Open):





Standard Resistance (Check for short):





Text in Illustration





(d) Reconnect the main body ECU LH connector.

(e) Reconnect the distance control ECU connector.

NG -- REPAIR OR REPLACE HARNESS OR CONNECTOR (DISTANCE CONTROL ECU - MAIN BODY ECU LH)
OK -- Continue to next step.

5. CHECK HARNESS AND CONNECTOR (LH-IG2 RELAY POWER SOURCE)

(a) Disconnect main body ECU LH connector.





(b) Measure the voltage according to the value(s) in the table below.

Standard Voltage:





Text in Illustration





(c) Reconnect the main body ECU LH connector.

NG -- REPAIR OR REPLACE HARNESS OR CONNECTOR (MAIN BODY ECU LH - BATTERY)
OK -- Continue to next step.

6. CHECK HARNESS AND CONNECTOR (MAIN BODY ECU LH - BODY GROUND)

(a) Disconnect main body ECU LH connector.





(b) Measure the resistance according to the value(s) in the table below.

Standard Resistance (Check for Open):





Text in Illustration





(c) Reconnect the main body ECU LH connector.

NG -- REPAIR OR REPLACE HARNESS OR CONNECTOR (MAIN BODY ECU LH - BODY GROUND)
OK -- Continue to next step.

7. CHECK HARNESS AND CONNECTOR (MAIN BODY ECU LH - POWER SOURCE CONTROL ECU)

(a) Disconnect the main body ECU LH connector.





(b) Disconnect the power source control ECU connector.

(c) Measure the resistance according to the value(s) in the table below.

Standard Resistance (Check for Open):





Standard Resistance (Check for Short):





Text in Illustration





(d) Reconnect the main body ECU LH connector.

(e) Reconnect the power source control ECU connector.

NG -- REPAIR OR REPLACE HARNESS OR CONNECTOR (MAIN BODY ECU LH - POWER SOURCE CONTROL ECU)

OK -- GO TO SMART ACCESS SYSTEM WITH PUSH-BUTTON START