Curiosii for ever!: Car repair manuals for everyone.

Door Oscillator Circuit





DOOR LOCK: SMART ACCESS SYSTEM WITH PUSH-BUTTON START: Door Oscillator Circuit
- Door Oscillator Circuit

DESCRIPTION

Door oscillators are built into each door. Each of them forms its own action area around its door and detects the presence of the electrical key.

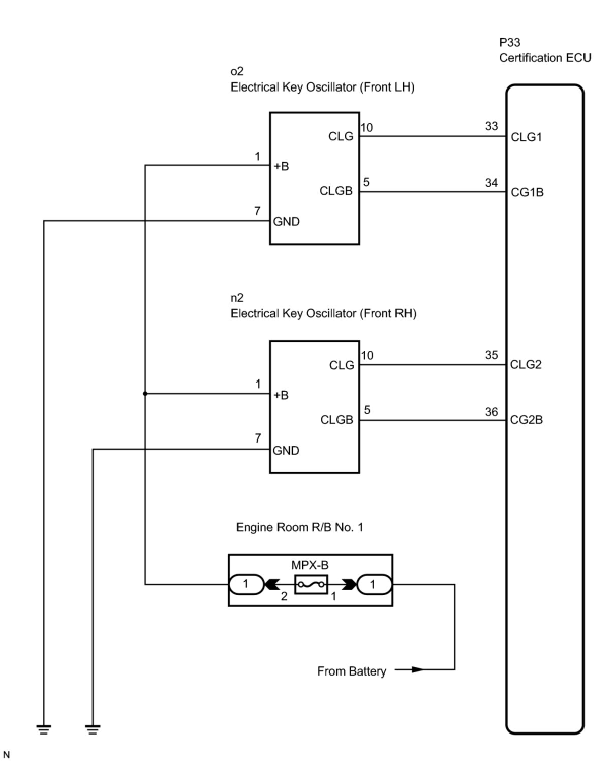
WIRING DIAGRAM





INSPECTION PROCEDURE

PROCEDURE

1. INSPECT ELECTRICAL KEY OSCILLATOR

(a) Disconnect the oscillator connectors.





(b) Measure the voltage according to the value(s) in the table below.

Standard voltage:

Front LH side
Front RH side










NG -- REPAIR OR REPLACE HARNESS OR CONNECTOR
OK -- Continue to next step.

2. CHECK HARNESS AND CONNECTOR (ELECTRICAL KEY OSCILLATOR - CERTIFICATION ECU)

(a) Disconnect the P33 ECU connector.





Standard resistance:





NG -- REPAIR OR REPLACE HARNESS OR CONNECTOR
OK -- Continue to next step.

3. CHECK AND REPLACE ELECTRICAL KEY OSCILLATOR (CHECK OPERATION OF OSCILLATOR)

(a) Replace the door oscillator.

(b) Check that the entry LOCK/UNLOCK function operates normally.

OK:

Entry LOCK/UNLOCK function operates normally.

OK -- END (ELECTRICAL KEY OSCILLATOR IS DEFECTIVE)
NG -- Continue to next step.

4. PERFORM ACTIVE TEST USING TECHSTREAM (CERTIFICATION ECU OUTPUT SIGNAL)

(a) Reconnect the ECU and the oscillator connectors.





(b) Connect the Techstream to the DLC3.

(c) Turn the engine switch on (IG).

(d) Following the display on the tester, select the "Active Test".

Smart Key (Certification ECU):

Smart Key (Certification ECU)::





(e) Measure the frequency according to the value(s) in the table below.

Standard:





NG -- REPLACE CERTIFICATION ECU

OK -- PROCEED TO NEXT CIRCUIT INSPECTION SHOWN IN PROBLEM SYMPTOMS TABLE