Curiosii for ever!: Car repair manuals for everyone.

CAN Communication System





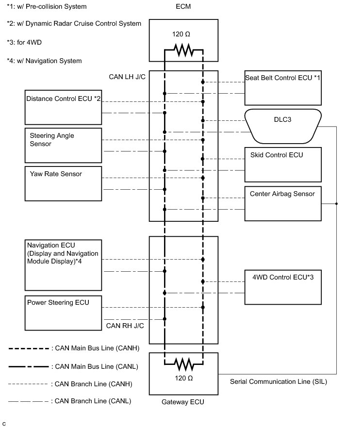
CAN COMMUNICATION: CAN COMMUNICATION SYSTEM: SYSTEM DIAGRAM





HINT
* The skid control ECU detects and stores steering angle sensor and yaw rate sensor DTCs, and performs DTC communication by receiving information from the steering angle sensor and yaw rate sensor.
* The ECM detects and stores distance control ECU DTCs, and performs DTC communication by receiving information from the distance control ECU.





SYSTEM DESCRIPTION

1. BRIEF DESCRIPTION

(a) The Controller Area Network (CAN) is a serial data communication system for real time application. It is a vehicle multiplex communication system which has a high communication speed (500 kbps) and the ability to detect malfunctions.

(b) By pairing the CANH and CANL bus lines, the CAN performs communication based on differential voltage.

(c) Many ECUs (sensors) installed on the vehicle operate by sharing information and communicating with each other.

(d) The CAN has two resistors of 120 Ohms which are necessary to communicate with the main bus line.

2. DEFINITION OF TERMS

(a) Main bus line

(1) The main bus line is a wire harness between the two terminating resistors on the bus (communication line). This is the main bus in the CAN communication system.

(b) Branch line

(1) The branch line is a wire harness which diverges from the main bus line to an ECU or sensor.

(c) Terminating resistors

(1) Two resistors of 120 Ohms resistance are installed in parallel across the ends of the CAN main bus lines. They are called terminating resistors. These resistors allow the changes of the voltage differential between the CAN bus lines to be accurately judged. To allow proper function of CAN communication, it is necessary to have both terminating resistors installed. Since the two resistors are installed in parallel, a measurement of resistance between the two CAN bus lines should produce a reading of approximately 60 Ohms.

3. ECUS OR SENSORS WHICH COMMUNICATE THROUGH CAN COMMUNICATION SYSTEM

(a) Skid control ECU

(b) Yaw rate sensor

(c) Steering angle sensor

(d) Seat belt control ECU*1

(e) Distance control ECU*2

(f) Center airbag sensor

(g) ECM

(h) Gateway ECU

(i) Power steering ECU

(j) 4WD control ECU*3

(k) Navigation ECU (Display and Navigation Module Display)*4

HINT
* *1: w/ Pre-collision System
* *2: w/ Dynamic Radar Cruise Control System
* *3: for 4WD
* *4: w/ Navigation System
4. DIAGNOSTIC CODE FOR CAN COMMUNICATION SYSTEM

(a) DTCs for the CAN communication system are as follows: U0073, U0100, U0105, U0121, U0122, U0123, U0124, U0126, U0129, U0146, U0151, U0235 and U1101.

5. TROUBLESHOOTING REMARKS

(a) DTCs for the CAN communication system can be checked using the Techstream. The DLC3 is connected to the CAN communication system, but no DTCs exist regarding problems in the DLC3 or the DLC3 branch lines. If there is trouble in the DLC3 or the DLC3 branch lines, ECUs on the CAN communication system output codes to the Techstream.

(b) Trouble in the CAN buses (communication lines) can be checked by measuring the resistance between terminals of the DLC3. However, an open circuit in a branch line other than the DLC3 branch lines cannot be checked from the DLC3.

NOTICE:
Do not insert the tester probes directly into the DLC3. Be sure to use service wires.

6. HOW TO DISTINGUISH THE CAN J/C CONNECTOR

(a) In the CAN communication system, the shape of all connectors connected to the CAN J/C is the same. The connectors connected to the CAN J/C can be distinguished by the colors of the bus line and the connecting side of the junction connector.

HINT
See "Terminals of ECU" CAN Communication System for bus line color or the type of connecting surface.