Curiosii for ever!: Car repair manuals for everyone.

VC Output Circuit





2GR-FSE ENGINE CONTROL SYSTEM: SFI SYSTEM: VC Output Circuit
- VC Output Circuit

DESCRIPTION

The ECM constantly generates 5 V power from the battery voltage supplied to the +B (BATT) terminal to operate the microprocessor. The ECM also provides this power to the sensors through the VC output circuit.





When the VC circuit is short-circuited, the microprocessor in the ECM and sensors that are supplied power through the VC circuit are inactivated because the power is not supplied from the VC circuit. Under this condition, the system does not start up and the MIL does not illuminate even if the system malfunctions.

HINT
Under normal conditions, the MIL is illuminated for several seconds when the engine switch is first turned on (IG). The MIL goes off when the engine is started.

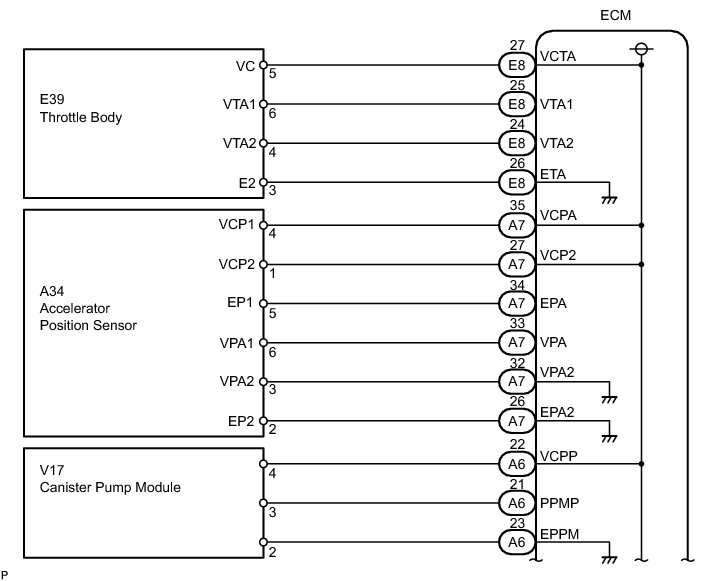
WIRING DIAGRAM











PROCEDURE

1. CHECK MIL

(a) Check that the Malfunction Indicator Lamp (MIL) lights up when turning the engine switch on (IG).

OK:

MIL lights up.

OK -- END
NG -- Continue to next step.

2. CHECK CONNECTION BETWEEN TECHSTREAM AND ECM

(a) Connect the Techstream to the DLC3.

(b) Turn the engine switch on (IG) and the Techstream on.

(c) Check the communication between the Techstream and ECM.

Result:





A -- GO TO MIL CIRCUIT
B -- Continue to next step.

3. CHECK THROTTLE BODY ASSEMBLY (CHECK MIL ILLUMINATED)

(a) Disconnect the E39 throttle body connector.

(b) Turn the engine switch on (IG).

(c) Check the MIL.

Result:





A -- REPLACE THROTTLE BODY ASSEMBLY
B -- Continue to next step.

4. CHECK ACCELERATOR PEDAL ASSEMBLY (CHECK MIL ILLUMINATED)

(a) Disconnect the A34 accelerator pedal position sensor connector.

(b) Turn the engine switch on (IG).

(c) Check the MIL.

Result:





A -- REPLACE ACCELERATOR PEDAL ASSEMBLY
B -- Continue to next step.

5. CHECK VVT SENSOR FOR INTAKE SIDE BANK 1 (CHECK MIL ILLUMINATED)

(a) Disconnect the E50 VVT sensor for intake side bank 1 connector.

(b) Turn the engine switch on (IG).

(c) Check the MIL.

Result:





A -- REPLACE VVT SENSOR FOR INTAKE SIDE BANK 1
B -- Continue to next step.

6. CHECK VVT SENSOR FOR EXHAUST SIDE BANK 1 (CHECK MIL ILLUMINATED)

(a) Disconnect the E58 VVT sensor for exhaust side bank 1 connector.

(b) Turn the engine switch on (IG).

(c) Check the MIL.

Result:





A -- REPLACE VVT SENSOR FOR EXHAUST SIDE BANK 1
B -- Continue to next step.

7. CHECK VVT SENSOR FOR INTAKE SIDE BANK 2 (CHECK MIL ILLUMINATED)

(a) Disconnect the E60 VVT sensor for intake side bank 2 connector.

(b) Turn the engine switch on (IG).

(c) Check the MIL.

Result:





A -- REPLACE VVT SENSOR FOR INTAKE SIDE BANK 2
B -- Continue to next step.

8. CHECK VVT SENSOR FOR EXHAUST SIDE BANK 2 (CHECK MIL ILLUMINATED)

(a) Disconnect the E66 VVT sensor for exhaust side bank 2 connector.

(b) Turn the engine switch on (IG).

(c) Check the MIL.

Result:





A -- REPLACE VVT SENSOR FOR EXHAUST SIDE BANK 2
B -- Continue to next step.

9. CHECK FUEL PRESSURE SENSOR (CHECK MIL ILLUMINATED)

(a) Disconnect the E72 fuel pressure sensor connector.

(b) Turn the engine switch on (IG).

(c) Check the MIL.

Result:





A -- REPLACE FUEL PRESSURE SENSOR
B -- Continue to next step.

10. CHECK CANISTER ASSEMBLY (CHECK MIL ILLUMINATED)

(a) Disconnect the V17 canister pump module connector.

(b) Turn the engine switch on (IG).

(c) Check the MIL.

Result:





A -- REPLACE CANISTER ASSEMBLY
B -- Continue to next step.

11. CHECK HARNESS AND CONNECTOR

(a) Disconnect the E39 throttle body connector.





(b) Disconnect the A34 accelerator pedal position sensor connector.

(c) Disconnect the E50 VVT sensor for intake side bank 1 connector.

(d) Disconnect the E58 VVT sensor for exhaust side bank 1 connector.

(e) Disconnect the E60 VVT sensor for intake side bank 2 connector.

(f) Disconnect the E66 VVT sensor for exhaust side bank 2 connector.

(g) Disconnect the E72 fuel pressure sensor connector.

(h) Disconnect the V17 canister pump module connector.

(i) Disconnect the E8, E45, A7 and A6 ECM connectors.

(j) Measure the resistance according to the value(s) in the table below.

Standard resistance (Check for short):





(k) Reconnect the throttle body connector.

(l) Reconnect the accelerator pedal position sensor connector.

(m) Reconnect the VVT sensor for intake side bank 1 connector.

(n) Reconnect the VVT sensor for exhaust side bank 1 connector.

(o) Reconnect the VVT sensor for intake side bank 2 connector.

(p) Reconnect the VVT sensor for exhaust side bank 2 connector.

(q) Reconnect the fuel pressure sensor connector.

(r) Reconnect the canister pump module connector.

(s) Reconnect the ECM connectors.

NG -- REPAIR OR REPLACE HARNESS OR CONNECTOR

OK -- REPLACE ECM