Curiosii for ever!: Car repair manuals for everyone.

Fuse Block

Engine Room R/B No.1, J/B No.1 - Near the Battery:






Engine Room R/B No.1, J/B No.1 - Near the Battery:






Engine Room R/B No.2, J/B No.2 - Engine Compartment Left:






Engine Room R/B No.2, J/B No.2 - Engine Compartment Left:






Cowl Side J/B LH - Cowl Side Left:






Cowl Side J/B LH - Cowl Side Left:






Cowl Side J/B LH - Cowl Side Left:






Cowl Side J/B RH - Cowl Side Right:






Cowl Side J/B RH - Cowl Side Right:






Cowl Side J/B RH - Cowl Side Right:






Center J/B LH - Upper the Glove Box:






Center J/B RH - Upper the Glove Box:






Luggage Room J/B - Luggage Room Left:






Luggage Room J/B - Luggage Room Left:






Luggage Room J/B - Luggage Room Left:






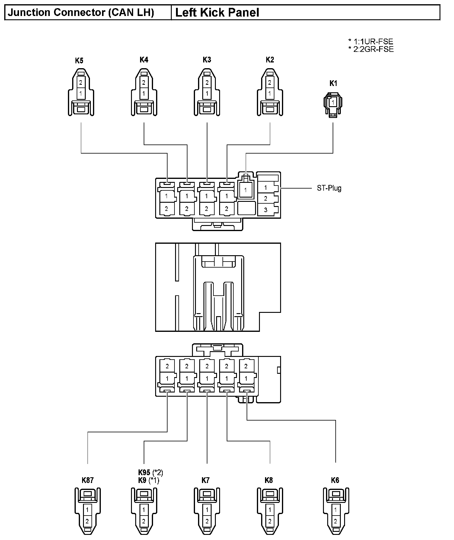
Junction Connector (CAN LH) - Left Kick Panel:






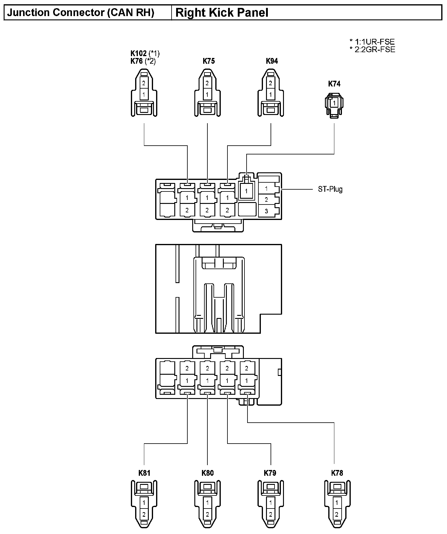
Junction Connector (CAN RH) - Right Kick Panel:






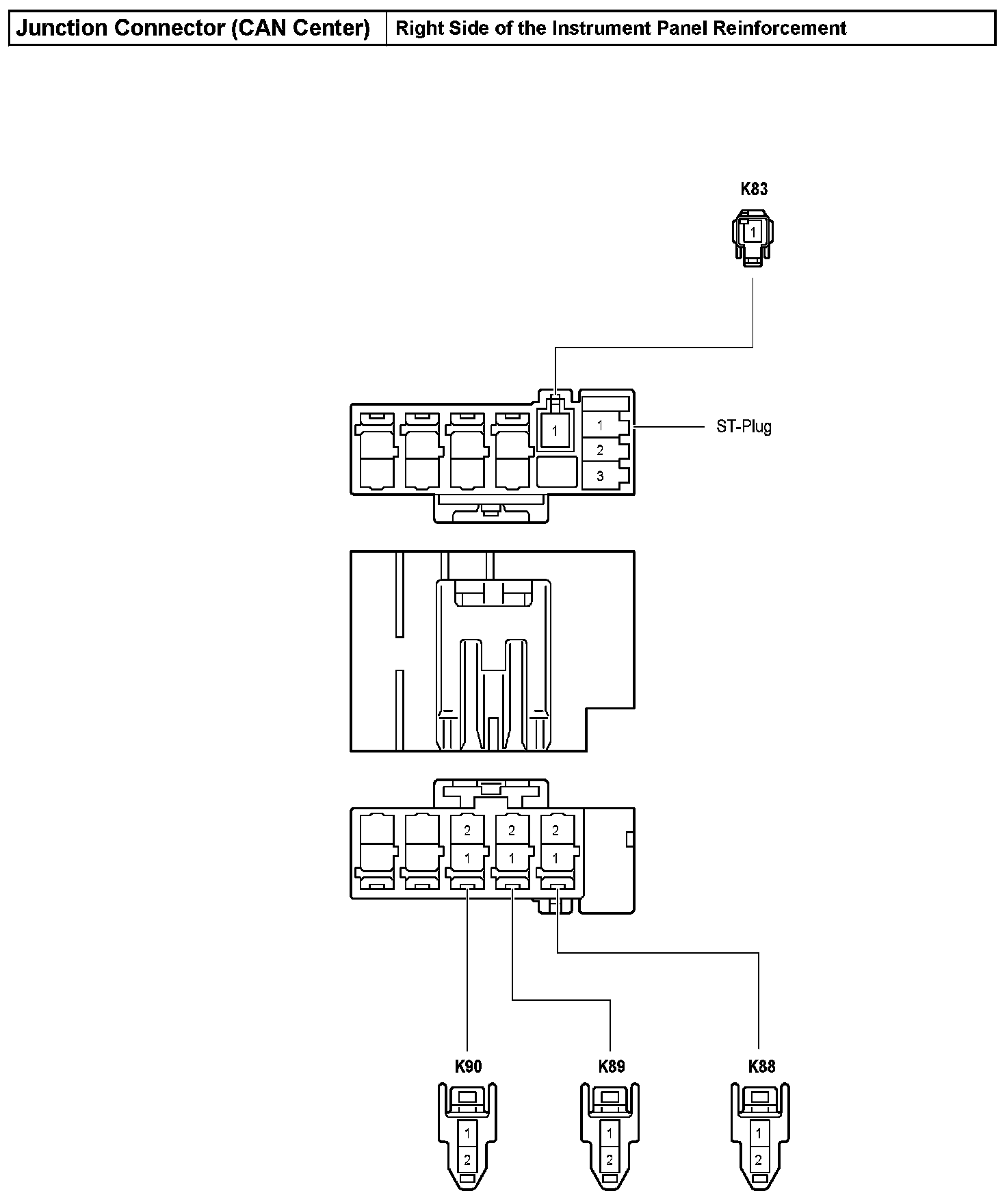
Junction Connector (CAN Center) - Right Side of the Instrument Panel Reinforcement:






Junction Connector (CAN Luggage LH) - Luggage Room Left:






Junction Connector (CAN Luggage RH) - Luggage Room Right: