Curiosii for ever!: Car repair manuals for everyone.

Steering Pad Switch Circuit





NAVIGATION: NAVIGATION SYSTEM (for HDD): Steering Pad Switch Circuit
- Steering Pad Switch Circuit

DESCRIPTION

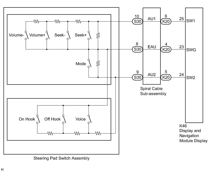
This circuit sends an operation signal from the steering pad switch assembly to the display and navigation module display.

If there is an open in the circuit, the navigation system cannot be operated using the steering pad switch assembly.

If there is a short in the circuit, the resulting condition is the same as if the switch were continuously pressed. Therefore, the display and navigation module display cannot be operated using the steering pad switch assembly, and the display and navigation module display itself cannot function.

WIRING DIAGRAM







NOTICE:
The vehicle is equipped with a Supplemental Restraint System (SRS). Before servicing (including removal or installation of parts), be sure to read Precaution for Supplemental Restraint System Service Precautions.

PROCEDURE

1. CHECK HARNESS AND CONNECTOR (STEERING PAD SWITCH SIGNAL)

(a) Disconnect the K46 display and navigation module display connector.

(b) Measure the resistance according to the value(s) in the table below.

Standard Resistance:





NG -- CHECK HARNESS AND CONNECTOR

OK -- PROCEED TO NEXT SUSPECTED AREA SHOWN IN PROBLEM SYMPTOMS TABLE Problem Symptoms Table

2. CHECK HARNESS AND CONNECTOR

(a) Disconnect the K46 display and navigation module display connector.

(b) Disconnect the K20 spiral cable sub-assembly connector.

(c) Measure the resistance according to the value(s) in the table below.

Standard Resistance:





NG -- REPAIR OR REPLACE HARNESS OR CONNECTOR
OK -- Continue to next step.

3. INSPECT SPIRAL CABLE SUB-ASSEMBLY

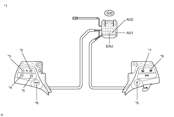
(a) Disconnect the steering pad switch assembly and spiral cable sub-assembly connectors.





(b) Measure the resistance according to the value(s) in the table below.

Standard Resistance:





NOTICE:
The spiral cable sub-assembly is an important part of the SRS airbag system. Incorrect removal or installation of the spiral cable sub-assembly may prevent the airbag from deploying. Refer to the pages shown in the brackets.

HINT
* Removal Removal
* Installation Installation

Text in Illustration





NG -- REPLACE SPIRAL CABLE SUB-ASSEMBLY Removal
OK -- Continue to next step.

4. INSPECT STEERING PAD SWITCH ASSEMBLY

(a) Disconnect the S30 steering pad switch assembly connector.





(b) Measure the resistance according to the value(s) in the table below.

Standard Resistance:





Text in Illustration





NG -- REPLACE STEERING PAD SWITCH ASSEMBLY

OK -- USE SIMULATION METHOD TO CHECK How To Proceed With Troubleshooting