Curiosii for ever!
: Car repair manuals for everyone.
Home
>>
Lexus
>>
2010
>>
ES 350 V6-3.5L (2GR-FE)
>>
Repair and Diagnosis
>>
Cruise Control
>>
Description and Operation
>>
Cruise Control System
>>
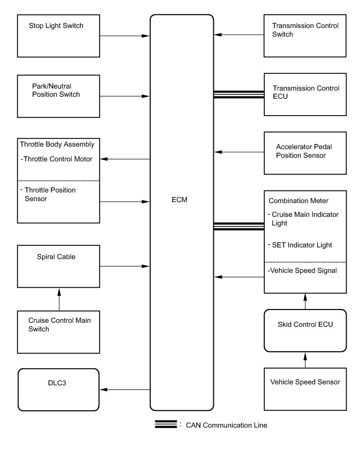
System Diagram
System Diagram
CRUISE CONTROL
: CRUISE CONTROL SYSTEM: SYSTEM DIAGRAM
Communication Table:
Communication Table::