Curiosii for ever!: Car repair manuals for everyone.

Starter Motor: Testing and Inspection








3UZ-FE STARTING: STARTER: INSPECTION

INSPECTION

1. INSPECT STARTER ASSEMBLY
NOTE:
These tests must be performed within 3 to 5 seconds to prevent the coil from burning out.

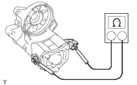
(a) Perform pull-in/holding test.
(1) Remove the nut and disconnect the lead wire from terminal C.
(2) Connect the battery to the magnetic switch as shown in the illustration. Then check that the clutch pinion gear moves outward.




(3) With the battery connected as above and the clutch pinion gear out, disconnect the negative (-) lead from terminal C. Check that the pinion gear remains out.




(4) Disconnect the negative (-) lead from the starter body. Check that the clutch pinion gear returns inward.





If the result is not as specified, repair or replace the starter assembly.
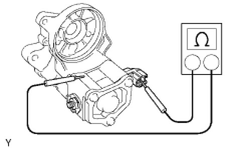
(b) Perform operation test without load.
(1) Connect the lead wire to terminal C with the nut.
Torque: 5.9 Nm (60 kgf-cm, 52 in-lbf)
(2) Mount the starter in a vise.
(3) Connect the battery and ammeter to the starter as shown in the illustration.
(4) Check that the starter rotates smoothly and steadily while the pinion gear is moving outward. Then measure the current.
Standard current:
100 A or less at 11.5 V





If the result is not as specified, repair or replace the starter assembly.
2. INSPECT STARTER ARMATURE ASSEMBLY
(a) Check the commutator surface for contamination and burns.
If the surface is dirty or burnt, correct it with sandpaper (#400) or a lathe.





(b) Check that the commutator does not have an open circuit.
(1) Measure the resistance between the segments of the commutator.
Standard resistance:
Below 1 Ohms
If the result is not as specified, replace the armature assembly.





(c) Check that the commutator is not grounded.
(1) Measure the resistance between the commutator and armature coil core.
Standard resistance:
10 kOhms or higher
If the result is not as specified, replace the armature assembly.





(d) Check the commutator circle runout.
(1) Place the armature on the V-blocks.
(2) Using a dial gauge, measure the circle runout.
Maximum circle runout:
0.05 mm (0.0020 in.)
If the circle runout is greater than the maximum, correct it with sandpaper (#400) or replace the armature assembly.





(e) Using a vernier caliper, measure the commutator diameter.
Standard diameter:
35.0 mm (1.378 in.)
Minimum diameter:
34.0 mm (1.339 in.)
If the diameter is less than the minimum, replace the armature assembly.





(f) Measure the undercut depth of the commutator.
Standard depth:
0.7 mm (0.028 in.)
Minimum depth:
0.2 mm (0.008 in.)
If the undercut depth is less than the minimum, correct it with a hacksaw blade.
(g) Check that the bearings rotate smoothly.
OK:
Rotate smoothly
If necessary, replace the armature assembly.
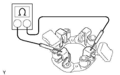
3. INSPECT STARTER YOKE ASSEMBLY





(a) Check the field coil resistance.
(1) Using an ohmmeter, measure the resistance between the lead wire and both brushes.
Standard resistance:
Below 1 Ohms
If the result is not as specified, replace the starter yoke assembly.





(b) Inspect the shunt coil resistance.
(1) Measure the resistance between the shunt coil terminals.
Standard resistance:
1.5 to 1.9 Ohms at 20°C (68°F)
If the result is not as specified, replace the starter yoke assembly.
4. INSPECT BRUSH





(a) Using a vernier caliper, measure the length of the brushes.
Standard brush length:
15.0 mm (0.591 in.)
Minimum brush length:
9.0 mm (0.354 in.)
If the length is less than the minimum, replace the brush holder assembly and starter yoke assembly.
5. INSPECT STARTER BRUSH HOLDER ASSEMBLY





(a) Check the brush insulation.
(1) Check the resistance between the positive (+) and negative (-) brush holders.
Standard resistance:
10 kOhms or higher
If the result is not as specified, repair or replace the end frame assembly.





(b) Using a pull scale, measure the brush spring load.
Standard spring load:
21.5 to 27.5 N (2.2 to 2.8 kgf, 4.9 to 6.2 lbf)
Minimum spring load:
12.7 N (1.3 kgf, 2.9 lbf)
If the spring load is less than the minimum, replace the brush springs.
6. INSPECT STARTER CLUTCH SUB-ASSEMBLY





(a) Check that the starter clutch can rotate clockwise, but cannot rotate counterclockwise.
If the starter clutch does not operate as specified, replace it.
7. INSPECT MAGNET STARTER SWITCH ASSEMBLY





(a) Check that the pull-in coil does not have an open circuit.
(1) Measure the resistance between terminals 50 and C.
Standard resistance:
Below 1 Ohms
If the result is not as specified, replace the magnetic switch assembly.





(b) Check that the hold-in coil does not have an open circuit.
(1) Measure the resistance between terminal 50 and the switch body.
Standard resistance:
Below 2 Ohms
If the result is not as specified, replace the magnetic switch assembly.