Curiosii for ever!: Car repair manuals for everyone.

Heated Oxygen Sensor (For Sensor 2)








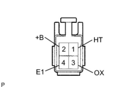
3UZ-FE EMISSION CONTROL: HEATED OXYGEN SENSOR (for Sensor 2): INSPECTION

INSPECTION

1. INSPECT HEATED OXYGEN SENSOR





(a) Measure the resistance of the sensor.
Standard resistance:





If the resistance is not as specified, replace the sensor.