Curiosii for ever!: Car repair manuals for everyone.

Part 2








CAN COMMUNICATION: CAN COMMUNICATION SYSTEM: TERMINALS OF ECU

TERMINALS OF ECU (Continued)

23. CHECK PARKING ASSIST ECU
HINT: For vehicles with advanced parking guidance system and intuitive parking assist system only.





(a) Disconnect the L90 ECU connector.
(b) Measure the resistance according to the value(s) in the table below.






24. CHECK CLEARANCE WARNING ECU
HINT: For vehicles with intuitive parking assist system only.





(a) Disconnect the L19 ECU connector.
(b) Measure the resistance according to the value(s) in the table below.






25. CHECK FRONT CONTROLLER





(a) Disconnect the A50 controller connector.
(b) Measure the resistance according to the value(s) in the table below.






26. CHECK OUTER MIRROR SWITCH





(a) Disconnect the L6 switch connector.
(b) Measure the resistance according to the value(s) in the table below.






27. CHECK STEERING PAD ECU (STEERING PAD SWITCH)
HINT: As there is a spiral cable between the steering pad ECU and the vehicle harness connector, a direct inspection of the steering pad ECU side of the vehicle harness connector cannot be performed.





(a) Disconnect the L24 cable connector.
(b) Measure the resistance according to the value(s) in the table below.






28. CHECK MULTIPLEX TILT AND TELESCOPIC ECU





(a) Disconnect the L34 ECU connector.
(b) Measure the resistance according to the value(s) in the table below.






29. CHECK CERTIFICATION ECU





(a) Disconnect the L15 ECU connector.
(b) Measure the resistance according to the value(s) in the table below.






30. CHECK FRONT MULTIPLEX NETWORK DOOR ECU LH





(a) Disconnect the N10 ECU connector.
(b) Measure the resistance according to the value(s) in the table below.






31. CHECK FRONT MULTIPLEX NETWORK DOOR ECU RH





(a) Disconnect the N1 ECU connector.
(b) Measure the resistance according to the value(s) in the table below.






32. CHECK REAR MULTIPLEX NETWORK DOOR ECU LH





(a) Disconnect the O14 ECU connector.
(b) Measure the resistance according to the value(s) in the table below.






33. CHECK REAR MULTIPLEX NETWORK DOOR ECU RH





(a) Disconnect the O3 ECU connector.
(b) Measure the resistance according to the value(s) in the table below.






34. CHECK FRONT POWER SEAT ECU AND SWITCH LH





(a) Disconnect the e45 and e46 switch connectors.
(b) Measure the resistance according to the value(s) in the table below.






35. CHECK FRONT POWER SEAT ECU AND SWITCH RH
HINT: For vehicles with rear power seat control system only.





(a) Disconnect the e18 and e20 switch connectors.
(b) Measure the resistance according to the value(s) in the table below.






36. CHECK REAR POWER SEAT MODULE SWITCH
HINT: For vehicles with rear power seat control system or seat heater system and rear power seat control system (W/ Ottoman).





(a) Disconnect the r2*1 and S15*2 switch connectors.
(b) Measure the resistance according to the value(s) in the table below.





HINT:
- *1: W/O Ottoman
- *2: W/ Ottoman

37. CHECK COMBINATION SWITCH





(a) Disconnect the L25 switch connector.
(b) Measure the resistance according to the value(s) in the table below.






38. CHECK POWER TRUNK LID CONTROL ECU
HINT: For vehicles with power trunk lid system only.





(a) Disconnect the S43 ECU connector.
(b) Measure the resistance according to the value(s) in the table below.






39. CHECK REAR JUNCTION BLOCK ECU (LUGGAGE ROOM JUNCTION BLOCK)





(a) Disconnect the S62 ECU connector.
(b) Disconnect the LA and LD junction block connectors.
(c) Measure the resistance according to the value(s) in the table below.






40. CHECK TIRE PRESSURE WARNING ECU





(a) Disconnect the L89 connector.
(b) Measure the resistance according to the value(s) in the table below.






41. CHECK FRONT MILLIMETER WAVE RADAR SENSOR
HINT: For vehicles with dynamic radar cruise control system or pre-collision system only.





(a) Disconnect the B9 sensor connector.
(b) Measure the resistance according to the value(s) in the table below.






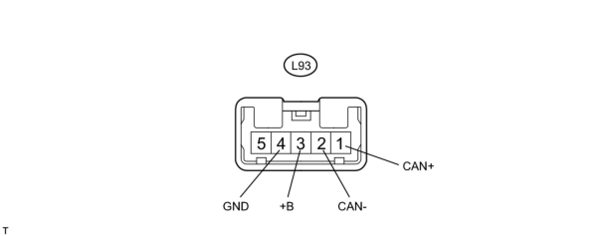
42. CHECK BUS BUFFER ECU
HINT: For vehicles with LEXUS link system only.





(a) Disconnect the L93 ECU connector.
(b) Measure the resistance according to the value(s) in the table below.






43. CHECK TCM





(a) Disconnect the A12 and E5 TCM connectors.
(b) Measure the resistance according to the value(s) in the table below.