Curiosii for ever!: Car repair manuals for everyone.

Rear Door RH Entry Lock and Unlock Functions do not Operate








DOOR LOCK: SMART ACCESS SYSTEM WITH PUSH-BUTTON START: Rear Door RH Entry Lock and Unlock Functions do not Operate

Rear Door RH Entry Lock and Unlock Functions do not Operate

DESCRIPTION

When the rear door RH entry lock and unlock functions do not operate, one of the following may be malfunctioning: 1) power door lock system, 2) rear door RH electrical key oscillator, or 3) certification ECU.

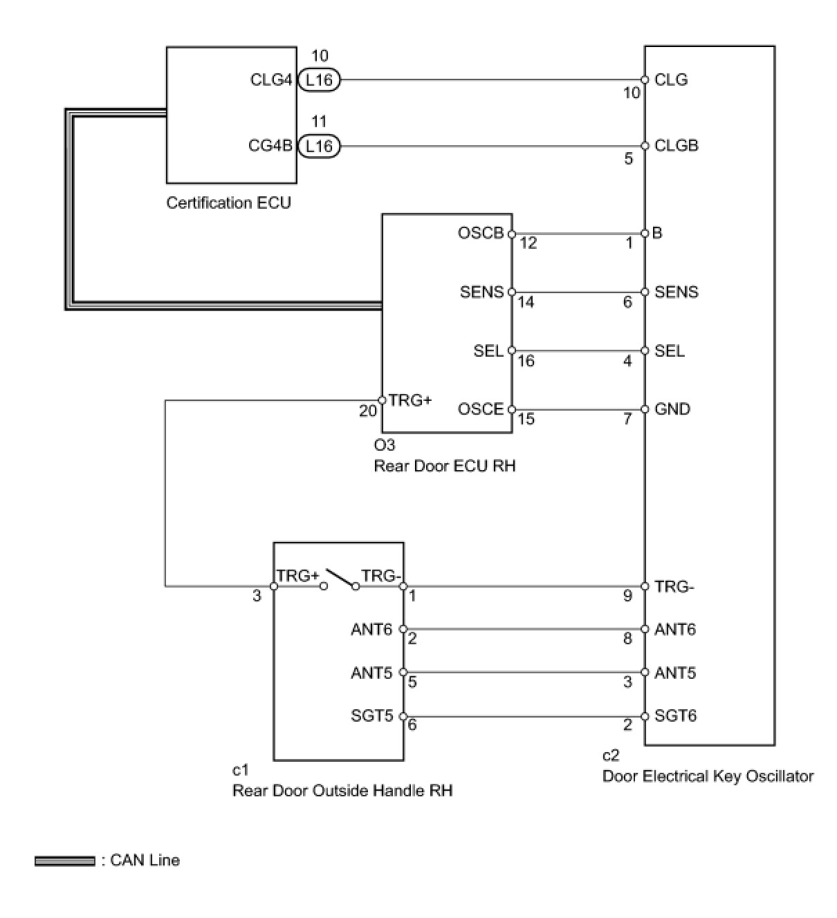
WIRING DIAGRAM





INSPECTION PROCEDURE

PROCEDURE

1. CHECK POWER DOOR LOCK OPERATION
(a) When the master switch assembly's door control switch is operated, check that the locked doors unlock.

Result





NG -- GO TO POWER DOOR LOCK CONTROL SYSTEM
OK -- Continue to next step.

2. READ VALUE USING TECHSTREAM
(a) Using the Techstream, read the Data List.

Rear Right Door (Rear door ECU RH)





Result





B -- CHECK WAVE ENVIRONMENT
A -- Continue to next step.

3. CHECK REAR DOOR ECU RH




(a) Measure the voltage according to the value(s) in the table below.
Standard voltage:






NG -- REPLACE REAR DOOR ECU RH
OK -- Continue to next step.

4. CHECK HARNESS AND CONNECTOR (DOOR ELECTRICAL KEY OSCILLATOR - REAR DOOR ECU RH)




(a) Disconnect the c2 oscillator connector.
(b) Disconnect the O3 ECU connector.
(c) Measure the resistance according to the value(s) in the table below.
Standard resistance:






NG -- REPAIR OR REPLACE HARNESS OR CONNECTOR
OK -- Continue to next step.

5. CHECK HARNESS AND CONNECTOR (DOOR ELECTRICAL KEY OSCILLATOR - REAR DOOR OUTSIDE HANDLE RH)




(a) Disconnect the c1 handle connector.
(b) Disconnect the c2 oscillator connector.
(c) Measure the resistance according to the value(s) in the table below.
Standard resistance:






NG -- REPAIR OR REPLACE HARNESS OR CONNECTOR
OK -- Continue to next step.

6. CHECK HARNESS AND CONNECTOR (REAR DOOR ECU RH - REAR DOOR OUTSIDE HANDLE RH)




(a) Disconnect the c1 handle connector.
(b) Disconnect the O3 ECU connector.
(c) Measure the resistance according to the value(s) in the table below.
Standard resistance:






NG -- REPAIR OR REPLACE HARNESS OR CONNECTOR
OK -- Continue to next step.

7. CHECK DOOR ELECTRICAL KEY OSCILLATOR (OPERATION)
(a) Replace the door electrical key oscillator with a new one or normally functioning one Components.
(b) Check that the entry function operates normally.
OK:
Operates normally
NG -- CHECK REAR DOOR OUTSIDE HANDLE RH (OPERATION)
OK -- END (DOOR ELECTRICAL KEY OSCILLATOR IS DEFECTIVE)
8. CHECK REAR DOOR OUTSIDE HANDLE RH (OPERATION)
(a) Replace the rear door outside handle RH with a new one or normally functioning one Removal.
(b) Check that the entry function operates normally.
OK:
Operates normally
NG -- REPLACE REAR DOOR ECU RH
OK -- END (REAR DOOR OUTSIDE HANDLE RH IS DEFECTIVE)
9. CHECK WAVE ENVIRONMENT




(a) Bring the electrical key transmitter near the rear right door outside handle, and perform a rear right door entry lock and unlock operation check.
NOTE:
If the key is brought within 0.2 m (0.6 ft.) of the door handle, communication is not possible.
- When the electrical key transmitter is brought near the rear right passenger door outside handle, the possibility of wave interference decreases, and it can be determined if wave interference is causing the problem symptom.
- If the inspection result is that the operation check is normal, the possibility of wave interference is high. Also, added vehicle components may cause wave interference. If installed, remove them and perform the operation check.





B -- AFFECTED BY WAVE INTERFERENCE
A -- Continue to next step.

10. KEY DIAGNOSTIC MODE




(a) Diagnostic mode inspection (rear door RH outside oscillator)
(1) Connect the Techstream to the DLC3.
(2) Turn the engine switch on (IG).
(3) Turn the Techstream on.
(4) Enter the following menus: Body Electrical/ Smart Access / Smart Communication Check /Overhead + Driver Side Rear.
(5) When the electrical key transmitter is in the position shown in the illustration, check that the wireless door lock buzzer sounds.
HINT: If the buzzer sounds, it can be determined that the rear right seat outside transmitter is operating normally.

OK:
Wireless door lock buzzer sounds
NG -- CHECK HARNESS AND CONNECTOR (DOOR ELECTRICAL KEY OSCILLATOR - CERTIFICATION ECU)
OK -- END (CERTIFICATION ECU IS DEFECTIVE)
11. CHECK HARNESS AND CONNECTOR (DOOR ELECTRICAL KEY OSCILLATOR - CERTIFICATION ECU)




(a) Disconnect the c2 oscillator connector.
(b) Disconnect the L16 ECU connector.
(c) Measure the resistance according to the value(s) in the table below.
Standard resistance:






NG -- REPAIR OR REPLACE HARNESS OR CONNECTOR
OK -- Continue to next step.

12. CHECK HARNESS AND CONNECTOR (DOOR ELECTRICAL KEY OSCILLATOR - REAR DOOR ECU RH)




(a) Disconnect the c2 oscillator connector.
(b) Disconnect the O3 ECU connector.
(c) Measure the resistance according to the value(s) in the table below.
Standard resistance:






NG -- REPAIR OR REPLACE HARNESS OR CONNECTOR
OK -- Continue to next step.

13. CHECK HARNESS AND CONNECTOR (DOOR ELECTRICAL KEY OSCILLATOR - REAR DOOR OUTSIDE HANDLE RH)




(a) Disconnect the c1 handle connector.
(b) Disconnect the c2 oscillator connector.
(c) Measure the resistance according to the value(s) in the table below.
Standard resistance:






NG -- REPAIR OR REPLACE HARNESS OR CONNECTOR
OK -- Continue to next step.

14. CHECK DOOR ELECTRICAL KEY OSCILLATOR (OPERATION)
(a) Replace the door electrical key oscillator with a new one or normally functioning one Components.
(b) Check that the entry function operates normally.
OK:
Operates normally
NG -- CHECK REAR DOOR OUTSIDE HANDLE RH (OPERATION)
OK -- END (DOOR ELECTRICAL KEY OSCILLATOR IS DEFECTIVE)
15. CHECK REAR DOOR OUTSIDE HANDLE RH (OPERATION)
(a) Replace the rear door outside handle RH with a new one or normally functioning one Removal.
(b) Check that the entry function operates normally.
OK:
Operates normally
NG -- CHECK REAR DOOR ECU RH (OPERATION)
OK -- END (REAR DOOR OUTSIDE HANDLE RH IS DEFECTIVE)
16. CHECK REAR DOOR ECU RH (OPERATION)
(a) Replace the rear door ECU RH with a new one or normally functioning one Components.
(b) Check that the entry function operates normally.
OK:
Operates normally
NG -- REPLACE CERTIFICATION ECU
OK -- END (REAR DOOR ECU RH IS DEFECTIVE)