Curiosii for ever!: Car repair manuals for everyone.

Front Passenger Side Door Entry Lock and Unlock Functions do not Operate








DOOR LOCK: SMART ACCESS SYSTEM WITH PUSH-BUTTON START: Front Passenger Side Door Entry Lock and Unlock Functions do not Operate

Front Passenger Side Door Entry Lock and Unlock Functions do not Operate

DESCRIPTION

When the front passenger door entry lock and unlock functions do not operate, one of the following may be malfunctioning: 1) power door lock system, 2) front passenger side door electrical key oscillator, or 3) certification ECU.

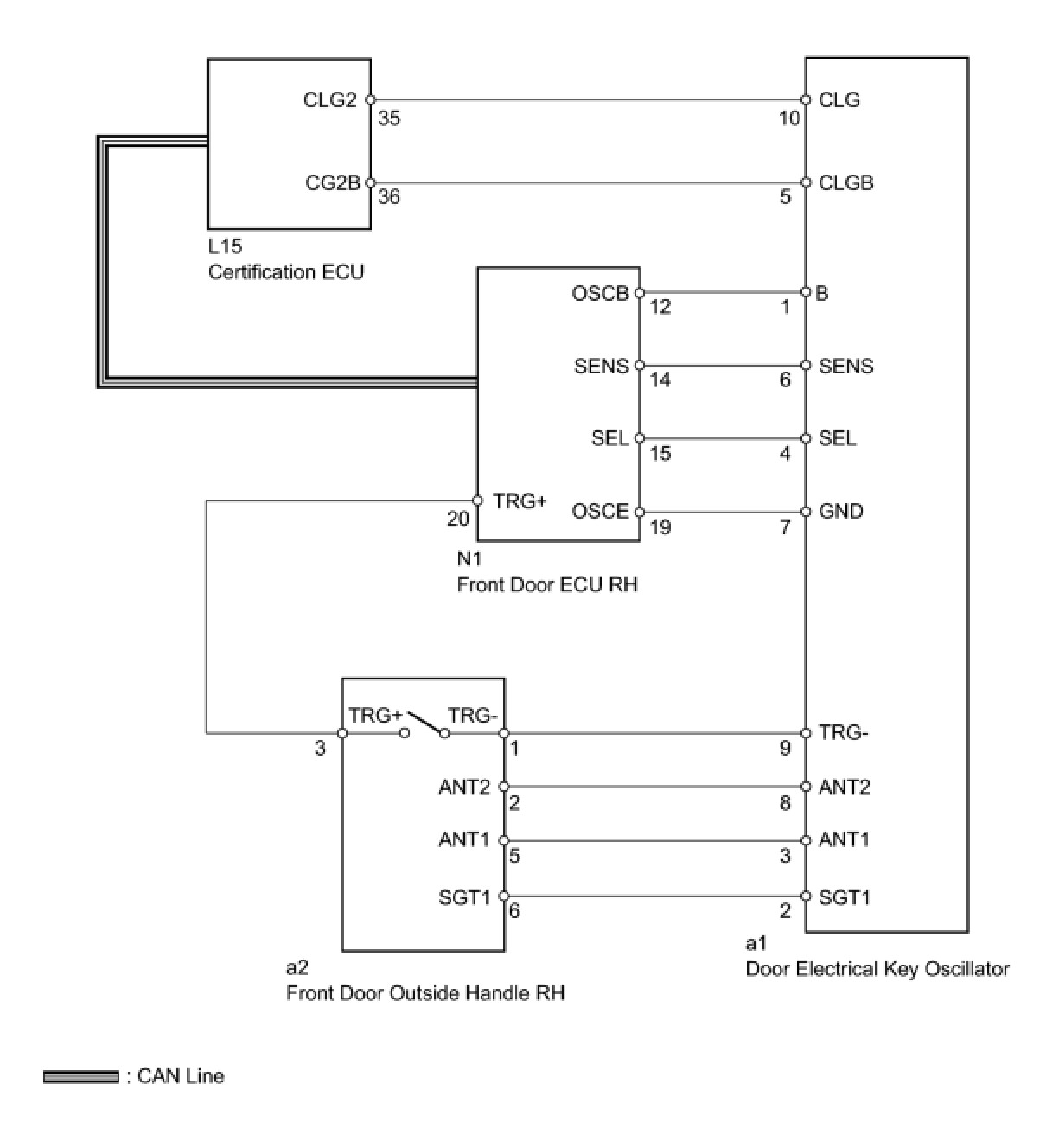
WIRING DIAGRAM





INSPECTION PROCEDURE

PROCEDURE

1. CHECK POWER DOOR LOCK OPERATION
(a) When the master switch assembly's door control switch is operated, check that the locked doors unlock.

Result





NG -- GO TO POWER DOOR LOCK CONTROL SYSTEM
OK -- Continue to next step.

2. READ VALUE USING TECHSTREAM
(a) Using the Techstream, read the Data List.

Passenger Door (Front door ECU LH)





Result





B -- CHECK WAVE ENVIRONMENT
A -- Continue to next step.

3. CHECK FRONT DOOR ECU RH




(a) Measure the voltage according to the value(s) in the table below.
Standard voltage:






NG -- REPLACE FRONT DOOR ECU RH
OK -- Continue to next step.

4. CHECK HARNESS AND CONNECTOR (DOOR ELECTRICAL KEY OSCILLATOR - FRONT DOOR ECU RH)




(a) Disconnect the a1 oscillator connector.
(b) Disconnect the N1 ECU connector.
(c) Measure the resistance according to the value(s) in the table below.
Standard resistance:






NG -- REPAIR OR REPLACE HARNESS OR CONNECTOR
OK -- Continue to next step.

5. CHECK HARNESS AND CONNECTOR (DOOR ELECTRICAL KEY OSCILLATOR - FRONT DOOR OUTSIDE HANDLE RH)




(a) Disconnect the a1 oscillator connector.
(b) Disconnect the a2 handle connector.
(c) Measure the resistance according to the value(s) in the table below.
Standard resistance:






NG -- REPAIR OR REPLACE HARNESS OR CONNECTOR
OK -- Continue to next step.

6. CHECK HARNESS AND CONNECTOR (FRONT DOOR ECU RH - FRONT DOOR OUTSIDE HANDLE RH)




(a) Disconnect the a2 handle connector.
(b) Disconnect the N1 ECU connector.
(c) Measure the resistance according to the value(s) in the table below.
Standard resistance:






NG -- REPAIR OR REPLACE HARNESS OR CONNECTOR
OK -- Continue to next step.

7. CHECK DOOR ELECTRICAL KEY OSCILLATOR (OPERATION)
(a) Replace the door electrical key oscillator with a new one or normally functioning one Components.
(b) Check that the entry function operates normally.
OK:
Operates normally
NG -- CHECK FRONT DOOR OUTSIDE HANDLE RH (OPERATION)
OK -- END (DOOR ELECTRICAL KEY OSCILLATOR IS DEFECTIVE)
8. CHECK FRONT DOOR OUTSIDE HANDLE RH (OPERATION)
(a) Replace the front door outside handle RH with a new one or normally functioning one Removal.
(b) Check that the entry function operates normally.
OK:
Operates normally
NG -- REPLACE FRONT DOOR ECU RH
OK -- END (FRONT DOOR OUTSIDE HANDLE RH IS DEFECTIVE)
9. CHECK WAVE ENVIRONMENT




(a) Bring the electrical key transmitter near the front passenger door outside handle, and perform a front passenger door entry lock and unlock operation check.
NOTE:
If the key is brought within 0.2 m (0.6 ft.) of the door handle, communication is not possible.
- When the electrical key transmitter is brought near the front passenger door outside handle, the possibility of wave interference decreases, and it can be determined if wave interference is causing the problem symptom.
- If the inspection result is that the operation check is normal, the possibility of wave interference is high. Also, added vehicle components may cause wave interference. If installed, remove them and perform the operation check.





B -- AFFECTED BY WAVE INTERFERENCE
A -- Continue to next step.

10. KEY DIAGNOSTIC MODE




(a) Diagnostic mode inspection (front passenger door outside oscillator)
(1) Connect the Techstream to the DLC3.
(2) Turn the engine switch on (IG).
(3) Turn the Techstream on.
(4) Enter the following menus: Body Electrical / Smart Access / Smart Communication Check /Overhead + Passenger Side.
(5) When the electrical key transmitter is in the position shown in the illustration, check that the wireless door lock buzzer sounds.
HINT: If the buzzer sounds, it can be determined that the front passenger seat outside transmitter is operating normally.

OK:
Wireless door lock buzzer sounds
NG -- CHECK HARNESS AND CONNECTOR (DOOR ELECTRICAL KEY OSCILLATOR - CERTIFICATION ECU)
OK -- END (CERTIFICATION ECU IS DEFECTIVE)
11. CHECK HARNESS AND CONNECTOR (DOOR ELECTRICAL KEY OSCILLATOR - CERTIFICATION ECU)




(a) Disconnect the a1 oscillator connector.
(b) Disconnect the L15 ECU connector.
(c) Measure the resistance according to the value(s) in the table below.
Standard resistance:






NG -- REPAIR OR REPLACE HARNESS OR CONNECTOR
OK -- Continue to next step.

12. CHECK HARNESS AND CONNECTOR (DOOR ELECTRICAL KEY OSCILLATOR - FRONT DOOR ECU RH)




(a) Disconnect the a1 oscillator connector.
(b) Disconnect the N1 ECU connector.
(c) Measure the resistance according to the value(s) in the table below.
Standard resistance:






NG -- REPAIR OR REPLACE HARNESS OR CONNECTOR
OK -- Continue to next step.

13. CHECK HARNESS AND CONNECTOR (DOOR ELECTRICAL KEY OSCILLATOR - FRONT DOOR OUTSIDE HANDLE RH)




(a) Disconnect the a1 oscillator connector.
(b) Disconnect the a2 handle connector.
(c) Measure the resistance according to the value(s) in the table below.
Standard resistance:






NG -- REPAIR OR REPLACE HARNESS OR CONNECTOR
OK -- Continue to next step.

14. CHECK DOOR ELECTRICAL KEY OSCILLATOR (OPERATION)
(a) Replace the door electrical key oscillator with a new one or normally functioning one Components.
(b) Check that the entry function operates normally.
OK:
Operates normally
NG -- CHECK FRONT DOOR OUTSIDE HANDLE RH (OPERATION)
OK -- END (DOOR ELECTRICAL KEY OSCILLATOR IS DEFECTIVE)
15. CHECK FRONT DOOR OUTSIDE HANDLE RH (OPERATION)
(a) Replace the front door outside handle RH with a new one or normally functioning one Removal.
(b) check that the entry function operates normally.
OK:
Operates normally
NG -- CHECK FRONT DOOR ECU RH (OPERATION)
OK -- END (FRONT DOOR OUTSIDE HANDLE RH IS DEFECTIVE)
16. CHECK FRONT DOOR ECU RH (OPERATION)
(a) Replace the front door ECU RH with a new one or normally functioning one Components.
(b) Check that the entry function operates normally.
OK:
Operates normally
NG -- REPLACE CERTIFICATION ECU
OK -- END (FRONT DOOR ECU RH IS DEFECTIVE)