Curiosii for ever!
: Car repair manuals for everyone.
Home
>>
Lexus
>>
2009
>>
LS 460 AWD V8-4.6L (1UR-FSE)
>>
Repair and Diagnosis
>>
Lighting and Horns
>>
Map Light
>>
Service and Repair
>>
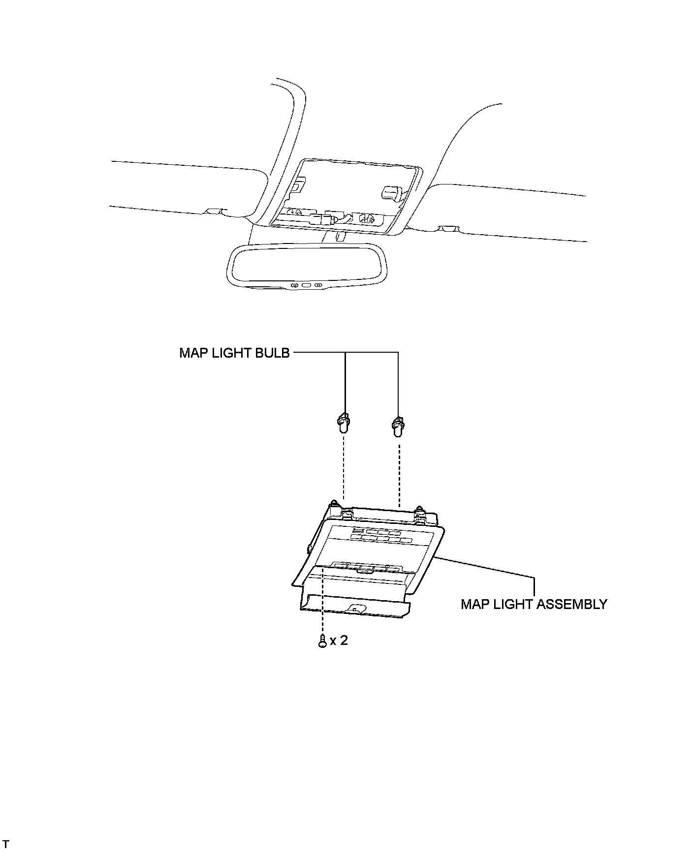
Components
Components
LIGHTING:
MAP LIGHT
ASSEMBLY: COMPONENTS
COMPONENTS
ILLUSTRATION