Curiosii for ever!: Car repair manuals for everyone.

Multiplex Communication System








MULTIPLEX COMMUNICATION: MULTIPLEX COMMUNICATION SYSTEM: SYSTEM DESCRIPTION

SYSTEM DESCRIPTION

1. MULTIPLEX COMMUNICATION SYSTEM BASICS
(a) The LEXUS IS250/350 Multiplex Communication System (MPX) uses serial communication, which converts multiple pieces of information into serial communication data. As a result, they can be transmitted through a single communication wire.





(b) Serial communication data consists of bits and frames. A bit is a basic unit of information represented by the binary values ''0'' and ''1''. The amount of information is represented by the number of bits. A frame is a group of bits. A frame contains a ''header'' that indicates the beginning of the frame and an ''end message'' that indicates the end of the frame.





(c) Based on serial communication, various ECUs are connected on a network to exchange various pieces of information. Such a system is called a multiplex communication system.




(1) The BEAN uses a ring and bus style of network to connect ECUs. This style of communication method is called a daisy chain. In a daisy chain, communication can be maintained even if the network has an open circuit.




(2) The AVC-LAN uses a star style, which is centered on the multi-display or audio head unit.




(3) If DTC of ECU communication stop is output, connectors may be disconnected, or communication buses may be open at 2 points. It will not become abnormal with only 1 communication bus open.




(4) If 2 communication buses are open at the position as shown in the illustration, DTC of ECU communication stop between those 2 buses is output.

(d) Difference of CAN, BEAN and AVC-LAN
(1) The CAN, BEAN and AVC-LAN protocols have set guidelines for data. The guidelines include communication speed, type of communication wire, drive type and data length. These guidelines are established to facilitate ECU data communication.





HINT:
- *: The abbreviation ''bps'' stands for ''bits per second''.
- The CAN uses the multi star style bus connection. The 2 junction connectors are connected with a main bus line. The junction connector extends a sub bus line and enables communication between all the connected ECUs.
(2) A single, Automobile Vinyl (AV) wire is used for BEAN communication. A braided-pair wire is used for CAN and AVC-LAN communication.






2. NETWORK GATEWAY ECU
The network gateway ECU of the LEXUS IS250/350 has the following functions.






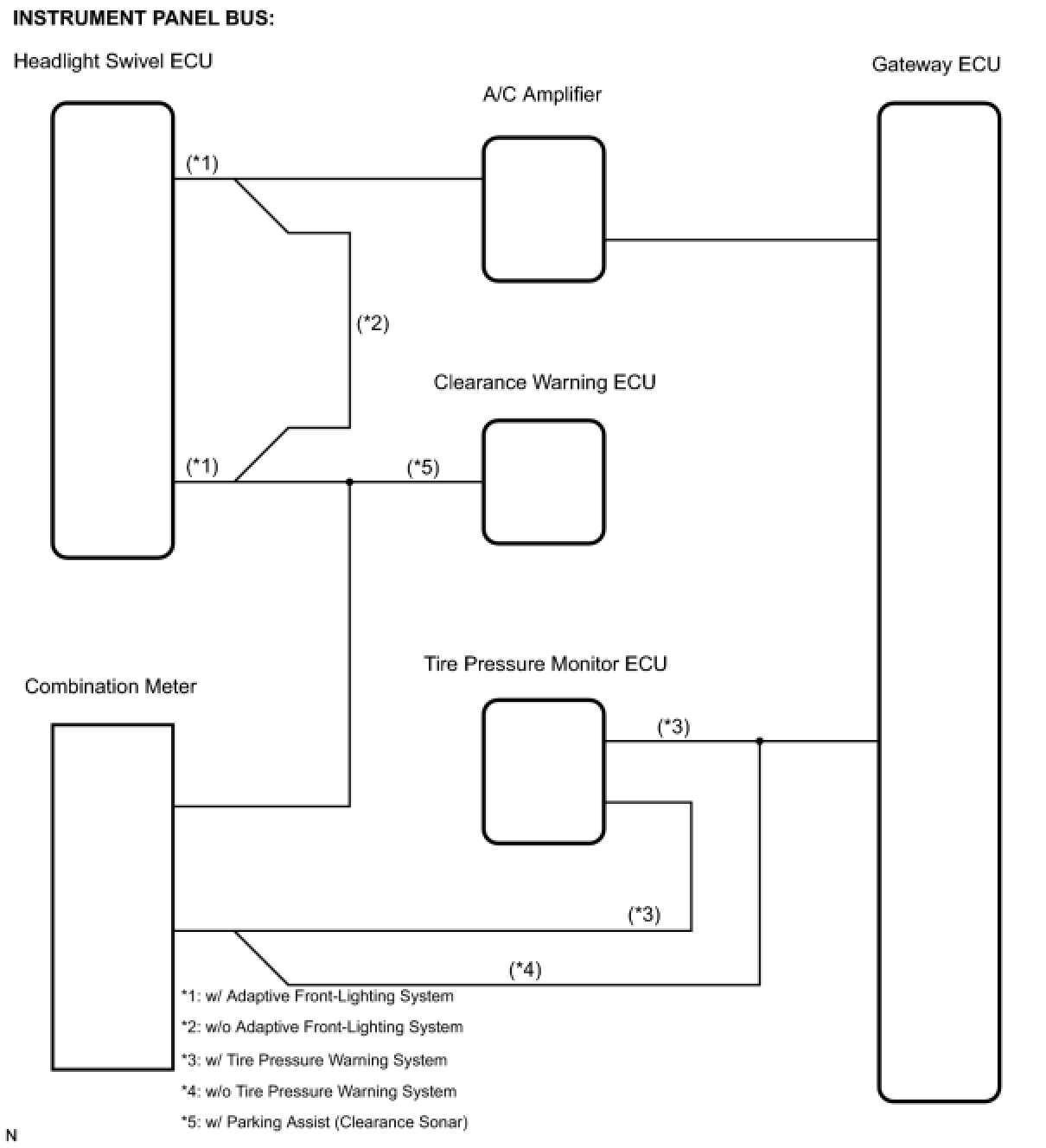
SYSTEM DIAGRAM





HINT:
*1: Optional ECUs are also included.