Curiosii for ever!: Car repair manuals for everyone.

Reassembly








AIR CONDITIONING: INTEGRATION CONTROL AND PANEL: REASSEMBLY

REASSEMBLY

1. INSTALL NO. 1 CONTROL KNOB SUB-ASSEMBLY





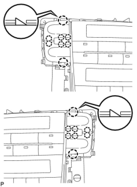
(a) Engage the 16 claws, and install the No. 1 control knob sub-assembly.
2. INSTALL INSTRUMENT CLUSTER FINISH PANEL CENTER





(a) Engage the 5 claws.





(b) Install the integration control panel with 6 screws.