Curiosii for ever!: Car repair manuals for everyone.

Disassembly








AIR CONDITIONING: INTEGRATION CONTROL AND PANEL: DISASSEMBLY

DISASSEMBLY

1. REMOVE CENTER INSTRUMENT CLUSTER FINISH PANEL





(a) Remove the 6 screws.





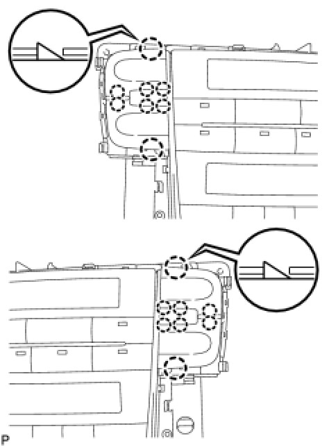
(b) Disengage the 5 claws, and remove the center instrument cluster finish panel.
2. REMOVE NO. 1 CONTROL KNOB SUB-ASSEMBLY





(a) Disengage the 16 claws, and remove the No. 1 control knob sub-assembly.