Curiosii for ever!: Car repair manuals for everyone.

Part 1








INTRODUCTION: REPAIR INSTRUCTION: PRECAUTION

PRECAUTION

1. BASIC REPAIR HINT
(a) HINTS ON OPERATIONS









(b) JACKING UP AND SUPPORTING VEHICLE
(1) Care must be taken when jacking up and supporting the vehicle. Be sure to lift and support the vehicle at the proper locations.





(c) PRECOATED PARTS
(1) Precoated parts are bolts and nuts that are coated with a seal lock adhesive at the factory.
(2) If a precoated part is retightened, loosened or moved in any way, it must be recoated with the specified adhesive.
(3) When reusing a precoated part, clean off the old adhesive and dry the part with compressed air. Then apply new seal lock adhesive appropriate to that part.
(4) Some seal lock agents harden slowly. You may have to wait for the seal lock adhesive to harden.

(d) GASKETS
(1) When necessary, use a sealer on gaskets to prevent leaks.
(e) BOLTS, NUTS AND SCREWS
(1) Carefully follow all the specifications for tightening torques. Always use a torque wrench.
(f) FUSES




(1) When inspecting a fuse, check that the wire of the fuse is not broken.
(2) If the wire of a fuse is broken, confirm that there are no shorts in its circuit.
(3) When a fuse is replaced, a fuse with the same amperage rating must be used.






(g) CLIPS
(1) The removal and installation methods of typical clips used for vehicle body parts are shown in the table below.
HINT:
If clips are damaged during a procedure, always replace the clips with new clips.





(h) CLAWS
(1) The removal and installation methods of typical claws used for vehicle body parts are shown in the table below.
HINT:
If claws of caps or covers are damaged during a procedure, always replace the caps or covers with new ones.





(i) REMOVAL AND INSTALLATION OF VACUUM HOSES




(1) To disconnect a vacuum hose, pull and twist from the end of the hose. Do not pull from the middle of the hose as this may cause damage.




(2) When disconnecting vacuum hoses, use tags to identify where they should be reconnected.
(3) After completing any hose related repairs, double check that the vacuum hoses are properly connected. The label under the hood shows the proper layout.
(4) When using a vacuum gauge, never force the hose onto a connector that is too large. If a hose has been stretched, it may leak air. Use a step-down adapter if necessary.
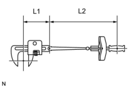
(j) TORQUE WHEN USING TORQUE WRENCH WITH EXTENSION TOOL








(1) Use the formula below to calculate special torque values for situations where SST or an extension tool is combined with a torque wrench.
Formula:
T' = L2 / (L1 + L2) * T





NOTE:
If an extension tool or SST is combined with a torque wrench and the wrench is used to tighten to a torque specification, the actual torque will be excessive and parts will be damaged.

2. FOR VEHICLES EQUIPPED WITH SRS AIRBAG AND SEAT BELT PRETENSIONER
The LEXUS IS250/350 is equipped with a Supplemental Restraint System (SRS).
CAUTION:
- Before performing pre-disposal deployment of any SRS component, review and closely follow all applicable environmental and hazardous material regulations. Pre-disposal deployment may be considered hazardous material treatment.
- Failure to carry out the service operations in the correct sequence could cause the SRS to unexpectedly deploy during servicing and lead to serious injury. Furthermore, if a mistake is made when servicing SRS, it is possible that the SRS may fail to operate properly. Before servicing (including removal or installation of parts, inspection or replacement), be sure to read the following section carefully.

(a) GENERAL NOTICE
(1) As malfunctions of the SRS are difficult to confirm, the Diagnostic Trouble Codes (DTCs) become the most important source of information when troubleshooting. When troubleshooting the SRS, always check the DTCs before disconnecting the battery.
(2) Work must be started at least 90 seconds after the ignition switch is turned off and after the cable is disconnected from the negative (-) battery terminal.
The SRS is equipped with a back-up power source. If work is started within 90 seconds after turning the ignition switch off and disconnecting the cable from the negative (-) battery terminal, the SRS may deploy.
When the cable is disconnected from the negative (-) battery terminal, clock and audio system memory is erased. Before starting work, make a note of the settings of each memory system. When work is finished, reset the clock and audio system as before.
CAUTION:
Never use a back-up power source (battery or other) to avoid erasing system memory. The back-up power source may inadvertently power the SRS and cause it to deploy.
(3) In minor collisions where the SRS does not deploy, the steering pad, front passenger airbag assembly, driver side knee airbag assembly, passenger side knee airbag assembly, front seat side airbag assembly, curtain shield airbag assembly and seat outer belt assembly should be inspected before further use of the vehicle.
Disposal for steering pad)
Disposal for front passenger airbag assembly)
Front Seat Side Airbag Assembly for front seat side airbag assembly)
Disposal for driver side knee airbag assembly)
Disposal for passenger side knee airbag assembly)
Disposal for curtain shield airbag assembly)
Disposal for front seat outer belt assembly)
(4) Never use SRS parts from another vehicle. When replacing parts, use new parts.
(5) Before repairs, remove the airbag sensor assemblies if impacts are likely to be applied to the sensor during repairs.
(6) Never disassemble and attempt to repair all airbag sensor assemblies and all airbag assemblies.
1 Steering pad
2 Front passenger airbag assembly
3 Driver side knee airbag assembly
4 Passenger side knee airbag assembly
5 Front seat side airbag assembly
6 Curtain shield airbag assembly
7 Front seat outer belt assembly
8 Rear seat outer belt assembly
(7) Replace the airbag sensor assemblies and the airbag assemblies if: 1) damage has occurred from being dropped, or 2) cracks, dents or other defects in the case, bracket or connector are present.
(8) Do not directly expose the airbag sensor assembly or airbag assembly to hot air or flames.
(9) Use a voltmeter / ohmmeter with high impedance (minimum=10 kOhms) for troubleshooting electrical circuits.
(10) Information labels are attached to the SRS components. Follow the instructions on the labels.
(11) After work on the SRS is completed, check the SRS warning light.





(b) SPIRAL CABLE
(1) The steering wheel must be fitted correctly to the steering column with the spiral cable at the neutral position, as cable disconnection and other problems may occur. Refer to the information about correct installation of the steering wheel Installation.

(c) STEERING PAD
(1) Always place a removed or new steering pad surface upward as shown in the illustration. Placing the horn button with the pad surface facing down could cause a serious accident if the airbag inflates. Also, do not place anything on top of the horn button.




(2) Never measure the resistance of the airbag squib. This may cause the airbag to inflate, which could cause serious injury.




(3) Grease or detergents of any kind should not be applied to the horn button.
(4) Store the horn button assembly in an area where the ambient temperature is below 93°C (200°F), the humidity is not high and there is no electrical noise.
(5) When using electric welding anywhere on the vehicle, disconnect the airbag ECU connectors (4 pins). These connectors contain shorting springs. This feature reduces the possibility of the airbag deploying due to current entering the squib wiring.
(6) When disposing of the vehicle or the horn button assembly by itself, the airbag should be deployed using SST before disposal Disposal. Activate the airbag in a safe place away from electrical noise.
(d) FRONT PASSENGER AIRBAG ASSEMBLY
(1) Always place a removed or new front passenger airbag assembly with the pad surface facing upward as shown in the illustration. Placing the airbag assembly with the airbag inflation direction facing down could cause a serious accident if the airbag inflates.




(2) Never measure the resistance of the airbag squib. This may cause the airbag to inflate, which could cause serious injury.




(3) Grease or detergents of any kind should not be applied to the front passenger airbag assembly.
(4) Store the airbag assembly in an area where the ambient temperature is below 93°C (200°F), the humidity is not high and there is no electrical noise.
(5) When using electric welding anywhere on the vehicle, disconnect the airbag ECU connectors (4 pins). These connectors contain shorting springs. This feature reduces the possibility of the airbag deploying due to current entering the squib wiring.
(6) When disposing of the vehicle or the airbag assembly unit by itself, the airbag should be deployed using SST before disposal Disposal. Activate in a safe place, away from electrical noise.
(e) DRIVER SIDE KNEE AIRBAG ASSEMBLY
(1) Always place a removed or new knee airbag assembly with the airbag inflation direction facing upward. Placing the airbag assembly with the airbag inflation direction facing downward could cause a serious accident if the airbag inflates.




(2) Never measure the resistance of the airbag squib. This may cause the airbag to inflate, which could cause serious injury.




(3) Grease or detergents of any kind should not be applied to the knee airbag assembly.
(4) Store the knee airbag assembly where the ambient temperature is below 93°C (200°F), the humidity is not high and there is no electrical noise.
(5) When using electric welding anywhere on the vehicle, disconnect the airbag ECU connectors (2 pins). These connectors contain shorting springs. This feature reduces the possibility of the airbag deploying due to current entering the squib wiring.
(6) When disposing of a vehicle or knee airbag assembly unit by itself, the airbag should be inflated using SST before disposal Disposal. Activate in a safe place, away from electrical noise.
(f) PASSENGER SIDE KNEE AIRBAG ASSEMBLY
(1) Always place a removed or new knee airbag assembly with the airbag inflation direction facing upward. Placing the airbag assembly with the airbag inflation direction facing downward could cause a serious accident if the airbag inflates.




(2) Never measure the resistance of the airbag squib. This may cause the airbag to inflate, which could cause serious injury.




(3) Grease or detergents of any kind should not be applied to the knee airbag assembly.
(4) Store the knee airbag assembly where the ambient temperature is below 93°C (200°F), the humidity is not high and there is no electrical noise.
(5) When using electric welding anywhere on the vehicle, disconnect the airbag ECU connectors (2 pins). These connectors contain shorting springs. This feature reduces the possibility of the airbag deploying due to current entering the squib wiring.
(6) When disposing of a vehicle or knee airbag assembly unit by itself, the airbag should be inflated using SST before disposal Disposal. Activate in a safe place, away from electrical noise.
(g) FRONT SEAT SIDE AIRBAG ASSEMBLY
(1) Always place a removed or new front seat side airbag assembly with the airbag inflation direction facing up.
(2) Never measure the resistance of the airbag squib. This may cause the airbag to inflate, which could cause serious injury.




(3) Grease or detergents of any kind should not be applied to the front seat side airbag assembly.
(4) Store the airbag assembly in an area where the ambient temperature is below 93°C (200°F), the humidity is not high and there is no electrical noise.
(5) When using electric welding anywhere on the vehicle, disconnect the airbag ECU connectors (2 pins). These connectors contain shorting springs. This feature reduces the possibility of the airbag deploying due to current entering the squib wiring.
(6) When disposing of a vehicle or the airbag assembly unit by itself, the airbag should be deployed using SST before disposal Front Seat Side Airbag Assembly. Activate in a safe place away from electrical noise.
(h) CURTAIN SHIELD AIRBAG ASSEMBLY
(1) Always place a removed or new curtain shield airbag assembly in a clear plastic bag, and keep it in a safe place.




CAUTION:
The plastic bag is not reusable.
NOTE:
Never disassemble the curtain shield airbag assembly.
(2) Never measure the resistance of the airbag squib. This may cause the airbag to inflate, which could cause serious injury.




(3) Grease or detergents of any kind should not be applied to the curtain shield airbag assembly.
(4) Store the airbag assembly in an area where the ambient temperature is below 93°C (200°F), the humidity is not high and there is no electrical noise.
(5) When using electric welding anywhere on the vehicle, disconnect the airbag ECU connectors (4 pins). These connectors contain shorting springs. This feature reduces the possibility of the airbag deploying due to current entering the squib wiring.
(6) When disposing of a vehicle or the airbag assembly unit by itself, the airbag should be deployed using SST before disposal Disposal. Activate in a safe place away from electrical noise.
(i) FRONT SEAT OUTER BELT ASSEMBLY AND REAR SEAT OUTER BELT ASSEMBLY (SEAT BELT PRETENSIONER)
(1) Never measure the resistance of the seat outer belt. This may cause the pretensioner of the seat belt to activate, which could cause serious injury.




(2) Never disassemble the seat outer belt.
(3) Never install the seat outer belt on another vehicle.
(4) Store the seat outer belt in an area where the ambient temperature is below 80°C (176°F), the humidity is not high and there is no electrical noise.
(5) When using electric welding anywhere on the vehicle, disconnect the airbag ECU connectors (2 pins). These connectors contain shorting springs. This feature reduces the possibility of the airbag deploying due to current entering the squib wiring.
(6) When disposing of a vehicle or the seat outer belt unit by itself, the seat outer belt should be activated before disposal Disposal. Activate in a safe place away from electrical noise.
(7) As the seat outer belt is hot after being activated, allow some time for it to cool down sufficiently before disposal. Never apply water to cool down the seat outer belt.
(8) Grease, detergents, oil or water should not be applied to the front seat outer belt.
(j) AIRBAG SENSOR ASSEMBLY
(1) Never reuse an airbag sensor assembly that has been involved in a collision where the SRS has deployed.
(2) The connectors to the airbag sensor assembly should be connected or disconnected with the sensor placed on the floor. If the connectors are connected or disconnected while the airbag sensor assembly is not placed on the floor, the SRS may activate.
(3) Work must be started at least 90 seconds after the ignition switch is turned off and the cable is disconnected from the negative (-) battery terminal, even if only loosening the set bolts of the airbag sensor assembly.
(k) WIRE HARNESS AND CONNECTOR
(1) The SRS wire harness is integrated with the instrument panel wire harness assembly. All the connectors in the system are a standard yellow color. If the SRS wire harness becomes disconnected or the connector becomes broken, repair or replace it.