Curiosii for ever!: Car repair manuals for everyone.

System Specifications

Connecting rod x Connecting rod cap
1st 40 Nm (408 kgf-cm, 30 ft.lbf)
2nd Turn 90° Nm (Turn 90° kgf- cm, Turn 90° ft.lbf)








Crankshaft bearing cap x Cylinder block
for Inside position 61 Nm (622 kgf-cm, 45 ft.lbf)
for Outside position 27 Nm (275 kgf-cm, 20 ft.lbf)
2nd Turn 90° Nm (Turn 90° kgf- cm, Turn 90° ft.lbf)
for Cylinder block side position 45 Nm (459 kgf-cm, 33 ft.lbf)

Cylinder block stud bolt
for Stud bolt A 10 Nm (102 kgf-cm, ft.lbf)
for Stud bolt B 9.0 Nm (92 kgf-cm, 80 in.*lbf)

Crankshaft pulley x Crankshaft 300 Nm (3059 kgf-cm, 221 ft.lbf)

Cylinder block
Warpage
Maximum 0.07 mm (0.0028 in.)
Cylinder bore
Standard 94.000 to 94.012 mm (3.7008 to 3.77013 in.)
Maximum 94.200 mm (3.7087 in.)

Connecting rod
Thrust clearance
Standard 0.15 to 0.55 mm (0.0059 to 0.0217 in.)
Maximum 0.70 mm (0.0276 in.)

Oil clearance
Standard 0.025 to 0.050 mm (0.0010 to 0.0020 in.)
Maximum 0.070 mm (0.0028 in.)

Connecting rod
Standard sized bearing
Center wall thickness
Mark 2 1.489 to 1.492 mm (0.0586 to0.0587 in.)
Mark 3 1.492 to 1.495 mm (0.0587 to 0.0589 in.)
Mark 4 1.495 to 1.498 mm (0.0589 to 0.0590 in.)
Mark 5 1.498 to 1.501 mm (0.0590 to 0.0591 in.)
Mark 6 1.501 to 1.504 mm (0.0591 to 0.0592 in.)
Mark 7 1.504 to 1.507 mm (0.0592 to 0.0593 in.)

Big end
Inside diameter
Mark 1 56.000 to 56.006 mm (2.2047 to 2.2050 in.)
Mark 2 56.007 to 56.012 mm (2.2050 to 2.2052 in.)
Mark 3 56.013 to 56.018 mm (2.2052 to 2.2054 in.)
Mark 4 56.019 to 56.024 mm (2.2055 to 2.2057 in.)

Crankshaft
Crankshaft pin
Diameter
Mark 1 52.995 to 53.000 mm (2.0864 to 2.0866 in.)
Mark 2 52.989 to 52.994 mm (2.0862 to 2.0864 in.)
Mark 3 52.982 to 52.998 mm (2.0859 to 2.0865 in.)

Thrust clearance
Standard 0.020 to 0.220 mm (0.0008 to 0.0087 in.)
Maximum 0.30 mm (0.0118 in.)

Thrust washer thickness
Standard 2.44 to 2.49 mm (0.0961 to 0.0980 in.)

Piston
Diameter
Standard 93.955 to 93.965 mm (3.6990 to 3.6994 in.)
Minimum 93.830 mm (3.6941 in.)

Oil clearance
Standard 0.035 to 0.057 mm (0.0014 to 0.0022 in.)
Maximum 0.370 mm (0.0146 in.)

Piston ring
Groove clearance
No. 1 0.020 to 0.070 mm (0.0008 to 0.0028 in.)
No. 2 0.020 to 0.060 mm (0.0008 to 0.0024 in.)
Oil 0.020 to 0.070 mm (0.0008 to 0.0028 in.)

End gap
Standard
No. 1 0.23 to 0.33 mm (0.0091 to 0.0130 in.)
No. 2 0.35 to 0.45 mm (0.0138 to 0.0177 in.)
Oil 0.10 to 0.40 mm (0.0039 to 0.0157 in.)

Maximum
No. 1 0.40 mm (0.0157 in.)
No. 2 0.50 mm (0.0197 in.)
Oil 0.45 mm (0.0177 in.)

Piston pin
Hole inside diameter
Mark A 21.998 to 22.001 mm (0.8661 to 0.8662 in.)
Mark B 22.002 to 22.004 mm (0.8662 to 0.8663 in.)
Mark C 22.005 to 22.007 mm (0.8663 to 0.8664 in.)

Diameter
Mark A 21.997 to 22.000 mm (0.8660 to 0.8661 in.)
Mark B 22.001 to 22.003 mm (0.8662 to 0.8663 in.)
Mark C 22.004 to 22.006 mm (0.8663 to 0.8664 in.)

Oil clearance
Standard -0.002 to 0.004 mm (-0.0001 to 0.0002 in.)
Maximum 0.015 mm (0.0006 in.)

Connecting rod bush
Inside diameter
Mark A 22.005 to 22.008 mm (0.8663 to 0.8665 in.)
Mark B 22.009 to 22.011 mm (0.8665 to 0.8666 in.)
Mark C 22.012 to 22.014 mm (0.8666 to 0.8667 in.)
Oil clearance
Standard 0.005 to 0.011 mm (0.0002 to 0.0004 in.)
Maximum 0.03 mm (0.0012 in.)

Connecting rod
Bend
Maximum 0.05 mm (0.0020 in.) per 100 mm (3.937 in.)
Twist
Maximum 0.15 mm (0.0059 in.) per 100 mm (3.937 in.)

Connecting rod bolt
Diameter
Standard 8.5 to 8.6 mm (0.335 to 0.339 in.)
Minimum 8.3 mm (0.327 in.)

Crankshaft
Circle runout
Maximum 0.06 mm (0.0024 in.)

Main journal
Diameter
Standard 66.988 to 67.000 mm (2.6373 to 2.6378 in.)

Crank pin
Diameter
Standard 52.982 to 53.000 mm (2.0859 to 2.0866 in.)

Oil clearance
No. 1 and No. 5 journal
Standard 0.017 to 0.030 mm (0.0007 to 0.0012 in.)
Maximum 0.050 mm (0.0020 in.)

Other journal
Standard 0.024 to 0.037 mm (0.0009 to 0.0015 in.)
Maximum 0.060 mm (0.0024 in.)

Crankshaft
Main journal diameter
Mark 00 66.999 to 67.000 mm (2.63776 to 2.63780 in.)
Mark 01 66.998 to 66.999 mm (2.63772 to 2.63776 in.)
Mark 02 66.997 to 66.998 mm (2.63768 to 2.63772 in.)
Mark 03 66.996 to 66.997 mm (2.63764 to 2.63768 in.)
Mark 04 66.995 to 66.996 mm (2.63760 to 2.63764 in.)
Mark 05 66.994 to 66.995 mm (2.63756 to 2.63760 in.)
Mark 06 66.993 to 66.994 mm (2.63752 to 2.63756 in.)
Mark 07 66.992 to 66.993 mm (2.63748 to 2.63752 in.)
Mark 08 66.991 to 66.992 mm (2.63744 to 2.63748 in.)
Mark 09 66.990 to 66.991 mm (2.63740 to 2.63744 in.)
Mark 10 66.989 to 66.990 mm (2.63736 to 2.63740 in.)
Mark 11 66.988 to 66.989 mm (2.63736 to 2.63736 in.)

Bearing center wall thickness No. 1 and No. 5 journal

Upper bearing
00 to 02
4 2.501 to 2.504 (0.0985 to 0.0986 in.)
03 to 05
5 2.504 to 2.507 (0.0986 to 0.0987 in.)
06 to 08
5 2.504 to 2.507 (0.0986 to 0.0987 in.)
09 to 11
6 2.507 to 2.510 (0.0987 to 0.0988 in.)
12 to 14
6 2.507 to 2.510 (0.0987 to 0.0988 in.)
15 to 17
7 2.510 to 2.513 (0.0988 to 0.0989 in.)
18 to 20
7 2.510 to 2.513 (0.0988 to 0.0989 in.)
21 to 23
8 2.513 to 2.516 (0.0989 to 0.0991 in.)
24 to 26
8 2.513 to 2.516 (0.0989 to 0.0991 in.)
27 to 28
9 2.516 to 2.519 (0.0991 to 0.0992 in.)

Lower bearing
00 to 02
5 2.488 to 2.491 (0.0980 to 0.0981 in.)
03 to 05
5 2.488 to 2.491 (0.0988 to 0.0981 in.)
06 to 08
6 2.491 to 2.494 (0.0981 to 0.0982 in.)
09 to 11
6 2.491 to 2.494 (0.0981 to 0.0982 in.)
12 to 14
7 2.494 to 2.497 (0.0982 to 0.0983 in.)
15 to 17
7 2.494 to 2.497 (0.0982 to 0.0983 in.)
18 to 20
8 2.497 to 2.500 (0.0983 to 0.0984 in.)
21 to 23
8 2.497 to 2.500 (0.0983 to 0.0984 in.)
24 to 26
9 2.500 to 2.503 (0.0984 to 0.0985 in.)
27 to 28
9 2.500 to 2.503 (0.0984 to 0.0985 in.)

Bearing center wall thickness other journal
Upper bearing
00 to 02
3 2.482 to 2.485 (0.0977 to 0.0978 in.)
03 to 05
4 2.485 to 2.488 (0.0978 to 0.0980 in.)
06 to 08
4 2.485 to 2.488 (0.0978 to 0.0980 in.)
09 to 11
5 2.488 to 2.491 (0.0980 to 0.0981 in.)
12 to 14
5 2.488 to 2.491 (0.0980 to 0.0981 in.)
15 to 17
6 2.491 to 2.494 (0.0981 to 0.0982 in.)
18 to 20
6 2.491 to 2.494 (0.0981 to 0.0982 in.)
21 to 23
7 2.494 to 2.497 (0.0982 to 0.0983 in.)
24 to 26
7 2.494 to 2.497 (0.0982 to 0.0983 in.)
27 to 28
8 2.497 to 2.500 (0.0983 to 0.0984 in.)

Lower bearing
00 to 02
4 2.501 to 2.504 (0.0985 to 0.0986 in.)
03 to 05
4 2.501 to 2.504 (0.0985 to 0.0986 in.)
06 to 08
5 2.504 to 2.507 (0.0986 to 0.0987 in.)
09 to 11
5 2.504 to 2.507 (0.0986 to 0.0987 in.)
12 to 14
6 2.507 to 2.510 (0.0987 to 0.0988 in.)
15 to 17
6 2.507 to 2.510 (0.0987 to 0.0988 in.)
18 to 20
7 2.510 to 2.513 (0.0988 to 0.0989 in.)
21 to 23
7 2.510 to 2.513 (0.0988 to 0.0989 in.)
24 to 26
8 2.513 to 2.516 (0.0989 to 0.0991 in.)
27 to 28
8 2.513 to 2.516 (0.0989 to 0.0991 in.)

Main Bearing Torque Sequence













Crankshaft bearing cap set bolt
Diameter
Bolt A
Standard 10.8 to 11.0 mm (0.425 to 0.433 in.)
Minimum 10.7 mm (0.421 in.)

Bolt B
Standard 9.8 to 10.0 mm (0.386 to 0.394 in.)
Minimum 9.7 mm (0.382 in.)

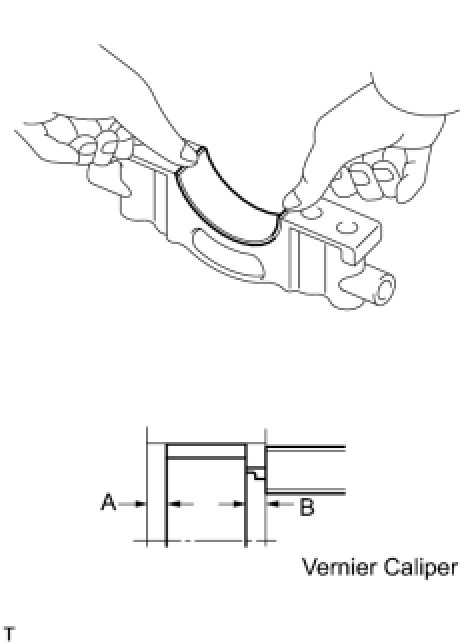
Crankshaft bearing





Bearing cap's edge and the lower bearing's edge
Dimension A - B or B - A 0 to 0.7 mm (0 to 0.028 in.)

Connecting rod bearing





connecting rod's and bearing cap's edges
Dimension A - B or B - A 0 to 0.7 mm (0 to 0.028 in.)