Curiosii for ever!: Car repair manuals for everyone.

Part 2








2GR-FSE ENGINE CONTROL SYSTEM: SFI SYSTEM: EVAP System

EVAP System (Continued)

PROCEDURE

1. CONFIRM DTC
(a) Turn the engine switch off and wait for 10 seconds.
(b) Turn the engine switch on (IG).
(c) Turn the engine switch off and wait for 10 seconds.
(d) Connect the Techstream to the DLC3.
(e) Turn the engine switch on (IG) and turn the Techstream on.
(f) Select the following menu items: Powertrain / Engine and ECT / Trouble Codes.
(g) Confirm DTCs and freeze frame data.
If any EVAP system DTCs are set, the malfunctioning area can be determined using the table below.




NOTE:
If the reference pressure difference between the first and second checks is greater than the specification, all the DTCs relating to the reference pressure (P043E, P043F, P2401, P2402 and P2419) are stored.

NEXT -- Continue to next step.

2. PERFORM EVAPORATIVE SYSTEM CHECK (AUTOMATIC MODE)
NOTICE:
- The Evaporative System Check (Automatic Mode) consists of 5 steps performed automatically by Techstream. It takes a maximum of approximately 18 minutes.
- Do not perform the Evaporative System Check when the fuel tank is more than 90% full because the cut-off valve may be closed, making the fuel tank leak check unavailable.
- Do not run the engine during this operation.
- When the temperature of the fuel is 35°C (95°F) or more, a large amount of vapor forms and any check results become inaccurate. When performing the Evaporative System Check, keep the temperature below 35°C (95°F).
(a) Clear DTCs DTC Check / Clear.
(b) On the Techstream, select the following menu items: Powertrain / Engine and ECT / Utility / Evaporative System Check / Automatic Mode.
(c) After the Evaporative System Check is completed, check for pending DTCs by selecting the following menu items: Powertrain / Engine and ECT / Trouble Codes / Pending.
HINT: If no pending DTCs are displayed, perform the Monitor Confirmation. After this confirmation, check for pending DTCs. If no DTCs are displayed, the EVAP system is normal.

NEXT -- Continue to next step.

3. PERFORM EVAPORATIVE SYSTEM CHECK (MANUAL MODE)




NOTICE:
- In the Evaporative System Check (Manual Mode), perform the series of 5 EVAP SYSTEM CHECK steps manually using the Techstream.
- Do not perform the Evaporative System Check when the fuel tank is more than 90% full because the cut-off valve may be closed, making the fuel tank leak check unavailable.
- Do not run the engine during this operation.
- When the temperature of the fuel is 35°C (95°F) or more, a large amount of vapor forms and any check results become inaccurate. When performing the Evaporative System Check, keep the temperature below 35°C (95°F).
(a) Clear DTCs DTC Check / Clear.
(b) On the Techstream, select the following menu items: Powertrain / Engine and ECT / Utility / Evaporative System Check / Manual Mode.
NEXT -- Continue to next step.

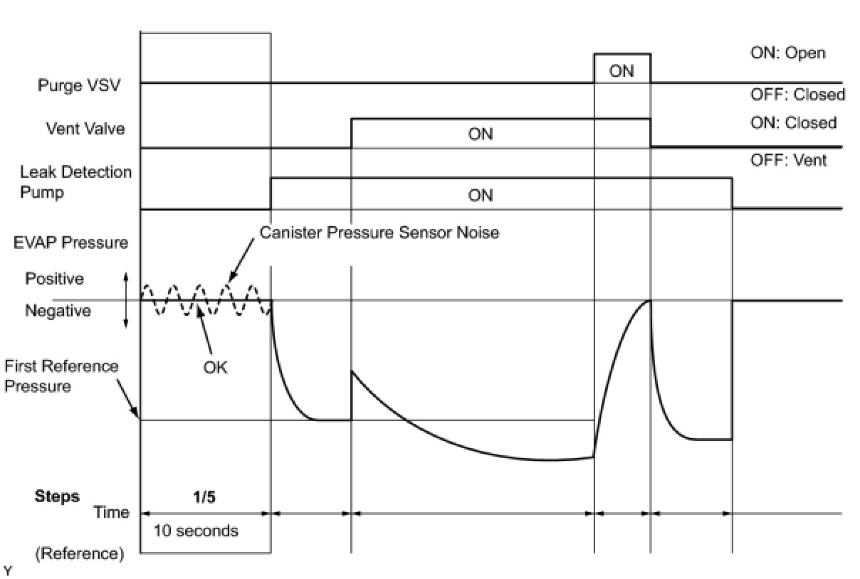
4. PERFORM EVAPORATIVE SYSTEM CHECK (STEP 1/5)




(a) Check the EVAP pressure in step 1/5.
Result:





*: These DTCs are already present in the ECM when the vehicle arrives and are confirmed in step 1.
B -- REPLACE CANISTER ASSEMBLY
A -- Continue to next step.

5. PERFORM EVAPORATIVE SYSTEM CHECK (STEP 1/5 TO 2/5)




(a) Check the EVAP pressure in steps 1/5 and 2/5.
Result:





*: These DTCs are already present in the ECM when the vehicle arrives and are confirmed in step 1.
HINT: The first reference pressure is the value determined in step 2/5.

B -- PERFORM ACTIVE TEST USING TECHSTREAM (FOR LEAK DETECTION PUMP)
A -- Continue to next step.

6. PERFORM EVAPORATIVE SYSTEM CHECK (STEP 2/5)




HINT: Make a note of the pressures checked in steps (a) and (b) below.

(a) Check the EVAP pressure 4 seconds after the leak detection pump is activated*.
*: The leak detection pump begins to operate as step 1/5 finishes and step 2/5 starts.
(b) Check the EVAP pressure again when it has stabilized. This pressure is the reference pressure.
Result:






*: These DTCs are already present in the ECM when the vehicle arrives and are confirmed in step 1.
D -- PERFORM ACTIVE TEST USING TECHSTREAM (VENT VALVE)
C -- REPLACE CANISTER ASSEMBLY
B -- PERFORM EVAPORATIVE SYSTEM CHECK (STEP 3/5)
A -- Continue to next step.

7. PERFORM EVAPORATIVE SYSTEM CHECK (STEP 2/5 TO 3/5)




(a) Check the EVAP pressure increase in step 3/5.
Result:





*: These DTCs are already present in the ECM when the vehicle arrives and are confirmed in step 1.
C -- REPLACE CANISTER ASSEMBLY
B -- PERFORM ACTIVE TEST USING TECHSTREAM (VENT VALVE)
A -- Continue to next step.

8. PERFORM EVAPORATIVE SYSTEM CHECK (STEP 3/5)




(a) Wait until the EVAP pressure change is less than 0.1 kPa (0.75 mmHg) for 30 seconds.
(b) Measure the EVAP pressure and record it.
HINT: A few minutes are required for the EVAP pressure to become saturated. When there is little fuel in the fuel tank, it takes up to 15 minutes.

NEXT -- Continue to next step.

9. PERFORM EVAPORATIVE SYSTEM CHECK (STEP 4/5)




(a) Check the EVAP pressure in step 4/5.
Result:





*: These DTCs are already present in the ECM when the vehicle arrives and are confirmed in step 1.
C -- PERFORM ACTIVE TEST USING TECHSTREAM (EVAP VSV)
B -- CHECK EVAP HOSE (PURGE VSV - INTAKE MANIFOLD)
A -- Continue to next step.

10. PERFORM EVAPORATIVE SYSTEM CHECK (STEP 5/5)




(a) Check the EVAP pressure in step 5/5.
(b) Compare the EVAP pressure in step 3/5 and the second reference pressure (step 5/5).
Result:





*: These DTCs are already present in the ECM when the vehicle arrives and are confirmed in step 1.
B -- PERFORM ACTIVE TEST USING TECHSTREAM (EVAP VSV)
A -- REPAIR OR REPLACE PARTS AND COMPONENTS INDICATED BY OUTPUT DTCS
11. PERFORM EVAPORATIVE SYSTEM CHECK (STEP 3/5)




(a) Check the EVAP pressure in step 3/5.
Result:





*: These DTCs are already present in the ECM when the vehicle arrives and are confirmed in step 1.
HINT: The first reference pressure is the value determined in step 2/5.

B -- PERFORM ACTIVE TEST USING TECHSTREAM (FOR LEAK DETECTION PUMP)
A -- REPLACE CANISTER ASSEMBLY
12. PERFORM ACTIVE TEST USING TECHSTREAM (EVAP VSV)




(a) On the Techstream, select the following menu items: Powertrain / Engine and ECT / Active Test / Activate the VSV for Evap Control.
(b) Disconnect the hose (connected to the canister) from the purge VSV.
(c) Start the engine.
(d) Using the Techstream, turn off the purge VSV (Activate the VSV for Evap Control: OFF).
(e) Use your finger to confirm that the purge VSV has no suction.
(f) Using the Techstream, turn on the purge VSV (Activate the VSV for Evap Control: ON).
(g) Use your finger to confirm that the purge VSV has suction.
Result:






C -- CHECK EVAP HOSE (PURGE VSV - INTAKE MANIFOLD)
B -- INSPECT PURGE VSV
A -- Continue to next step.

13. CHECK FUEL CAP ASSEMBLY
(a) Check that the fuel cap is correctly installed and confirm the fuel cap meets OEM specifications.
(b) Confirm that the fuel cap is tightened until a few click sounds are heard.
HINT: If an EVAP tester is available, check the fuel cap using the tester.

(1) Remove the fuel cap and install it onto a fuel cap adaptor.
(2) Connect an EVAP tester pump hose to the adaptor, and pressurize the cap to 3.2 to 3.7 kPa (24 to 28 mmHg) using an EVAP tester pump.
(3) Seal the adaptor and wait for 2 minutes.
(4) Check the pressure. If the pressure is 2 kPa (15 mmHg) or more, the fuel cap is normal.
(c) Reinstall the fuel cap.
Result:






C -- REPLACE FUEL CAP ASSEMBLY
B -- CORRECTLY REINSTALL OR REPLACE FUEL CAP ASSEMBLY
A -- LOCATE EVAP LEAK PART
14. INSPECT PURGE VSV




(a) Turn the engine switch off.
(b) Disconnect the E18 purge VSV connector.
(c) Disconnect the hose (connected to the canister) from the purge VSV.
(d) Start the engine.
(e) Use your finger to confirm that the purge VSV has no suction.
Result:






B -- REPLACE PURGE VSV
A -- REPLACE ECM
15. CHECK EVAP HOSE (PURGE VSV - INTAKE MANIFOLD)




(a) Disconnect the hose (connected to the intake air surge tank) from the purge VSV.
(b) Start the engine.
(c) Use your finger to confirm that the hose has suction.
Result:






B -- INSPECT INTAKE AIR SURGE TANK (EVAP PURGE PORT)
A -- Continue to next step.

16. INSPECT PURGE VSV




(a) Remove the purge VSV.
(b) Apply the battery voltage to the terminals of the purge VSV.
(c) Using an air gun, confirm that air flows from port A to port B.
Result:





(d) Reinstall the purge VSV.
B -- REPLACE PURGE VSV
A -- Continue to next step.

17. CHECK HARNESS AND CONNECTOR (POWER SOURCE OF PURGE VSV)




(a) Disconnect the E18 purge VSV connector.
(b) Turn the engine switch on (IG).
(c) Measure the voltage between terminal 1 of the purge VSV connector and the body ground.
Result:






B -- REPAIR OR REPLACE HARNESS OR CONNECTOR
A -- Continue to next step.

18. CHECK HARNESS AND CONNECTOR (PURGE VSV - ECM)




(a) Disconnect the E8 ECM connector and the E18 purge VSV connector.
(b) Check the resistance.
Standard resistance (Check for open):






Standard resistance (Check for short):






NG -- REPAIR OR REPLACE HARNESS OR CONNECTOR
OK -- REPLACE ECM
19. PERFORM ACTIVE TEST USING TECHSTREAM (VENT VALVE)




(a) Connect the Techstream to the DLC3.
(b) Turn the engine switch on (IG) and turn the Techstream on.
(c) Select the following menu items: Powertrain / Engine and ECT / Active Test / Activate the VSV for Vent Valve.
(d) Measure the voltage between terminal VPMP of the ECM connector and the body ground when the vent valve is turned ON (close) and OFF (vent) using the Techstream.
Result:






B -- REPLACE ECM
A -- INSPECT CANISTER PUMP MODULE (VENT VALVE OPERATION)
20. PERFORM ACTIVE TEST USING TECHSTREAM (VENT VALVE)




(a) Connect the Techstream to the DLC3.
(b) Turn the engine switch on (IG) and turn the Techstream on.
(c) Select the following menu items: Powertrain / Engine and ECT / Active Test /Activate the VSV for Vent Valve.
(d) Measure the voltage between terminal VPMP of the ECM connector and the body ground when the vent valve is turned ON (close) and OFF (vent) using the Techstream.
Result:






C -- REPLACE ECM
B -- INSPECT CANISTER PUMP MODULE (VENT VALVE OPERATION)
A -- Continue to next step.

21. INSPECT CANISTER PUMP MODULE (POWER SOURCE FOR VENT VALVE)




(a) Turn the engine switch off.
(b) Disconnect the V17 canister pump module connector.
(c) Turn the engine switch on (IG).
(d) Measure the voltage between V17-9 terminal of the canister pump module connector and the body ground.
Result:






B -- REPAIR OR REPLACE HARNESS OR CONNECTOR
A -- Continue to next step.

22. INSPECT CANISTER PUMP MODULE (VENT VALVE OPERATION)




(a) Turn the engine switch off.
(b) Disconnect the V17 canister pump module connector.
(c) Apply the battery voltage to terminals 8 and 9 terminals of the canister pump module.
(d) Touch the canister pump module to confirm the vent valve operation.
Result:






B -- REPLACE CANISTER ASSEMBLY
A -- REPAIR OR REPLACE HARNESS OR CONNECTOR
23. PERFORM ACTIVE TEST USING TECHSTREAM (FOR LEAK DETECTION PUMP)




(a) Connect the Techstream to the DLC3.
(b) Turn the engine switch on (IG) and turn the Techstream on.
(c) Select the following menu items: Powertrain / Engine and ECT / Active Test / Activate the Vacuum Pump.
Measure the voltage between terminal MPMP of the ECM connector and the body ground when the leak detection pump is turned ON and OFF using the Techstream.
Result:






B -- REPLACE ECM
A -- Continue to next step.

24. CHECK HARNESS AND CONNECTOR (CANISTER PUMP MODULE - ECM)




(a) Connect the Techstream to the DLC3.
(b) Turn the engine switch off.
(c) Disconnect the V17 canister pump module connector.
(d) Turn the engine switch on (IG) and turn the Techstream on.
(e) Select the following menu items: Powertrain / Engine and ECT / Active Test / Activate the Vacuum Pump.
(f) Turn the leak detection pump on.
(g) Measure the voltage between V17-1 terminal of the canister pump module connector and the body ground.
Result:






B -- REPAIR OR REPLACE HARNESS OR CONNECTOR
A -- Continue to next step.

25. CHECK HARNESS AND CONNECTOR (CANISTER PUMP MODULE - GROUND)




(a) Disconnect the V17 canister pump module connector.
(b) Turn the engine switch off.
(c) Check the resistance between V17-6 terminal of the canister pump module connector and the body ground.
Result:






B -- REPAIR OR REPLACE HARNESS OR CONNECTOR
A -- REPLACE CANISTER ASSEMBLY
26. INSPECT INTAKE AIR SURGE TANK (EVAP PURGE PORT)
(a) Stop the engine.
(b) Disconnect the EVAP hose from the intake air surge tank.
(c) Start the engine.
(d) Use your finger to confirm that the port of the intake air surge tank has suction.
Result:






B -- INSPECT INTAKE MANIFOLD (EVAP PURGE PORT)
A -- REPLACE EVAP HOSE (INTAKE AIR SURGE TANK - PURGE VSV)
27. CORRECTLY REINSTALL OR REPLACE FUEL CAP ASSEMBLY
HINT:
- When reinstalling the fuel cap, tighten it until a few click sounds are heard.
- When replacing the fuel cap, use a fuel cap that meets OEM specifications, and install it until a few click sounds are heard.

NEXT -- PERFORM EVAPORATIVE SYSTEM CHECK (AUTOMATIC MODE)
28. REPLACE FUEL CAP ASSEMBLY
HINT: When installing the fuel cap, tighten it until a few click sounds are heard.

NEXT -- PERFORM EVAPORATIVE SYSTEM CHECK (AUTOMATIC MODE)
29. LOCATE EVAP LEAK PART




(a) Disconnect the vent hose.
(b) Connect the EVAP pressure tester tool to the canister with the adapter.
(c) Pressurize the EVAP system to 3.2 to 3.7 kPa (24 to 28 mmHg).
(d) Apply soapy water to the piping and connecting parts of the EVAP system.
(e) Look for areas where bubbles appear. This indicates the leak point.
(f) Repair or replace the leak point.
HINT: Disconnect the hose between the canister and the fuel tank from the canister. Block the canister side and conduct an inspection. In this way, the fuel tank can be excluded as an area suspected of causing fuel leaks.

NEXT -- PERFORM EVAPORATIVE SYSTEM CHECK (AUTOMATIC MODE)
30. REPLACE CANISTER ASSEMBLY
(a) Replace the canister assembly Removal.
NOTE:
When replacing the canister, check the canister pump module interior and related pipes for water, fuel and other liquids. If liquids are present, check for disconnections and/or cracks in the following: 1) the pipe from the air inlet port to the canister pump module; 2) the canister filter; and 3) the fuel tank vent hose.





NEXT -- PERFORM EVAPORATIVE SYSTEM CHECK (AUTOMATIC MODE)
31. REPLACE PURGE VSV




(a) Disconnect the connector and the hoses from the purge VSV.
(b) Remove the purge VSV.
(c) Install a new purge VSV.
NEXT -- PERFORM EVAPORATIVE SYSTEM CHECK (AUTOMATIC MODE)
32. REPAIR OR REPLACE HARNESS OR CONNECTOR
NEXT -- PERFORM EVAPORATIVE SYSTEM CHECK (AUTOMATIC MODE)
33. REPLACE EVAP HOSE (INTAKE AIR SURGE TANK - PURGE VSV)
NEXT -- PERFORM EVAPORATIVE SYSTEM CHECK (AUTOMATIC MODE)
34. INSPECT INTAKE MANIFOLD (EVAP PURGE PORT)
(a) Check that the EVAP purge port of the intake air surge tank is not clogged. If necessary, replace the intake air surge tank.
NEXT -- PERFORM EVAPORATIVE SYSTEM CHECK (AUTOMATIC MODE)
35. REPLACE ECM
(a) Replace the ECM Removal.
NEXT -- PERFORM EVAPORATIVE SYSTEM CHECK (AUTOMATIC MODE)
36. REPAIR OR REPLACE PARTS AND COMPONENTS INDICATED BY OUTPUT DTCS
(a) Repair the malfunctioning areas indicated by the DTCs that had been confirmed when the vehicle was brought in.
NEXT -- PERFORM EVAPORATIVE SYSTEM CHECK (AUTOMATIC MODE)
37. PERFORM EVAPORATIVE SYSTEM CHECK (AUTOMATIC MODE)
NOTICE:
- The Evaporative System Check (Automatic Mode) consists of 5 steps performed automatically by the Techstream. It takes a maximum of approximately 18 minutes.
- Do not perform the Evaporative System Check when the fuel tank is more than 90% full because the cut-off valve may be closed, making the fuel tank leak check unavailable.
- Do not run the engine during this operation.
- When the temperature of the fuel is 35°C (95°F) or more, a large amount of vapor forms and any check results become inaccurate. When performing an Evaporative System Check, keep the temperature below 35°C (95°F).
(a) Clear DTCs DTC Check / Clear.
(b) On the Techstream, select following menu items: Powertrain / Engine and ECT / Utility / Evaporative System Check / Automatic Mode.
(c) After the Evaporative System Check is completed, check for pending DTCs by selecting the following menu items: Powertrain / Engine and ECT / Trouble Codes / Pending.
HINT: If no pending DTCs are found, the repair has been successfully completed.

NEXT -- COMPLETED

CONFIRMATION DRIVING PATTERN
HINT: After a repair, check the Monitor Status by performing the Key-Off Monitor Confirmation and Purge Flow Monitor Confirmation described below.

1. Key-off monitor confirmation
(a) Preconditions
The monitor will not run unless:
- The vehicle has been driven for 10 minutes or more (in a city area or on a freeway)
- The fuel tank is less than 90% full
- The altitude is less than 8000 ft (2400 m)
- The Engine Coolant Temperature (ECT) is between 4.4°C and 35°C (40°F and 95°F)
- The Intake Air Temperature (IAT) is between 4.4°C and 35°C (40°F and 95°F)
- The vehicle remains stationary (the vehicle speed is 0 mph [0 km/h])

(b) Monitor Conditions
1 Allow the engine to idle for at least 5 minutes.
2 Turn the engine switch off and wait for 6 hours (8 or 10.5 hours).
HINT: Do not start the engine until checking MONITOR STATUS. If the engine is started, the steps described above must be repeated.

(c) Monitor Status
1 Connect the Techstream to the DLC3.
2 Turn the engine switch on (IG) and turn the Techstream on.
3 Select the following menu items: Powertrain / Engine and ECT / Utility / Monitor.
4 Check the Monitor Status displayed on the tester.
HINT: If Incomplete is displayed, the monitor is not completed. Make sure that the preconditions have been met, and perform the Monitor Conditions again.

2. Purge flow monitor confirmation (P0441)
HINT: Perform this monitor confirmation after the Key-Off Monitor Confirmation shows Complete.

(a) Preconditions
The monitor will not run unless:
- The vehicle has been driven for 10 minutes or more (in a city area or on a freeway)
- The ECT is between 4.4°C and 35°C (40°F and 95°F)
- The IAT is between 4.4°C and 35°C (40°F and 95°F)

(b) Monitor Conditions
1 Release the pressure from the fuel tank by removing and reinstalling the fuel cap.
2 Warm the engine up until the ECT reaches more than 75°C (167°F).
3 Increase the engine speed to 3000 rpm once.
4 Allow the engine to idle and turn A/C ON for 1 minute.

(c) Monitor Status
1 Turn the engine switch off (if on or the engine is running).
2 Connect the Techstream to the DLC3.
3 Turn the engine switch on (IG) and turn the Techstream on.
4 Select the following menu items: Powertrain / Engine and ECT / Utility / Monitor.
5 Check the Monitor Status displayed on the Techstream.
HINT: If Incomplete is displayed, the monitor is not complete. Make sure that the preconditions have been met, and perform the Monitor Conditions again.

MONITOR RESULT

Refer to CHECKING MONITOR STATUS Mode 6 Data.