Curiosii for ever!: Car repair manuals for everyone.

CAN Communication System








CAN COMMUNICATION: CAN COMMUNICATION SYSTEM: TERMINALS OF ECU

TERMINALS OF ECU
NOTE:
This section describes the standard CAN values for all CAN related components.

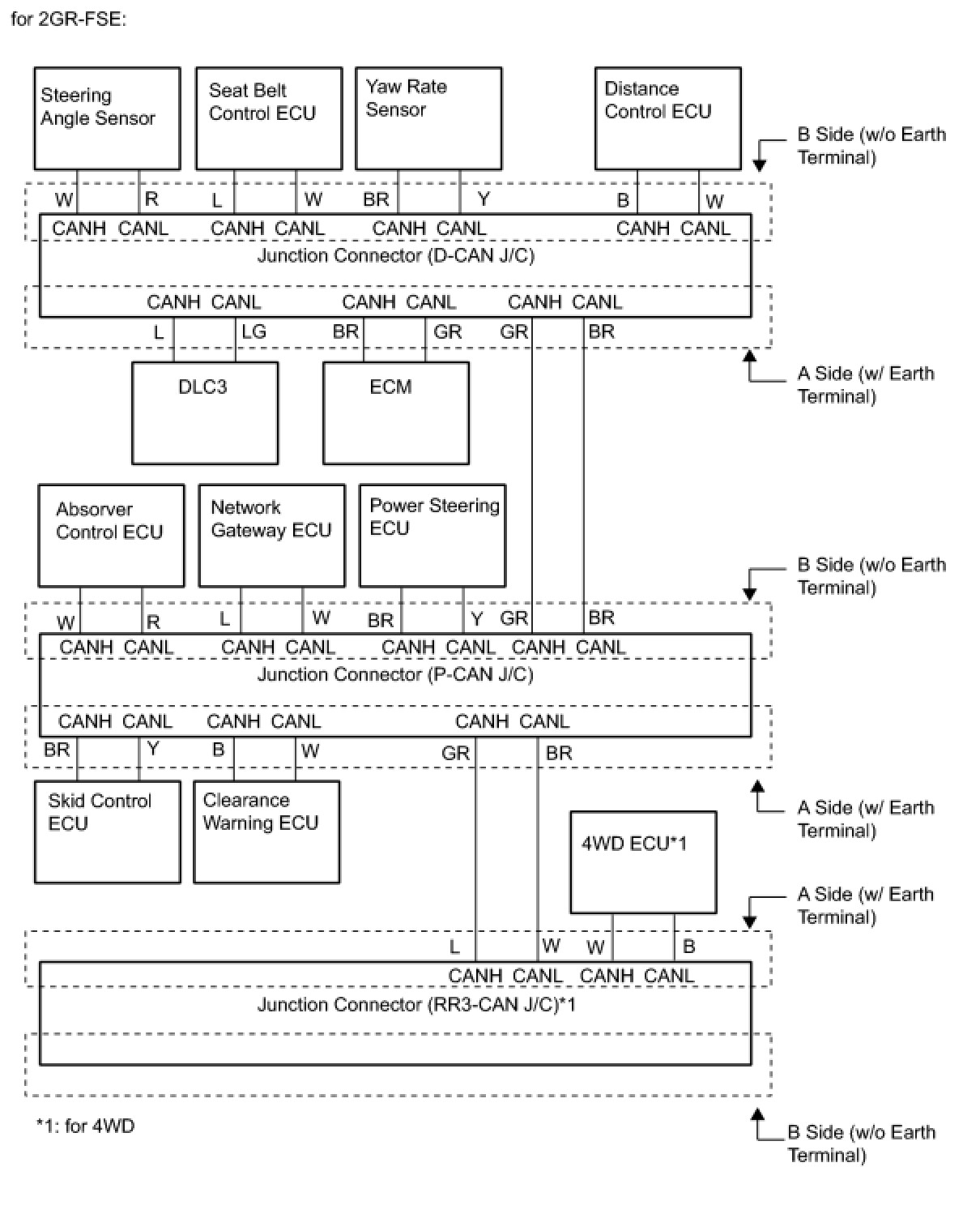
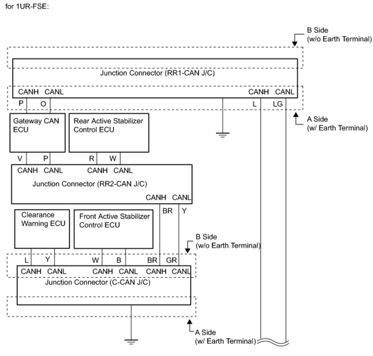
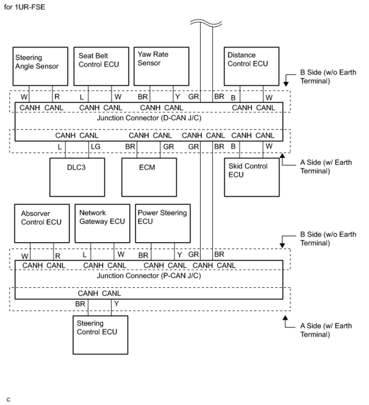
1. JUNCTION CONNECTOR





(a) The terminals on connectors for the CAN J/C.










(b) D-CAN J/C.










- The connectors connected to the CAN J/C can be distinguished by the colors of the bus lines and the connecting side of the connector.
- The connectors can be connected to any terminals on the same side.





(c) P-CAN J/C.










- The connectors connected to the CAN J/C can be distinguished by the colors of the bus lines and the connecting side of the connector.
- The connectors can be connected to any terminals on the same side.





(d) C-CAN J/C (for 1UR-FSE)





- The connectors connected to the CAN J/C can be distinguished by the colors of the bus lines and the connecting side of the connector.
- The connectors can be connected to any terminals on the same side.





(e) RR1-CAN J/C (for 1UR-FSE)





- The connectors connected to the CAN J/C can be distinguished by the colors of the bus lines and the connecting side of the connector.
- The connectors can be connected to any terminals on the same side.

(f) RR2-CAN J/C (for 1UR-FSE)













(g) RR3-CAN J/C (for 4WD)





- The connectors connected to the CAN J/C can be distinguished by the colors of the bus lines and the connecting side of the connector.
- The connectors can be connected to any terminals on the same side.

(h) Wiring diagram for identifying CAN J/C connectors.













2. DLC3





(a) Measure the resistance according to the value(s) in the table below.






3. SKID CONTROL ECU (for 1UR-FSE)





(a) Measure the resistance according to the value(s) in the table below.






4. SKID CONTROL ECU (for 2GR-FSE)





(a) Measure the resistance according to the value(s) in the table below.






5. STEERING ANGLE SENSOR





(a) Measure the resistance according to the value(s) in the table below.






6. YAW RATE SENSOR





(a) Measure the resistance according to the value(s) in the table below.






7. DISTANCE CONTROL ECU (w/ Dynamic radar cruise control system)





(a) Measure the resistance according to the value(s) in the table below.






8. ECM (for 2GR-FSE)





(a) Measure the resistance according to the value(s) in the table below.






9. ECM (for 1UR-FSE)





(a) Measure the resistance according to the value(s) in the table below.






10. SEAT BELT CONTROL ECU (w/ Pre-collision system)





(a) Measure the resistance according to the value(s) in the table below.






11. POWER STEERING ECU





(a) Measure the resistance according to the value(s) in the table below.






12. STEERING CONTROL ECU (for 1UR-FSE)





(a) Measure the resistance according to the value(s) in the table below.






13. CLEARANCE WARNING ECU (w/ Intuitive parking assist system)





(a) Measure the resistance according to the value(s) in the table below.






14. NETWORK GATEWAY ECU





(a) Measure the resistance according to the value(s) in the table below.






15. ABSORBER CONTROL ECU (for 1UR-FSE or 2GR-FSE, w/ Adaptive variable suspension system)





(a) Measure the resistance according to the value(s) in the table below.






16. 4WD ECU (for 4WD)





(a) Measure the resistance according to the value(s) in the table below.






17. GATEWAY CAN ECU (for 1UR-FSE, w/ Active stabilizer suspension system or w/ Intuitive parking assist system)





(a) Measure the resistance according to the value(s) in the table below.






18. FRONT ACTIVE STABILIZER CONTROL ECU (for 1UR-FSE, w/ Active Stabilizer Suspension System)





(a) Measure the resistance according to the value(s) in the table below.






19. REAR ACTIVE STABILIZER CONTROL ECU (for 1UR-FSE, w/ Active Stabilizer Suspension System)





(a) Measure the resistance according to the value(s) in the table below.