Curiosii for ever!: Car repair manuals for everyone.

Cruise Control System









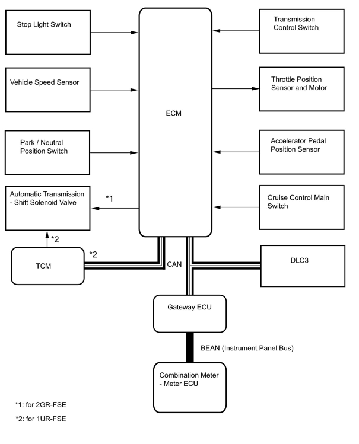
CRUISE CONTROL: CRUISE CONTROL SYSTEM: SYSTEM DIAGRAM

SYSTEM DIAGRAM





Communication Table:





CRUISE CONTROL: CRUISE CONTROL SYSTEM: SYSTEM DESCRIPTION

SYSTEM DESCRIPTION

1. CRUISE CONTROL SYSTEM
This system is controlled by the ECM, and is activated by the throttle position sensor and motor. The ECM controls the following functions: ON-OFF, SET / COAST, RESUME / ACCEL, CANCEL, vehicle speed operation, motor output control, and overdrive control.

- The ECM compares the driving vehicle speed from the speed sensor with the stored vehicle speed set through the cruise control main switch. The ECM controls the throttle valve motor of the throttle position sensor and motor to close the valve when the driving speed is less than the stored speed.
- The ECM receives signals such as ON-OFF, SET / COAST, RESUME / ACCEL, and CANCEL from the cruise control main switch and executes them.
- The ECM illuminates the combination meter's CRUISE main indicator light when it receives the cruise control main switch ON signal.
- The ECM cancels the cruise control system when the brake pedal is depressed and the ECM receives the stop light switch signal.
- The ECM cancels the cruise control system when the shift lever is moved to any position except D or S (6th, 5th, 4th gear), and the ECM receives the PNP switch signal. (for 2GR-FSE)
- The ECM cancels the cruise control system when the shift lever is moved to any position except D or S (8th, 7th, 6th, 5th, 4th gear), and the ECM receives the PNP switch signal. (for 1UR-FSE)

2. LIMIT CONTROL
(a) Low speed limit
The lowest possible limit of the speed setting range is set at approximately 43 km/h (27 mph). The cruise control system cannot be set when the driving vehicle speed is below the low speed limit. Cruise control operation will be automatically canceled and the stored vehicle speed will be erased when the vehicle speed decreases below the low speed limit of 40 km/h (25 mph) while the cruise control is in operation.
(b) High speed limit
The highest possible limit of the speed setting range is set at approximately 200 km/h (125 mph). The cruise control system cannot be set when the driving vehicle speed is over the high speed limit. Also, RESUME / ACCEL cannot be used to increase speed beyond the high speed limit.
3. OPERATION OF CRUISE CONTROL
The cruise control main switch operates 7 functions: SET, COAST, TAP-DOWN, RESUME, ACCEL, TAP-UP, and CANCEL. The SET, TAP-DOWN and COAST functions, and the RESUME, TAP-UP and ACCEL functions are operated with the same switch. The cruise control main switch is an automatic return type switch which turns on only while operating it in each arrow direction and turns off after releasing it.
(a) SET CONTROL
Vehicle speed is stored and constant speed control is maintained when pushing the switch to SET / COAST while driving with the cruise control main switch ON (the CRUISE main indicator light is on), and the vehicle speed is within the set speed range (between the low and high speed limits).
(b) COAST CONTROL
When the cruise control main switch is set to SET / COAST and held in that position while the cruise control system is operating, the ECM sends a "throttle valve opening angle 0°" demand signal to the cruise control system. Then the vehicle speed, when the cruise control main switch is released, is stored and maintained.
HINT: An actual throttle valve opening angle of 0° is not possible due to the idle speed control, etc.

(c) TAP-DOWN CONTROL
When tapping down the cruise control main switch to SET / COAST (for approximately 0.5 second) while the cruise control system is in operation, the stored vehicle speed decreases each time by approximately 1.6 km/h (1.0 mph). When the cruise control main switch is released from SET / COAST and the difference between the driving and stored vehicle speed is more than 5 km/h (3 mph), the vehicle speed is stored and constant speed control is maintained.
(d) ACCELERATION CONTROL
The throttle valve motor of the throttle position sensor and motor is instructed by the ECM to open the throttle valve when RESUME / ACCEL on the cruise control main switch is pressed and held while the cruise control system is in operation. When the cruise control main switch is released from RESUME / ACCEL, the vehicle speed is stored and the vehicle is controlled at a constant speed.
(e) TAP-UP CONTROL
When tapping up the cruise control main switch to RESUME / ACCEL (for approximately 0.5 second) while the cruise control system is in operation, the stored vehicle speed increases each time by approximately 1.6 km/h (1.0 mph). However, when the difference between the driving and the stored vehicle speed is more than 5 km/h (approximately 3.1 mph), the stored vehicle speed will not be changed.
(f) RESUME CONTROL
If cruise control operation was canceled with the stop light switch or the CANCEL switch, and if driving speed is within the limit range, pushing the cruise control main switch to RESUME / ACCEL restores vehicle speed memorized at the time of cancellation, and maintains constant speed control.
(g) MANUAL CANCEL CONTROL
Performing any of the following cancels the cruise control system while in operation (the stored vehicle speed in the ECM is maintained).
- Depressing the brake pedal
- Moving the shift lever to any position except D or S (6th, 5th, and 4th gear) (for 2GR-FSE)
- Moving the shift lever to any position except D or S (8th, 7th, 6th, 5th, and 4th gear) (for 1UR-FSE)
- Pushing the cruise control main switch to CANCEL
- Turning the cruise control main switch OFF (the stored vehicle speed in the ECM is not maintained).

4. AUTO CANCEL (FAIL-SAFE)
This system has an automatic cancellation function (fail-safe) Fail-Safe Chart.