Curiosii for ever!: Car repair manuals for everyone.

Driver Side Door Entry Unlock Function does not Operate








DOOR LOCK: SMART ACCESS SYSTEM WITH PUSH-BUTTON START: Driver Side Door Entry Unlock Function does not Operate

Driver Side Door Entry Unlock Function does not Operate

DESCRIPTION

When an ID code from the door electrical key oscillator front LH matches an ID code from the key, the multiplex network door ECU front LH (driver door ECU) outputs a SEL signal (Lo when output) to the door electrical key oscillator front LH, activates the touch sensor inside the outside door handle, and enters unlock standby mode. When the touch sensor is touched, the door electrical key oscillator front LH sends a SENS signal (Lo when output) to the multiplex network door ECU front LH (driver door ECU) and the multiplex network door ECU front LH (drive door ECU) sends an unlock signal to the driver side door lock.

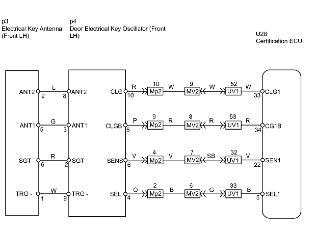
WIRING DIAGRAM





INSPECTION PROCEDURE

PROCEDURE

1. CHECK MANUAL DOOR UNLOCK OPERATION
(a) Check that the manual door unlock function operates normally.
OK:
Manual door unlock function operates normally.
NG -- GO TO POWER DOOR LOCK CONTROL SYSTEM
OK -- Continue to next step.

2. READ VALUE USING TECHSTREAM (DOOR COURTESY LIGHT SWITCH)
(a) Check the DATA LIST for proper functioning of the driver side door courtesy light switch.

Multiplex Network Body ECU





OK:
ON (door courtesy light switch is pushed) appears on the screen.
NG -- GO TO LIGHTING SYSTEM
OK -- Continue to next step.

3. READ VALUE USING TECHSTREAM (LOCK POSITION SWITCH)
(a) Check the DATA LIST for proper functioning of the door lock position switch.

Multiplex Network Master Switch Assembly:





OK:
ON (door is unlocked) appears on the screen.
NG -- GO TO POWER DOOR LOCK CONTROL SYSTEM
OK -- Continue to next step.

4. PERFORM ACTIVE TEST USING TECHSTREAM (DRIVER SIDE SELECT)
(a) Select the ACTIVE TEST, use the Techstream to generate a control command, and then check that the oscillator operates.

Certification ECU:





OK:
ON (D SELECT SIG is on) appears on the screen.
NG -- REPLACE CERTIFICATION ECU ASSEMBLY
OK -- Continue to next step.

5. READ VALUE USING TECHSTREAM (DRIVER SIDE TOUCH SENSOR)
(a) With ''D-Seat Select'' ON, check the DATA LIST for proper functioning of the touch sensor.

Certification ECU:





OK:
When driver side is selected ON, ON (Sensor is touched) appears on the screen.
NG -- CHECK DOOR ELECTRICAL KEY OSCILLATOR FRONT LH
OK -- Continue to next step.

6. CHECK OPERATION OF MULTIPLEX NETWORK MASTER SWITCH ASSEMBLY
(a) After replacing the multiplex network master switch assembly with a normal one, check that the entry unlock function operates normally.
OK:
Entry unlock function operates normally.
NG -- REPLACE CERTIFICATION ECU ASSEMBLY
OK -- END (MULTIPLEX NETWORK MASTER SWITCH ASSEMBLY IS DEFECTIVE)
7. CHECK DOOR ELECTRICAL KEY OSCILLATOR FRONT LH




(a) Measure the voltage of the oscillator connector.
Standard voltage:






OK -- REPLACE CERTIFICATION ECU ASSEMBLY
NG -- Continue to next step.

8. CHECK WIRE HARNESS (OSCILLATOR - ANTENNA)




(a) Disconnect the p4 oscillator connector.
(b) Disconnect the p3 antenna connector.
(c) Measure the resistance of the wire harness side connectors.
Standard resistance:






NG -- REPAIR OR REPLACE HARNESS AND CONNECTOR
OK -- Continue to next step.

9. CHECK WIRE HARNESS (ECU - OSCILLATOR)




(a) Disconnect the U28 ECU connector.
(b) Disconnect the p4 oscillator connector.
(c) Measure the resistance of the wire harness connectors.
Standard resistance:






NG -- REPAIR OR REPLACE HARNESS AND CONNECTOR
OK -- REPLACE ELECTRICAL KEY OSCILLATOR FRONT LH