Curiosii for ever!: Car repair manuals for everyone.

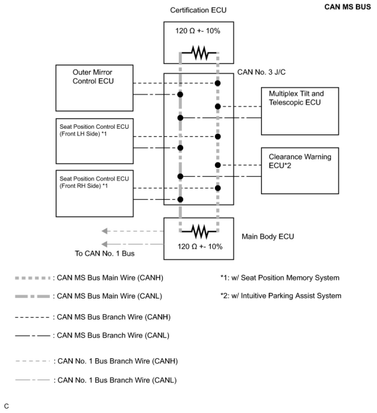
System Diagram








CAN COMMUNICATION SYSTEM: SYSTEM DIAGRAM

SYSTEM DIAGRAM












HINT:
- The skid control ECU detects and stores steering angle sensor and yaw rate sensor DTCs and performs DTC communication by receiving information from the steering angle sensor and yaw rate sensor.
- The ECM uses the CAN communication system to perform DTC communication instead of the conventional line (SIL).