Curiosii for ever!: Car repair manuals for everyone.

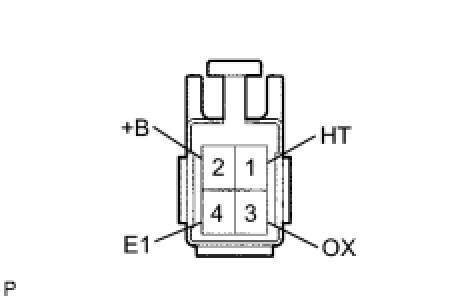
Heated Oxygen Sensor (For Sensor 2)








3UZ-FE EMISSION CONTROL: HEATED OXYGEN SENSOR (for Sensor 2):

INSPECTION

1. INSPECT HEATED OXYGEN SENSOR






(a) Measure the resistance of the sensor.
Standard resistance:





If the resistance is not as specified, replace the sensor.