Curiosii for ever!: Car repair manuals for everyone.

Circuit Opening Relay








3UZ-FE ENGINE CONTROL SYSTEM: CIRCUIT OPENING RELAY:

ON-VEHICLE INSPECTION

1. DISCONNECT CABLE FROM NEGATIVE BATTERY TERMINAL
CAUTION: Wait at least 90 seconds after disconnecting the cable from the negative (-) battery terminal to prevent airbag and seat belt pretensioner activation.

2. REMOVE CIRCUIT OPENING RELAY (Marking: C/OPN)
(a) Remove the engine room No. 2 relay block cover.
(b) Remove the circuit opening relay from the engine room No. 2 relay block.
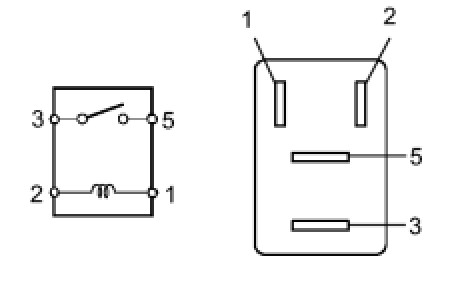
3. INSPECT CIRCUIT OPENING RELAY






(a) Measure the resistance of the circuit opening relay.
Standard resistance:





If the result is not as specified, replace the relay.
4. INSTALL CIRCUIT OPENING RELAY
5. CONNECT CABLE TO NEGATIVE BATTERY TERMINAL
6. PERFORM INITIALIZATION
(a) Perform initialization Repair Instruction - Initialization.
NOTE: Certain systems need to be initialized after disconnecting and reconnecting the cable from the negative (-) battery terminal.