Curiosii for ever!: Car repair manuals for everyone.

Translate ECU Communication Stop Mode








CAN COMMUNICATION SYSTEM: Translate ECU Communication Stop Mode

Translate ECU Communication Stop Mode

DESCRIPTION





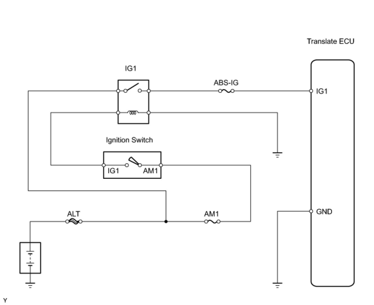
WIRING DIAGRAM





INSPECTION PROCEDURE

PROCEDURE

1. CHECK WIRE HARNESS (TRANSLATE ECU - BATTERY AND BODY GROUND)





(a) Disconnect the T28 translate ECU connector.
(b) Measure the resistance of the wire harness side connector.
Standard resistance:





(c) Measure the voltage of the wire harness side connector.
Standard voltage:






NG -- REPAIR OR REPLACE HARNESS AND CONNECTOR
OK -- REPLACE TRANSLATE ECU