Curiosii for ever!: Car repair manuals for everyone.

Gateway ECU Communication Stop Mode








CAN COMMUNICATION SYSTEM: Gateway ECU Communication Stop Mode

Gateway ECU Communication Stop Mode

DESCRIPTION





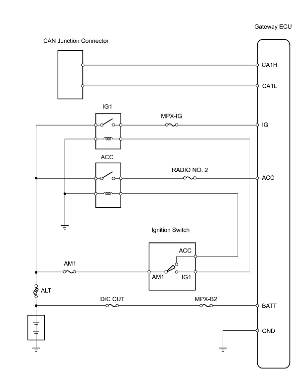
WIRING DIAGRAM





INSPECTION PROCEDURE

PROCEDURE

1. CHECK CAN BUS LINE FOR DISCONNECTION





(a) Disconnect the G3 gateway ECU connector.
(b) Measure the resistance of the wire harness side connector.
Standard resistance:






NG -- REPAIR OR REPLACE GATEWAY ECU SUB BUS LINE AND CONNECTOR
OK -- Continue to next step.
2. CHECK WIRE HARNESS (GATEWAY ECU - BATTERY AND BODY GROUND)





(a) Disconnect the G3 gateway ECU connector.
(b) Measure the resistance of the wire harness side connector.
Standard resistance:





(c) Measure the voltage of the wire harness side connector.
Standard voltage:






NG -- REPAIR OR REPLACE HARNESS AND CONNECTOR
OK -- REPLACE GATEWAY ECU