Curiosii for ever!: Car repair manuals for everyone.

Multiplex Communication System









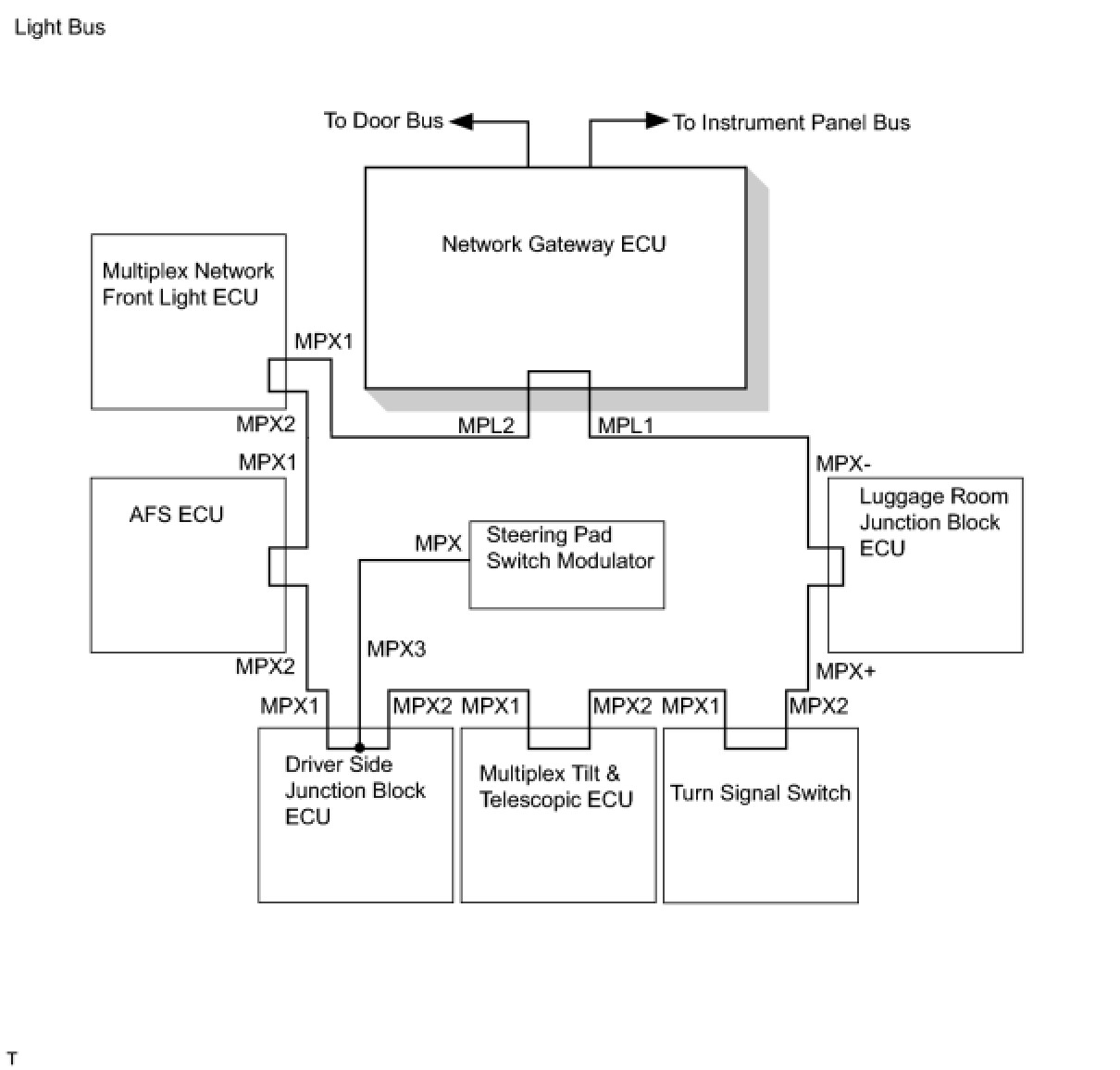
MULTIPLEX COMMUNICATION SYSTEM:

SYSTEM DIAGRAM





HINT: *1: Optional ECUs are also included.
*2: A group of data that is required for a single instance of communication.
*3: A unit of data transmission per second (bits per second).

























SYSTEM DESCRIPTION

1. MULTIPLEX COMMUNICATION SYSTEM BASICS
(a) The Multiplex Communication System (MPX) uses serial communication, which converts multiple pieces of information into serial communication data. As a result, they can be transmitted through a single communication wire.





(b) Serial communication data consists of bits and frames. A bit is a basic unit of information represented by the binary values "0" and "1". The amount of information is represented by the number of bits. A frame is a group of bits. A frame contains a "header" that indicates the beginning of the frame and an "end message" that indicates the end of the frame.





(c) Based on serial communication, various ECUs are connected on a network to exchange multiple pieces of information. Such a system is called a Multiplex Communication System (MPX).





(1) The BEAN uses a ring and bus style of network to connect ECUs. This style of communication method is called a daisy chain. In a daisy chain, communication can be maintained even if the network has an open circuit.





(2) CAN communication uses the bus style network to connect ECUs. This network consists of a main bus line (comprising junction connectors) and a sub bus line (comprising ECUs that are connected to the main bus line). This style enables communication among all the connected ECUs.
(3) Centered on the multi-display or audio head unit as a master ECU.
(d) Difference of CAN, BEAN and AVC-LAN
(1) The CAN, BEAN and AVC-LAN protocols have set guidelines for data. The guidelines include communication speed, type of communication wire, drive type and data length. These guidelines are established to facilitate ECU data communication.





HINT:
- *: The abbreviation "bps" stands for "bits per second".
- The CAN is comprised of 2 junction connectors that are connected to the main bus line. The junction connectors are also connected to sub bus lines.
(2) A single, Automobile Vinyl (AV) wire is used for BEAN communication. A twisted-pair wire is used for CAN and AVC-LAN communication.






2. NETWORK GATEWAY ECU
The network gateway ECU has the following functions.