Curiosii for ever!: Car repair manuals for everyone.

Crankshaft Position Sensor: Testing and Inspection








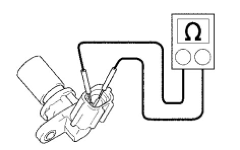
3UZ-FE ENGINE CONTROL SYSTEM: CRANKSHAFT POSITION SENSOR:

INSPECTION

1. INSPECT CRANKSHAFT POSITION SENSOR






(a) Measure the resistance between the terminals.
Standard resistance:





NOTE: In this table above, the terms "cold" and "hot" refer to the temperature of the coils. "Cold" means approximately -10 to 50°C (14 to 122°F). "Hot" means approximately 50 to 100°C (122 to 212°F).
If the resistance is not as specified, replace the sensor.