Curiosii for ever!: Car repair manuals for everyone.

Radiator Cooling Fan Control Module: Testing and Inspection








1UR-FSE COOLING: COOLING FAN ECU: ON-VEHICLE INSPECTION

ON-VEHICLE INSPECTION

1. CHECK COOLING FAN ECU
(a) Remove the front controller's cover.






(b) Using 2 screwdrivers, detach the 2 claws and disconnect the front controller.
HINT: Tape the screwdriver tips before use.

(c) Check the resistance of the wire harness between the front controller B14-22 (FAN1) and cooling fan ECU A9-2 (S1).





Standard resistance:





If the result is not as specified, repair or replace the wire harness or connector.
(d) Check the output signal from the front controller.
HINT: Be sure to perform the inspection when the engine coolant temperature is less than 92°C (198°F).
(1) Set the oscilloscope probe to the terminal B14-22 (FAN1) of the front controller.





(2) Connect the Techstream to the DLC3.
(3) Turn the tester ON, check the waveform.
HINT: Enter the following menus: Powertrain / Engine / Active Test / Control the Electric Cooling Fan





Standard waveform:






If the output signal is abnormal, there is a malfunction in the ECM or front controller.






(e) Check the input voltage.
(1) Disconnect the cooling fan ECU connector.
(2) Turn the engine switch on (IG). Check the voltage of the A9-3 (+B1) terminal on the wire harness side.
Standard voltage:
11 to 14 V
If the result is not as specified, check the power source system (H-fuse, fuse, wire harness and relay).
(3) Connect the cooling fan ECU connector.
(f) Check wire harness (Cooling fan ECU and body ground).
(1) Disconnect the cooling fan ECU connector.
(2) Measure the resistance of the A9-1 (E1) and body ground.
Standard resistance:
Below 1 Ohms
If the result is not as specified, check the wire harness or connector.
(3) Connect the cooling fan ECU connector.
(g) Check the cooling fan motor Testing and Inspection.
If the result is not as specified, replace the cooling fan motor.






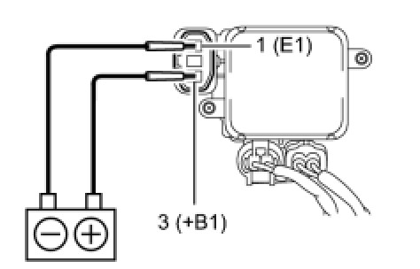
(h) Check the cooling fan motor operation.
(1) Disconnect the cooling fan ECU connector.
(2) Connect the battery to the cooling fan ECU at terminals 3 (+B1) and 1 (E1).
(3) Check that the cooling fan motor rotates.
If it does not operate, replace the cooling fan ECU.