Curiosii for ever!: Car repair manuals for everyone.

Rain Sensor LIN Communication Malfunction








MULTIPLEX COMMUNICATION: LIN COMMUNICATION SYSTEM: Rain Sensor LIN Communication Malfunction

Rain Sensor LIN Communication Malfunction

DESCRIPTION

The LIN communication of the components related to the rain sensor occurs between the rain sensor and front light ECU (front controller).

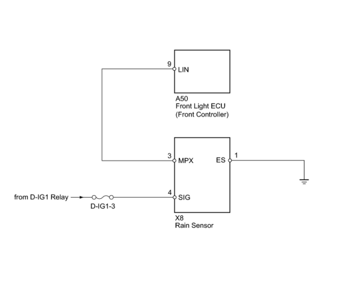
WIRING DIAGRAM





INSPECTION PROCEDURE
NOTE: When using the Techstream with the engine switch off to troubleshoot:

Connect the Techstream to the vehicle, and turn a courtesy switch on and off at 1.5 second intervals until communication between the Techstream and vehicle begins.

PROCEDURE

1. READ VALUE USING TECHSTREAM (LIN COMMUNICATION)
(a) Using the Techstream, read the "Data List".

Body No.5:





OK:
Techstream displays "With" and "OK".
NG -- CHECK HARNESS AND CONNECTOR (FRONT LIGHT ECU - RAIN SENSOR)
OK -- USE SIMULATION METHOD TO CHECK
2. CHECK HARNESS AND CONNECTOR (FRONT LIGHT ECU - RAIN SENSOR)





(a) Disconnect the A50 ECU connector.
(b) Disconnect the X8 sensor connector.
(c) Measure the resistance and voltage according to the value(s) in the table below.
Standard resistance:






Standard voltage:






NG -- REPAIR OR REPLACE HARNESS OR CONNECTOR
OK -- CHECK RAIN SENSOR (BATTERY VOLTAGE AND GROUND)
3. CHECK RAIN SENSOR (BATTERY VOLTAGE AND GROUND)





(a) Disconnect the X8 sensor connector.
(b) Measure the resistance and voltage according to the value(s) in the table below.
Standard resistance:






Standard voltage:






NG -- REPAIR OR REPLACE HARNESS OR CONNECTOR
OK -- Continue to next step.
4. REPLACE RAIN SENSOR
(a) Temporarily replace the rain sensor with a new or normally functioning one Removal.
NEXT -- Continue to next step.
5. READ VALUE USING TECHSTREAM (LIN COMMUNICATION)
(a) Using the Techstream, read the "Data List".

Body No.5:





OK:
Techstream displays "With" and "OK".
NG -- REPLACE FRONT LIGHT ECU (FRONT CONTROLLER)
OK -- END (RAIN SENSOR IS DEFECTIVE)