Curiosii for ever!: Car repair manuals for everyone.

System Specifications

CYLINDER HEAD ASSEMBLY

Standard warpage:





Maximum warpage:





CYLINDER HEAD SET BOLT
Standard outside diameter: 10.85 to 11.00 mm (0.4272 to 0.4331 in.)
Minimum outside diameter: 10.70 mm (0.4213 in.)
Measuring Point: 100 mm (3.94 in.)

CYLINDER HEAD SUB-ASSEMBLY RH

Step 1





Using a 10 mm bi-hexagon wrench, install and uniformly tighten the 8 cylinder head bolts with the plate washers in several steps in the sequence shown in the illustration.
Torque: 36 Nm (367 kgf-cm, 27 ft-lbf)





Step 2
Mark the cylinder head bolt head with paint as shown in the illustration.
Tighten the cylinder head bolts another 90°.

Step 3
Tighten the cylinder head bolts by an additional 90°.
Check that the painted mark is now facing rearward.

CYLINDER HEAD SUB-ASSEMBLY LH

Step 1





Using a 10 mm bi-hexagon wrench, install and uniformly tighten the 8 cylinder head bolts with the plate washers in several steps in the sequence shown in the illustration.
Torque: 36 Nm (367 kgf-cm, 27 ft-lbf)





Step 2
Mark the cylinder head bolt head with paint as shown in the illustration.
Tighten the cylinder head bolts by 90°.

Step 3
Tighten the cylinder head bolts by an additional 90°.
Check that the painted mark is now facing rearward.





Tighten the 2 bolts in the order shown in the illustration.
Torque: 30 Nm (306 kgf-cm, 22 ft-lbf)

INTAKE MANIFOLD





Torque: 21 Nm (214 kgf-cm, 15 ft-lbf)

CAMSHAFT TIMING GEAR ASSEMBLY

Torque: 100 Nm (1,020 kgf-cm, 74 ft-lbf)

EXHAUST MANIFOLD SUB-ASSEMBLY








Torque: 21 Nm (214 kgf-cm, 15 ft-lbf)

CAMSHAFT BEARING CAP (for Bank 1)





Temporarily tighten the 9 bolts in the order shown in the illustration.
Torque: 10 Nm (102 kgf-cm, 7 ft-lbf)

CAMSHAFT HOUSING SUB-ASSEMBLY RH





Install the camshaft housing RH and tighten the 14 bolts in the order shown in the illustration.
Torque: 28 Nm (286 kgf-cm, 21 ft-lbf)
- When installing the camshaft housing RH, it is necessary to correctly position the camshafts as shown in the illustration. Failure to correctly position these parts may result in damage due to contact between the pistons and valves. If a camshaft is rotated with a piston at TDC, valve contact will occur.
- If any of the bolts are loosened during installation, remove the camshaft housing, clean the installation surfaces, and reapply seal packing.
- If the camshaft housing is removed because any of the bolts are loosened during installation, make sure that the previously applied seal packing does not enter any oil passages.





Tighten the 9 bolts in the order shown in the illustration.
Torque: 16 Nm (163 kgf-cm, 12 ft-lbf)

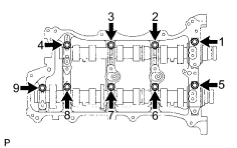
CAMSHAFT BEARING CAP (for Bank 2)





Temporarily tighten the 8 bolts in the order shown in the illustration.
Torque: 10 Nm (102 kgf-cm, 7 ft-lbf)

CAMSHAFT HOUSING SUB-ASSEMBLY LH





Install the camshaft housing LH and tighten the 13 bolts in the order shown in the illustration.
Torque: 28 Nm (286 kgf-cm, 21 ft-lbf)
- When installing the camshaft housing LH, it is necessary to correctly position the camshafts as shown in the illustration. Failure to correctly position these parts may result in damage due to contact between the pistons and valves. If a camshaft is rotated with a piston at TDC, valve contact will occur.
- If any of the bolts are loosened during installation, remove the camshaft housing, clean the installation surfaces, and reapply seal packing.
- If the camshaft housing is removed because any of the bolts are loosened during installation, make sure that the previously applied seal packing does not enter any oil passages.





Tighten the 8 bolts in the order shown in the illustration.
Torque: 16 Nm (163 kgf-cm, 12 ft-lbf)