Curiosii for ever!: Car repair manuals for everyone.

Entry Lock Switch Circuit








DOOR LOCK: SMART ACCESS SYSTEM WITH PUSH-BUTTON START: Entry Lock Switch Circuit

Entry Lock Switch Circuit

DESCRIPTION

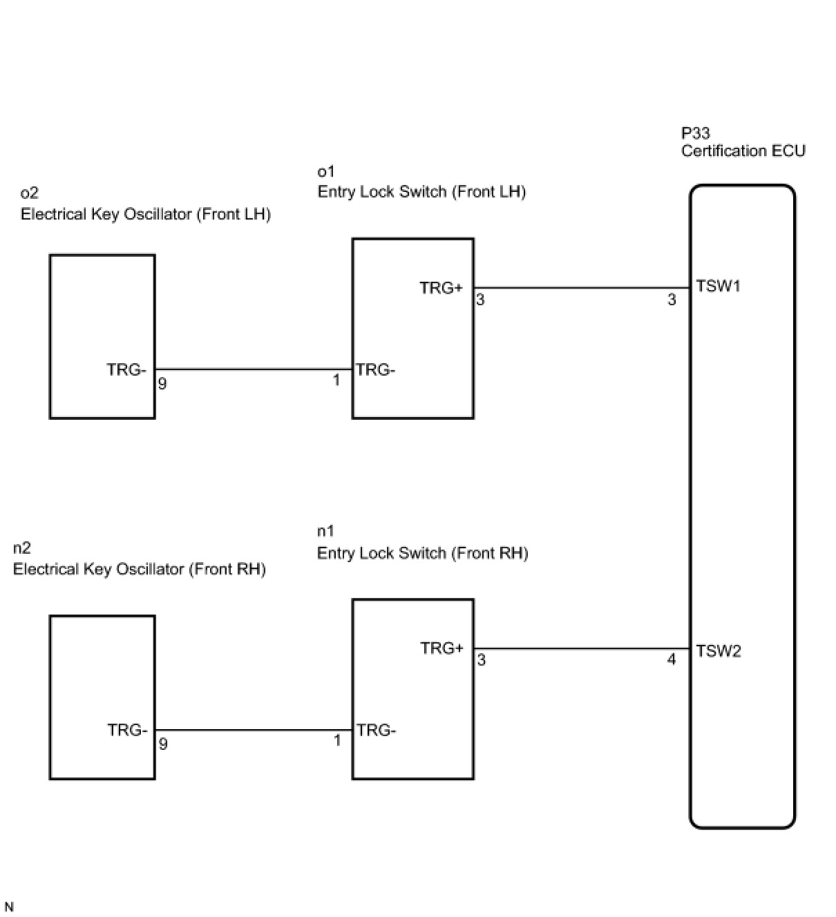
The entry lock switches (trigger switch) are built into the outside handles of the LH/RH door. The certification ECU detects the conditions of the each lock switch.

WIRING DIAGRAM





INSPECTION PROCEDURE

PROCEDURE

1. INSPECT ENTRY LOCK SWITCH





(a) Remove the outside handle.
(b) Disconnect the connectors.
(c) Measure the resistance according to the value(s) in the table below.
Standard resistance:






NG -- REPLACE OUTSIDE HANDLE ASSEMBLY
OK -- Continue to next step.
2. CHECK HARNESS AND CONNECTOR (CERTIFICATION ECU - ENTRY LOCK SWITCH)





(a) Disconnect the P33 ECU connector.
(b) Measure the resistance according to the value(s) in the table below.
Standard resistance:






NG -- REPAIR OR REPLACE HARNESS OR CONNECTOR
OK -- Continue to next step.
3. CHECK HARNESS AND CONNECTOR (ELECTRICAL KEY OSCILLATOR - ENTRY LOCK SWITCH)





(a) Disconnect the door oscillator connector.
(b) Measure the resistance according to the value(s) in the table below.
Standard resistance:






NG -- REPAIR OR REPLACE HARNESS OR CONNECTOR
OK -- Continue to next step.
4. CHECK AND REPLACE ELECTRICAL KEY OSCILLATOR
(a) Replace the electrical key oscillator.
(b) Check that the entry LOCK/UNLOCK function operates normally.
OK:
Entry LOCK/UNLOCK function operates normally.
NG -- PROCEED TO NEXT CIRCUIT INSPECTION SHOWN IN PROBLEM SYMPTOMS TABLE
OK -- END (ELECTRICAL KEY OSCILLATOR IS DEFECTIVE)