Disassembly
AIR CONDITIONING: INTEGRATION CONTROL AND PANEL:
DISASSEMBLY
1. REMOVE CENTER INSTRUMENT CLUSTER FINISH PANEL
(a) Remove the 6 screws.
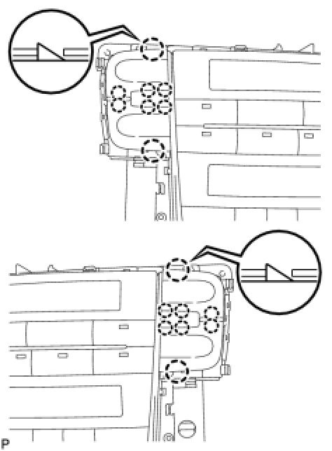
(b) Disengage the 5 claws, and remove the center instrument cluster finish panel.
2. REMOVE NO. 1 CONTROL KNOB SUB-ASSEMBLY
(a) Disengage the 16 claws, and remove the No. 1 control knob sub-assembly.