Curiosii for ever!: Car repair manuals for everyone.

Radiator Cooling Fan Control Module: Testing and Inspection









1UR-FSE COOLING: COOLING FAN ECU: ON-VEHICLE INSPECTION

1. CHECK COOLING FAN ECU






(a) Measure the resistance on the wire harness side according to the value(s) in the table below.
Standard resistance:





If the result is not as specified, repair or replace the wire harness or connector.
(b) Check the input signal and output current.
HINT:
Be sure to perform the inspection with the engine coolant temperature less than 92°C (198°F).
(1) Connect the 400 A probe of an ammeter to the cooling fan motor (M+), and then No. 2 cooling fan motor (S+) on the wire harness side.
(2) Connect the Techstream to the DLC3.
(3) Using the Techstream, check the waveform between terminals A66-19 (RFC) and E74-1 (E1) of the ECM.
HINT:
Enter the following menus: Powertrain / Engine / Active Test / Control the Electric Cooling Fan.





Standard waveform:






- If the input signal is abnormal, there is a malfunction in the ECM or cooling fan ECU.
- If the output current is abnormal even when the input signal is normal, there is a malfunction in the cooling fan ECU (S1), cooling fan motor or power source circuit.





(c) Check the input voltage.
(1) Disconnect the cooling fan ECU connector.
(2) Turn the engine switch on (IG). Measure the voltage of the B14-3 (+B1) terminal on the wire harness side.
Standard voltage:
11 to 14 V
If the result is not as specified, check the power source system (H-fuse, fuse, wire harness and relay).
(3) Connect the cooling fan ECU connector.
(d) Check the wire harness (Cooling fan ECU and body ground).
(1) Disconnect the cooling fan ECU connector.
(2) Measure the resistance of the B14-1 (E1) terminal and body ground.
Standard resistance:
Below 1 Ohms
If the result is not as specified, check the wire harness or connector.
(3) Connect the cooling fan ECU connector.
(e) Check the cooling fan motor Testing and Inspection.
If the result is not as specified, replace the cooling fan motor.






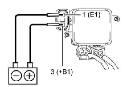
(f) Check the cooling fan motor operation.
(1) Disconnect the cooling fan ECU connector.
(2) Connect the battery to the cooling fan ECU at terminals 3 (+B1) and 1 (E1).
(3) Check that the cooling fan motor rotates.
If it does not rotate, replace the cooling fan ECU.