Curiosii for ever!: Car repair manuals for everyone.

Fuse Block

Center J/B LH - Upper The Glove Box:



Center J/B RH - Upper The Glove Box:



Cowl Side J/B LH - Cowl Side Left:



Cowl Side J/B LH - Cowl Side Left:



Cowl Side J/B RH - Cowl Side Right:



Cowl Side J/B RH - Cowl Side:



Engine Room R/B No.1/ Engine Room J/B No.1 - Near The Battery:



Engine Room R/B No.2 / Engine Room J/B No.2 - Engine Compartment Left:



Fusible Link Block / Luggage Room Center:



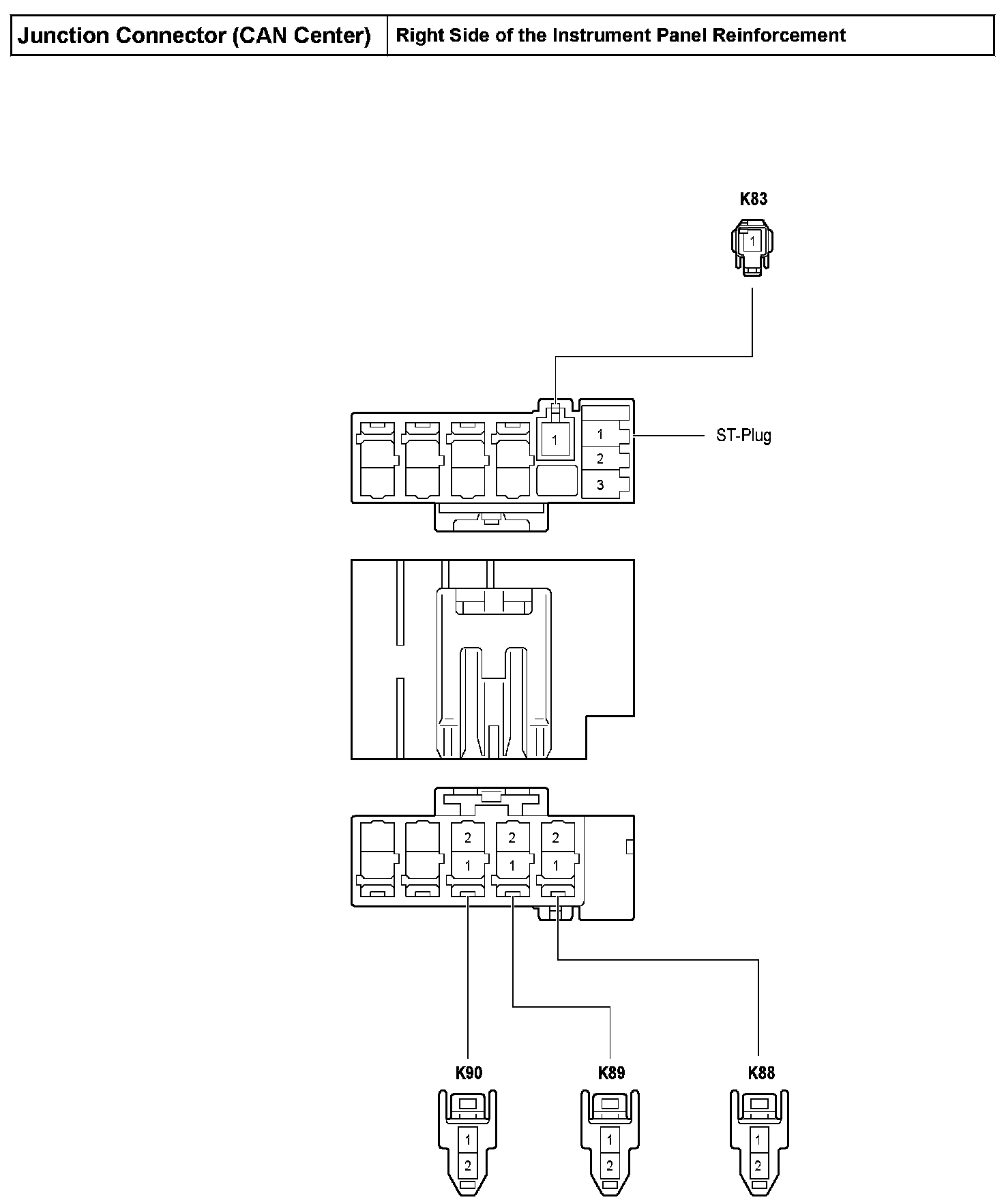
Junction Connector (CAN Center) - Right Side Of The Instrument Panel Reinforcement:



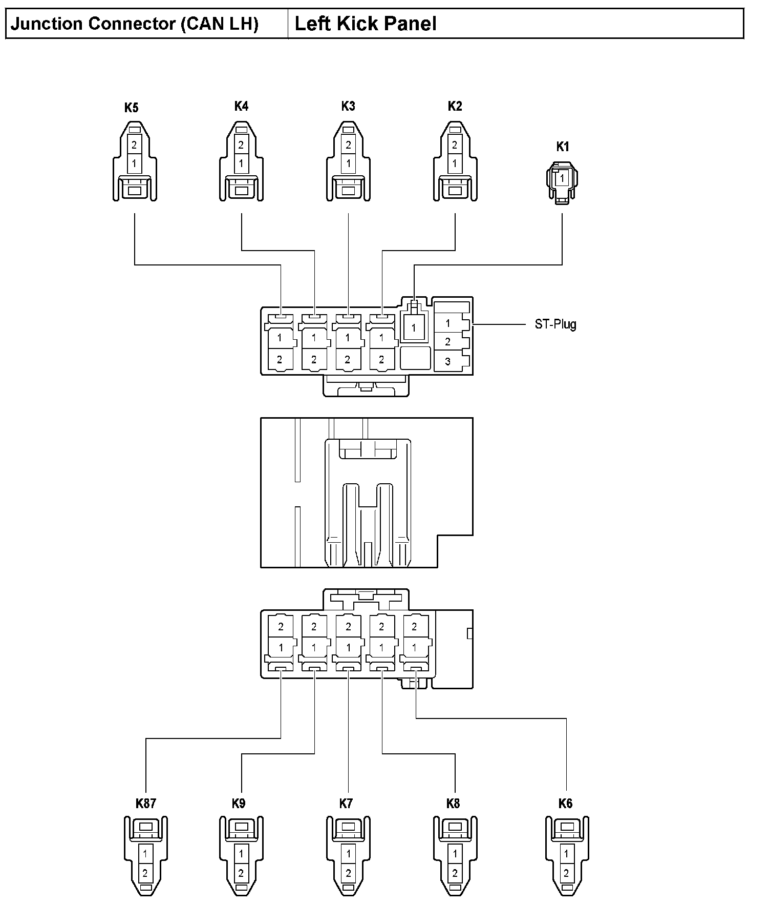
Junction Connector (CAN LH) - Left Kick Panel:



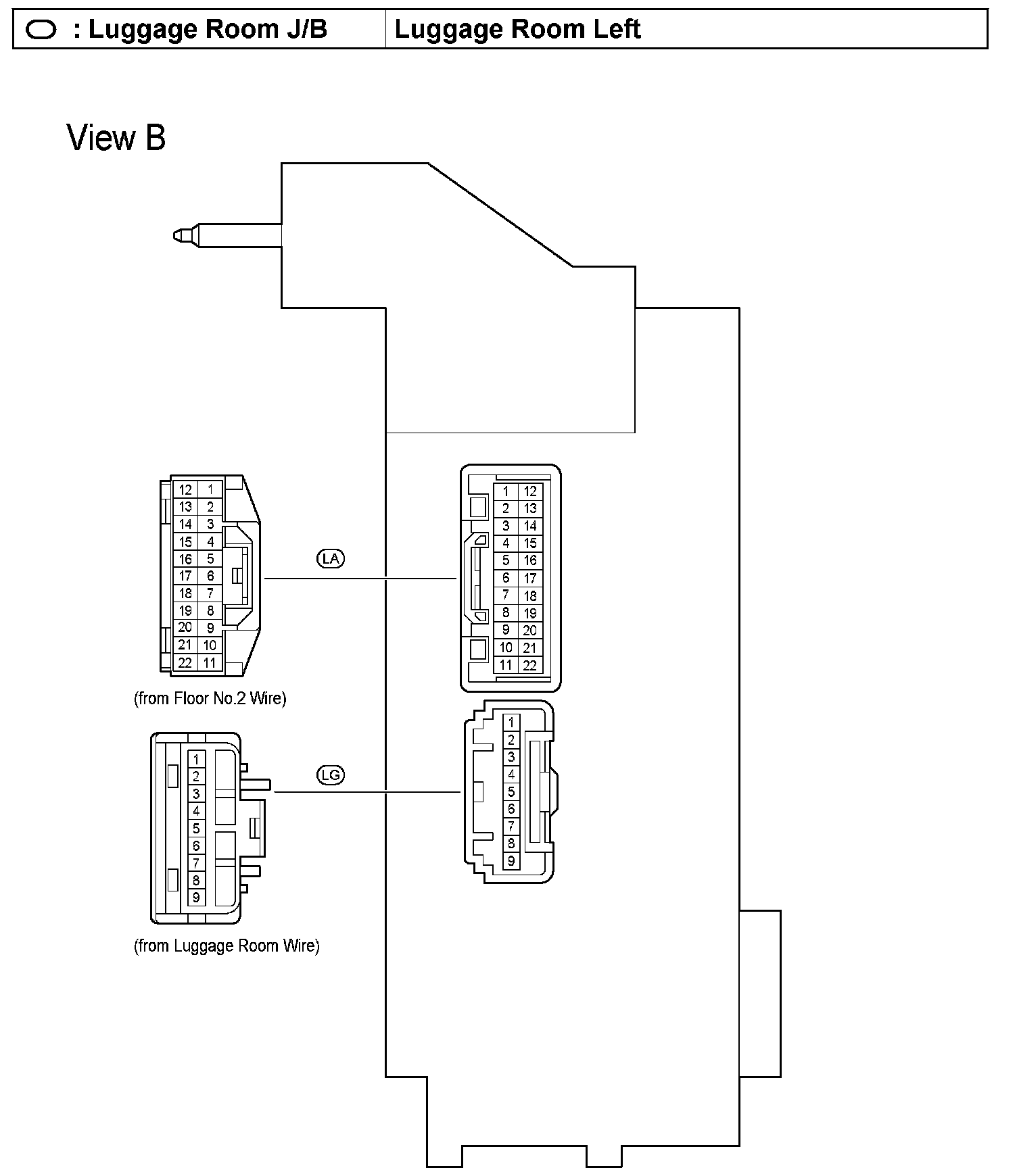
Junction Connector (CAN Luggage LH) - Luggage Room Left:



Junction Connector (CAN Luggage RH) - Luggage Room Right:



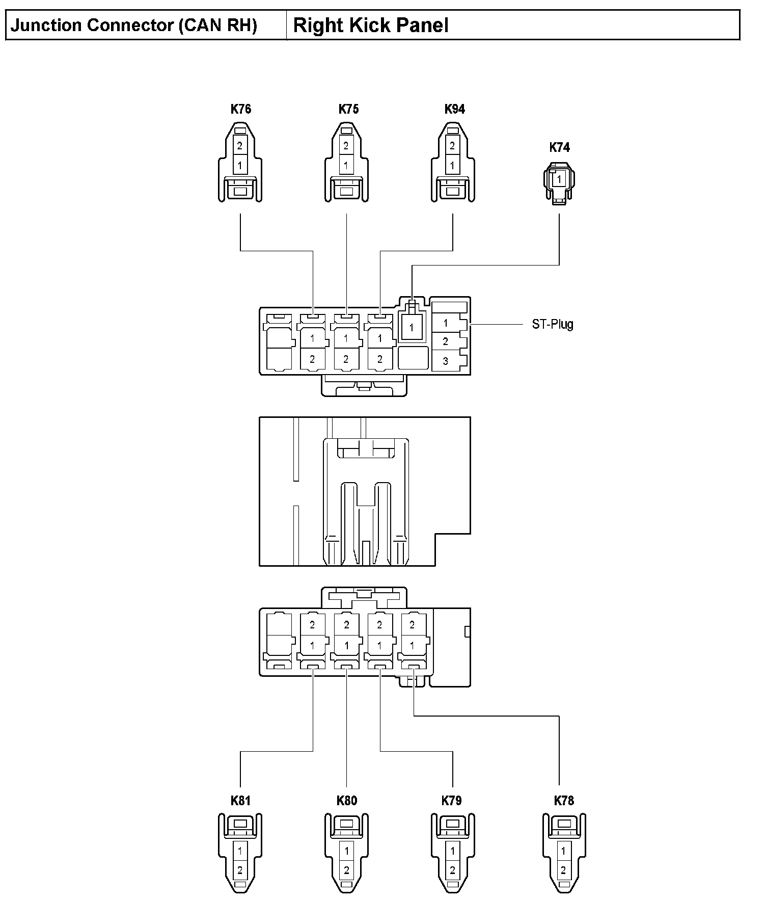
Junction Connector (CAN RH) - Right Kick Panel:



Luggage Room J/B - Luggage Room Left:



Luggage Room L/B - Luggage Room Left:



Luggage Room J/B - Luggage Room Left:



W6 (Overhead J/B):



W8 (Overhead J/B):