Curiosii for ever!: Car repair manuals for everyone.

Reassembly








AIR CONDITIONING PANEL:

REASSEMBLY

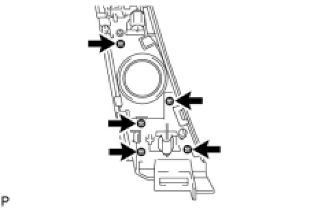
1. INSTALL CENTER CLUSTER MODULE CONTROL ASSEMBLY
NOTE: When reassembling the center cluster module control assembly, eliminate static electricity by touching the vehicle body to prevent the components from being damaged.





(a) Install the center cluster module control assembly with the 5 screws.
2. INSTALL AIR CONDITIONING PANEL SUB-ASSEMBLY RH






(a) Install the air conditioning panel sub-assembly RH with the 3 screws.
3. INSTALL AIR CONDITIONING PANEL SUB-ASSEMBLY LH






(a) Install the air conditioning panel sub-assembly LH with the 3 screws.
4. INSTALL HEATER CONTROL HOUSING SUB-ASSEMBLY






(a) Engage the 4 claws and install the heater control housing sub-assembly with the 4 screws.
5. INSTALL HEATER CONTROL ORNAMENT LH






(a) Install the heater control ornament LH with the 5 screws.
6. INSTALL HEATER CONTROL ORNAMENT RH






(a) Install the heater control ornament RH with the 5 screws.