Curiosii for ever!: Car repair manuals for everyone.

Distance Sensor: Adjustments








CRUISE CONTROL: MILLIMETER WAVE RADAR SENSOR: ADJUSTMENT

ADJUSTMENT
HINT:
- After replacing the ECM on vehicles with radar cruise control system, it is necessary to initialize the ECM so that the ECM can recognize the radar cruise control system Installation
- After replacing the distance control ECU, it is necessary to initialize the distance control ECU so that ECU can recognize the specification of the vehicle Installation.
- There is a limitation on radar beam axis adjustment.
- Since the radar sensor is installed in the radiator support upper and hood lock support sub-assembly, it is important that the laser sensor, bumper reinforcement, and other related parts are installed properly.
- When the sensor is removed from the vehicle for trouble diagnosis or repair, it is necessary to adjust the radar beam axis after the operation.

1. ADJUST MILLIMETER WAVE RADAR SENSOR





CAUTION: Exposure to radio frequency emissions is hazardous to your health. It is hazardous to your health to be within 20 cm (7.9 in.) of the device's radio frequency aperture.
NOTICE:
- This device complies with FCC radio frequency emission regulations.
- Perform measurements on a level surface.
- Make sure that no large pieces of metal are within a 10 m (32.81 ft) x 14 m (45.93 ft) area in front of the vehicle. If possible, the surrounding area should also be free of large metal objects.

(a) Before adjusting the radar beam axis, prepare the vehicle as follows:
(1) Check the tire pressure and adjust it if necessary.
(2) Remove all excess weight from the vehicle (luggage, heavy objects, etc.).
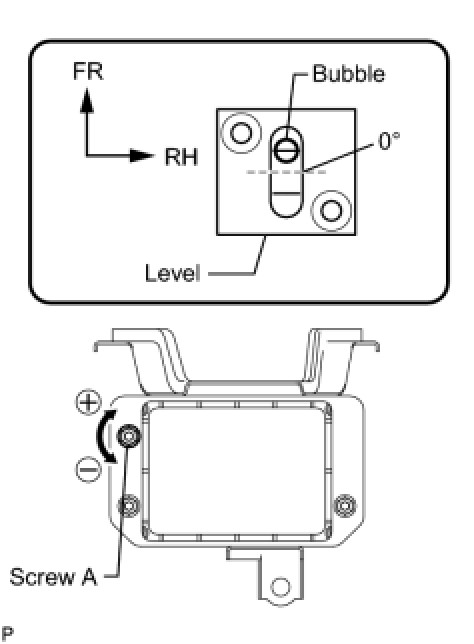
(b) Check and adjust the vertical direction of the radar sensor.





(1) Remove dust, oil, and foreign matter from the radar sensor's level rack.
(2) Set a level on the radar sensor's level rack.





(3) Check that the air bubble is within the red frame on the level.
OK:
The air bubble is within the red frame on the level.
If the bubble is not indicated with the red frame, use a hexagon wrench to adjust screw A until the air bubble is within the red frame.
HINT :
- The adjustable range indicated with the red frame on the level is + - 0.2°.
- The target angle is +0.2° (upward angle of 0.2°).

Result:










(c) Adjust the reflector height.
(1) Adjust the reflector so that the center of the SST reflector is the same height as the millimeter wave radar sensor.
SST: 09870-60000
09870-60010
09870-60040
HINT: Prepare a 10 m (32.81 ft) string, a string with a sharp-pointed weight (plumb bob), and a 5 m (16.41 ft) tape measure.

(d) Place the reflector.





(1) Hang the string (with weight) from the center of the vehicle's rear emblem. Mark the vehicle's rear center point on the ground. Repeat the same procedure for the front of the vehicle.





(2) Set one end of the 10 m (32.82 ft) string on the vehicle's rear center point. Run the string over the vehicle's front center point to a position 5 m (16.41 ft) beyond the vehicle front center point, as shown in the illustration. Mark the 5 m (16.41 ft) position.
(3) Using a tape measure, measure 12 mm (0.47 in.) to the left of the 5 m (16.41 ft) position. Place the reflector at that position.





NOTE: Perform the operation as precisely as possible.

(e) Check the radar beam axis.
(1) Connect Techstream to the Data Link Connector 3 (DLC3).
(2) Turn the engine switch on (IG).
(3) Turn the Techstream main switch on, and turn the cruise control main switch on.
(4) Select Connect to Vehicle.
(5) Select each item on the display screen and proceed to the next screen.
(6) Under "System Selection Menu", select "Radar Cruise".
(7) Select "Utility".
(8) Select "Beam Axis Adjustment" and proceed to the next screen.
(9) Follow the tester display, and continue with the adjustment.
(10) Confirm that the distance value is approximately 5 m (16.4 ft.).






(11) Check the following items on the laser cruise divergence data screen.

- Check that a value between 0.0 and 6.3 is displayed in the meter display, area A.
- Check that a value between 0.0 and 20.7 is displayed in the feet display, area B.
- Check that Left Side or Right Side is displayed in area C.
- Check that an angle value between 0.0 and 6.3 is displayed in area D.
HINT: If the distance is 0 m (0 ft.), the sensor cannot detect the target. Reconfirm that there is no metal in the specified area in front of the vehicle (refer to the NOTICE at the beginning of this adjustment procedure).

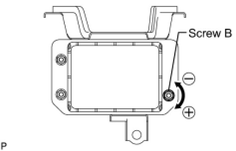
(f) Check and adjust the horizontal direction of the radar sensor.
(1) Check that the divergence of the radar beam axis is 0°.
Standard:
0° (Both right and left)
If the axis is not as specified, use a hexagon wrench to adjust screw B until the divergence of the radar beam axis is 0°.





(2) Based on the measured divergence of the beam axis, turn and adjust screw B for horizontal adjustment of the millimeter wave radar sensor using a hexagon wrench.
Result:





- If "LEFT SIDE: 1.0°" is displayed, the divergence is 1.0° in the left direction. Turn screw B approximately 3 turns to the negative (-) side.
- If the value does not change to 0°, it is likely that the sensor is aiming at something different. Reconfirm that there are no reflective materials around the vehicle.





(3) Reset the radar sensor's driving learning values. Prepare a type of metal that can block radio waves, such as aluminum foil. Cover the radar sensor's left half with the metal for 10 seconds.
NOTE: Be sure to keep the reflector in place and make sure that there is nothing between the sensor's left half and the reflector.
HINT: When the reset is completed, the buzzer sounds for 10 seconds.
(4) Disconnect the Techstream from the Data Link Connectors 3 (DLC3).
(g) Recheck and readjust the vertical direction of the radar sensor.





(1) Set a level on the radar sensor's level rack.





(2) Check that the level's air bubble is within the red frame.
OK:
Level's air bubble is within the red frame.
If the bubble is not within the red frame, use a hexagon wrench to adjust screw A until the level's air bubble is within the red frame.
HINT :
- The adjustable range indicated with the red frame is + - 0.2°.
- The target angle is +0.2° (upward angle of 0.2°).

Result: