Curiosii for ever!: Car repair manuals for everyone.

Ignition Relay No. 2

ON-VEHICLE INSPECTION

1. DISCONNECT CABLE FROM NEGATIVE BATTERY TERMINAL

CAUTION: Wait at least 90 seconds after disconnecting the cable from the negative (-) battery terminal to prevent airbag and seat belt pretensioner activation.

2. REMOVE IG2 RELAY
a. Remove the engine room No. 1 relay block cover.
b. Remove the IG2 relay from the engine room No. 1 relay block.

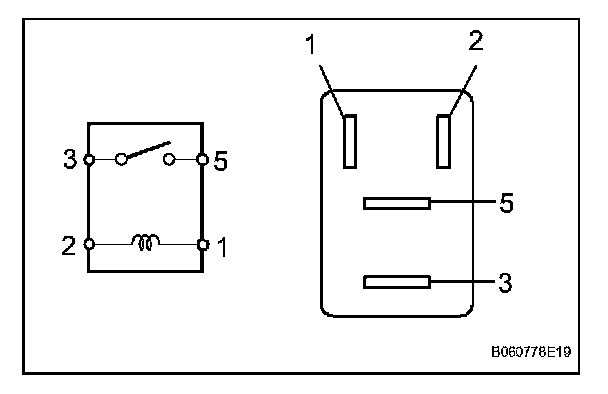
3. INSPECT IG2 RELAY.







a. Measure the resistance of the IG2 relay.

If the result is not as specified, replace the relay.

4. INSTALL IG2 RELAY
5. CONNECT CABLE TO NEGATIVE BATTERY TERMINAL

6. PERFORM INITIALIZATION
a. Perform initialization.

NOTE: Certain systems need to be initialized after disconnecting and reconnecting the cable from the negative (-) battery terminal.