Curiosii for ever!: Car repair manuals for everyone.

Power Steering Fluid: Service and Repair

ON-VEHICLE INSPECTION





1. INSPECT DRIVE BELT
(a) Visually check the belt for excessive wear, frayed cords, etc.
If any defect is found, replace the drive belt.

HINT: Cracks on the rib side of a belt are considered acceptable. Replace the belt if there are any missing ribs.

2. BLEED AIR FROM POWER STEERING SYSTEM
(a) Check the fluid level.
(b) Jack up the front of the vehicle and support it with stands.
(c) Turn the steering wheel.
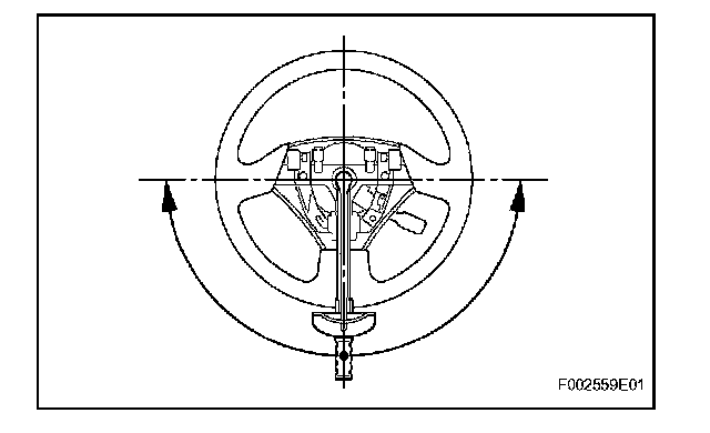
(1) With the engine stopped, turn the steering wheel slowly from lock to lock several times.
(d) Lower the vehicle.
(e) Start the engine. Run the engine at idle for a few minutes.
(f) Turn the steering wheel.
(1) With the engine idling, turn the steering wheel to the left or right full lock position and maintain this position for 2 to 3 seconds, then turn the steering wheel to the opposite full lock position and maintain this position for 2 to 3 seconds.
(g) Stop the engine.





(h) Check for foaming or emulsification.
If the system has to be bled twice because of foaming or emulsification, check for fluid leaks in the system.
(i) Check the fluid level.





3. INSPECT FLUID LEVEL
(a) Keep the vehicle level.
(b) With the engine stopped, check the fluid level in the oil reservoir.
If necessary, add fluid.
Fluid: ATF "DEXRON" II or III

HINT: If the fluid is hot, check that the fluid level is within the HOT level range on the reservoir cap dipstick. If the fluid is cold, check that it is within the COLD level range.

(c) Start the engine and run it at idle.
(d) Turn the steering wheel to the left or right full lock position, and then turn the wheel to the opposite full lock position. Repeat it several times to raise fluid temperature.
Standard fluid temperature: 75 to 80°F (167 to 176°F)





(e) Check for foaming or emulsification.
If there is foaming or emulsification, bleed air from the power steering system.





(f) With the engine idling, measure the fluid level in the oil reservoir.
(g) Stop the engine.
(h) Wait for a few minutes and remeasure the fluid level in the oil reservoir.
Maximum fluid level increase: 5.0 mm (0.20 in.)
If a problem is found, bleed air from the power steering system.
(i) Check the fluid level.
4. INSPECT STEERING FLUID PRESSURE
(a) Remove the air cleaner inlet.
(b) Remove the air cleaner assembly with air cleaner hose.
(c) Disconnect the pressure feed tube from the power steering vane pump.





(d) Connect SST as shown in the illustration.
SST 09640-10010 (09641-01010, 09641-01030, 09641-01060)

NOTICE: Check that the valve of SST is in the open position.

(e) Bleed air from the power steering system.
(f) Start the engine and run it at idle.
(g) Turn the steering wheel to the left or right full lock position, and then turn the wheel to the opposite full lock position. Repeat it several times to raise fluid temperature.
Standard fluid temperature: 75 to 80°F (167 to 176°F)





(h) With the engine idling, close the valve of SST and observe the reading on SST.
Minimum fluid pressure: 8,336 kPa (85 kgf/cm2, 1,209 psi)

NOTICE:
^ Do not keep the valve closed for more than 10 seconds.
^ Do not let the fluid temperature become too high.





(i) With the engine idling, fully open the valve.
(j) Measure the fluid pressure at engine speeds of 1,000 rpm and 3,000 rpm.
Fluid pressure difference: 490 kPa (5 kgf/cm2, 1,209 psi) or less

NOTICE: Do not turn the steering wheel.





(k) With the engine idling and the valve fully open, turn the steering wheel to the right or left full lock position.
Minimum fluid pressure: 8,336 kPa (85 kgf/cm2, 1,209 psi)

NOTICE:
^ Do not maintain the lock position for more than 10 seconds.
^ Do not let the fluid temperature become too high.

(l) Disconnect SST.
SST 09640-10010 (09641-01010, 09641-01030, 09641-01060)
(m) Connect the pressure feed tube.
(n) Install the air cleaner with air cleaner hose.
(o) Install the air cleaner inlet.
(p) Bleed air from the power steering system.
5. TURN AIR CONDITIONING SWITCH OFF





6. INSPECT ENGINE IDLE-UP SPEED
(a) Start the engine and run it at idle.
(b) Fully turn the steering wheel.
(c) Check that the engine speed decreases when the vacuum hose of the air control valve is pinched.
(d) Check that the engine speed increases when the hose is released.





7. INSPECT STEERING EFFORT
(a) Center the steering wheel.
(b) Remove the steering pad.
(c) Start the engine and run it at idle.
(d) Measure the steering effort in both directions.
Standard reference: 7.0 N*m (70 kgf*cm, 61 in.*lbf)

HINT: The tire type, tire pressure and type of surface beneath the vehicle should be taken into consideration before making your diagnosis.





(e) Disconnect the PPS solenoid connector.
(f) Measure the steering effort in both directions and check that the steering effort exceeds the reference value in 7.0 N*m (70 kgf*cm, 61 in.*lbf), and that the power assist is operating. If the steering effort is not greater than 7.0 N*m (70 kgf*cm, 61 in.*lbf), check the solenoid.

HINT: Take the tire type, pressure and contact surface into consideration before making your diagnosis.

(g) Connect the connector.
(h) Torque the steering wheel set nut.
Torque: 50 N*m (510 kgf*cm, 37 ft.*lbf)
(i) Install the steering pad.