Curiosii for ever!: Car repair manuals for everyone.

Transmission Position Sensor/Switch: Service and Repair

PARK / NEUTRAL POSITION SWITCH

COMPONENTS:





ON-VEHICLE INSPECTION
1. INSPECT PARK/NEUTRAL POSITION SWITCH ASSEMBLY
(a) Apply the parking brake and turn the engine switch on (IG).
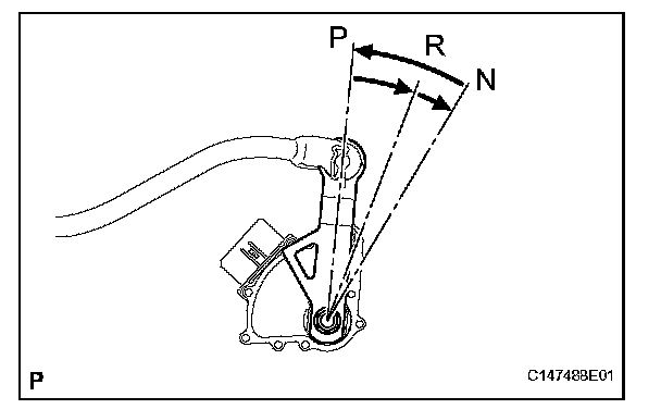
(b) Depress the brake pedal and check that the engine starts when the shift lever is on N or P, but does not start in other positions.
(c) Check that the back-up light illuminates and the reverse warning buzzer sounds when the shift lever is on R, but do not function in other positions. If the results are not as specified, check the park/neutral position switch for continuity.

REMOVAL
1. REMOVE COWL TOP VENTILATOR LOUVER
2. DISCONNECT CABLE FROM NEGATIVE BATTERY TERMINAL

CAUTION: Wait at least 90 seconds after disconnecting the cable from the negative (-) battery terminal to prevent airbag and seat belt pretensioner activation.

NOTICE: After the engine switch is turned off, the HDD navigation system requires approximately 6 minutes to record various types of memory and settings. As a result, after turning the engine switch off, wait 6 minutes or more before disconnecting the cable from the negative (-) battery terminal.





3. DISCONNECT FLOOR SHIFT GEAR SHIFTING ROD SUB-ASSEMBLY
(a) Remove the nut and disconnect the floor shift gear shifting rod.





4. REMOVE PARK/NEUTRAL POSITION SWITCH ASSEMBLY
(a) Disconnect the switch connector.
(b) Remove the nut, spring washer and transmission control shaft lever.





(c) Using a screwdriver, pry off the lock washer.





(d) Remove the lock nut and lock washer.





(e) Remove the bolt and switch.

INSPECTION





1. INSPECT PARK/NEUTRAL POSITION SWITCH ASSEMBLY
(a) Measure the resistance of the switch when the shift lever is moved to each position.

Standard resistance:





ADJUSTMENT





1. ADJUST PARK/NEUTRAL POSITION SWITCH ASSEMBLY
(a) Loosen the bolt of the park/neutral position switch and move the shift lever to the N position.
(b) Align the groove with the neutral basic line.
(c) Hold the switch in position and tighten the bolt.
Torque: 13 N*m (133 kgf*cm, 10 ft.*lbf)
(d) After adjustment, perform the on-vehicle inspection.

INSTALLATION
1. INSTALL PARK/NEUTRAL POSITION SWITCH ASSEMBLY
(a) Install the switch to the manual valve shaft.





(b) Temporarily install the bolt.





(c) Install a new lock washer with the nut.
Torque: 6.9 N*m (70 kgf*cm, 61 in.*lbf)





(d) Temporarily install the control shaft lever.





(e) Turn the control shaft lever counterclockwise until it stops, and then turn it clockwise 2 notches to set it to the N position.
(f) Remove the control shaft lever.





(g) Align the groove with the neutral basic line.
(h) Hold the switch in this position and tighten the bolt.
Torque: 13 N*m (133 kgf*cm, 10 ft.*lbf)





(i) Using a screwdriver, bend the tabs of the lock washer.

HINT: Bend at least 2 washer tabs.





(j) Install the transmission control shaft lever with the spring washer and nut.
Torque: 16 N*m (163 kgf*cm, 12 ft.*lbf)
(k) Connect the switch connector.





2. CONNECT FLOOR SHIFT GEAR SHIFTING ROD SUB-ASSEMBLY
(a) Temporarily connect the shifting rod to the connecting rod swivel with the nut.

HINT: The nut will be tightened to a torque specification during the shift lever position adjustment procedure.

3. CONNECT CABLE TO NEGATIVE BATTERY TERMINAL
4. INSTALL COWL TOP VENTILATOR LOUVER
5. ADJUST SHIFT LEVER POSITION
(a) Adjust the shift lever position.
6. INSPECT PARK/NEUTRAL POSITION SWITCH ASSEMBLY
(a) Inspect the switch.
7. PERFORM INITIALIZATION
(a) Perform initialization.

NOTICE: Certain systems need to be initialized after disconnecting and reconnecting the cable from the negative (-) battery terminal.