Curiosii for ever!: Car repair manuals for everyone.

Display and Navigation Assembly Communication Stop Mode

Display and Navigation Assembly Communication Stop Mode




DESCRIPTION

HINT: For vehicles with multi-display only.

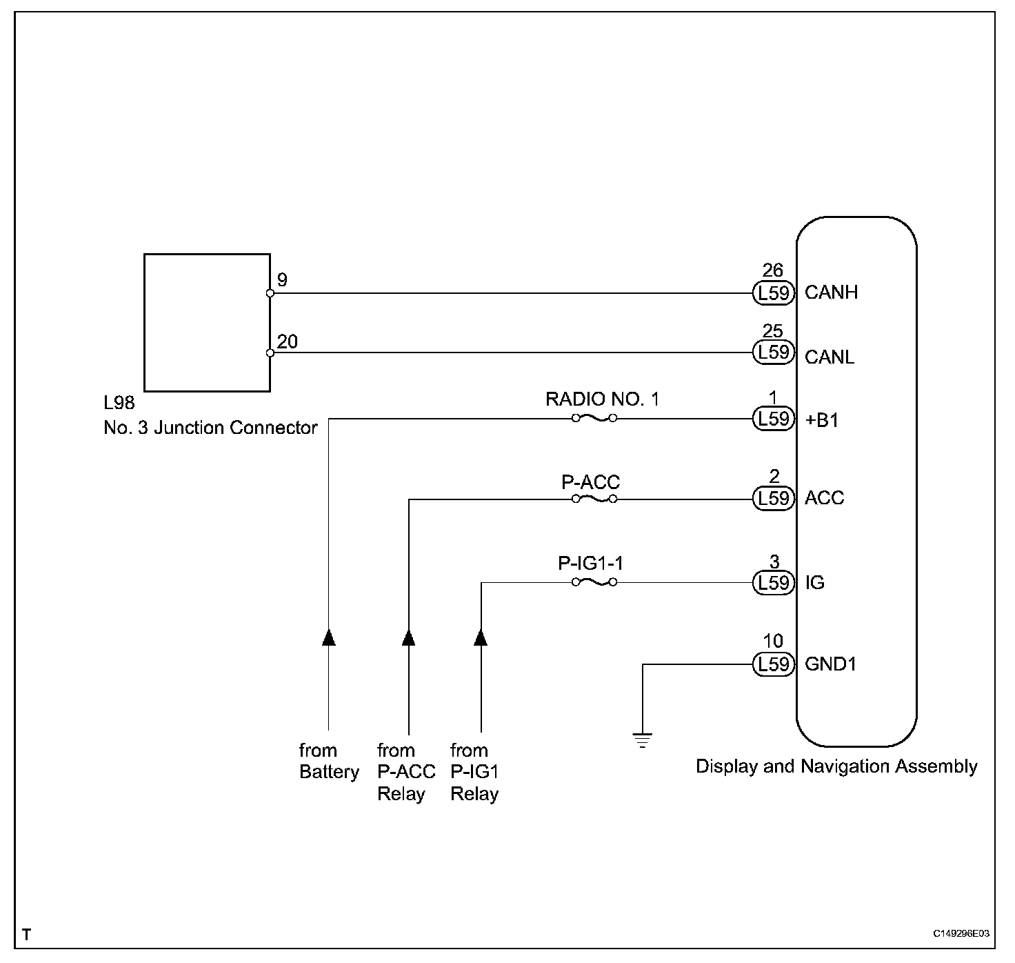
Wiring Diagram:






Step 1:




Step 1 (Continued)-3:




Step 3:




INSPECTION PROCEDURE

HINT: Operating the engine switch, any switches or any doors triggers related ECU and sensor communication with the CAN, which causes resistance variation.