Curiosii for ever!: Car repair manuals for everyone.

Rear Wheel Alignment

REAR WHEEL ALIGNMENT

ADJUSTMENT
1. INSPECT TIRE
(a) Inspect the tires.
2. MEASURE VEHICLE HEIGHT
(a) Measure the vehicle height for coil suspension.
(b) Measure the vehicle height for air suspension.





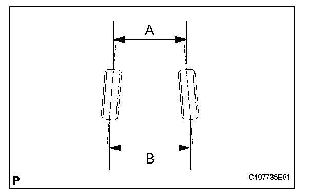
3. INSPECT TOE-IN
Standard toe-in: B - A 3 ± 2 mm (0.12 ± 0.08 in.)
If the toe-in is not within the specified range, inspect the suspension parts and replace if necessary.





4. ADJUST TOE-IN
(a) Loosen the toe adjust cam nut.
(b) Turn the adjust cams by an equal amount to adjust toe-in.

HINT:
^ Try to adjust the toe-in to the center value.
^ The toe-in will change by the following specification corresponding to each graduation of the cam: Approximately: 4.8 mm (0.19 in.)

(c) Tighten the nut.
Torque: 60 N*m (612 kgf*cm, 44 ft.*lbf)





5. INSPECT CAMBER
(a) Install a camber-caster-kingpin gauge or put the wheels on a wheel alignment tester.
(b) Inspect the camber.

Standard camber inclination (unloaded vehicle):





If the measured value is not within the specified range, inspect the suspension parts for damage and wear. Replace parts as necessary because camber cannot be properly adjusted with any damaged or worn parts.





6. INSPECT REAR SUSPENSION
(a) Inspect the rear suspension member.
(1) Measure the distance between the centers of the installation bolts of the rear No. 2 suspension arm assembly LH and RH.
Standard length: 588.0 mm (23.150 in.)

HINT: If the distance is not within the specified range, replace the rear suspension member.

(2) Visually inspect the press holes on the installation area of the upper control arm assembly rear No. 2.
Standard length: The holes are not deformed.

HINT: If the holes are deformed, replace the rear suspension member.





(b) Inspect the rear No. 1 suspension arm.
(1) Measure the distance between the centers of the 2 installation bolts of the rear No. 1 suspension arm.
Standard length: 361.3 to 362.1 mm (14.224 to 14.256 in.)

HINT: If the distance is not within the specified range, replace the rear No. 1 suspension arm.





(c) Inspect the rear No. 2 suspension arm.
(1) Measure the distance between the centers of the 2 installation bolts of the rear No. 2 suspension arm.
Standard length: 426.8 to 427.6 mm (16.803 to 16.835 in.)

HINT: If the distance is not within the specified range, replace the rear No. 2 suspension arm.





(d) Inspect the rear upper No. 1 control arm.
(1) Measure the distance between the centers of the installation bolt of the rear upper No. 1 control arm and the ball joint stud.
Standard length: 208.5 to 209.3 mm (8.209 to 8.240 in.)

HINT: If the distance is not within the specified range, replace the rear upper No. 1 control arm.





(e) Inspect the rear upper No. 2 control arm.
(1) Measure the distance between the centers of the installation bolt of the rear upper No. 2 control arm and the ball joint stud.
Standard length: 329.2 to 330.0 mm (12.961 to 12.992 in.)

HINT: If the distance is not within the specified range, replace the rear upper No. 2 control arm.





(f) Inspect the toe control link.
(1) Measure the distance between the centers of the installation bolt of the toe control link and the ball joint stud.
Standard length: 472.6 to 473.6 mm (18.606 to 18.646 in.)

HINT: If the distance is not within the specified range, replace the toe control link.

(g) Inspect and adjust toe-in and camber.
(1) Inspect toe-in and camber.
If the values are not within the specified range, adjust the installation bolt holding the rear suspension member to the vehicle body, or the bolt holding the upper control arm and rear suspension arm so that the values fall within the specified range.





7. REPLACE REAR SUSPENSION ARM ATTACHMENT SUB-ASSEMBLY
(a) When rear suspension member is not replaced:
(1) Use the same stamping No. as the parts that were removed from the left and right side of the vehicle.
(b) When rear suspension member is replaced:
(1) Use stamping No. 1 for the parts that were removed from the left and right side of the vehicle.

Part No. Information: