Curiosii for ever!: Car repair manuals for everyone.

Initialization

INITIALIZATION

1. DESCRIPTION




a. Perform initialization of linear solenoid valve and calibration when the skid control ECU, brake actuator or brake pedal stroke sensor is replaced. Follow the procedure to perform initialization.

HINT:

- If there is a problem with battery (12 V) voltage, initialization of linear solenoid valve and calibration cannot be completed normally. Check the battery voltage before performing initialization of linear solenoid valve and calibration.
- If the actuator's temperature is high, initialization of linear solenoid valve and calibration may not be completed normally. If so, wait until the temperature drops and then perform initialization of linear solenoid valve and calibration.
- If the engine switch is turned off, the brake pedal is operated or the vehicle speed is input while the linear solenoid valve offset learning is being performed, the learning will be canceled.

2. CLEAR STORED VALUE OF INITIALIZATION OF LINEAR SOLENOID VALVE AND CALIBRATION (WHEN USING INTELLIGENT TESTER OR TECHSTREAM)

a. Connect the intelligent tester or Techstream to the DLC3.
b. Move the shift lever to the P position.
c. Turn the engine switch on (IG) with the brake pedal released.
d. Clear the stored value of initialization of linear solenoid valve and calibration following the screen.

HINT: Refer to the intelligent tester or Techstream operator's manual for further details.

3. PERFORM INITIALIZATION OF LINEAR SOLENOID VALVE AND CALIBRATION (WHEN USING INTELLIGENT TESTER OR TECHSTREAM)

a. Connect the intelligent tester or Techstream (with CAN VIM) to the DLC3.
b. Move the shift lever to the P position.
c. Turn the engine switch on (IG) with the brake pedal released.

NOTE:
- If the linear solenoid valve offset learning is performed without turning the engine switch on (IG), the learning process may not be completed properly because of insufficient battery voltage.
- When the linear solenoid valve offset learning is interrupted, or the learning process is performed with the shift lever not in the P position, DTC C1345/66 will be stored.

d. Set the intelligent tester or Techstream to Test Mode (select "ABS/VSC/TRAC", "Utility").

HINT: Refer to the intelligent tester or Techstream operator's manual for further details.

e. Leave the vehicle stationary without depressing the brake pedal for 1 or 2 minutes.




f. Check that the interval between blinks of the brake warning light / yellow (minor malfunction) changes from 1 second to 0.25 second.

HINT:
- The time needed to complete initialization of linear solenoid valve and calibration varies depending on battery voltage.
- The brake warning light / yellow (minor malfunction) blinks at 1 second intervals during the initialization of linear solenoid valve and calibration. After it is complete, the brake warning light / yellow (minor malfunction) changes to the Test Mode display, and blinks at 0.25 second intervals.

g. When the brake warning light / yellow (minor malfunction) changes to the Test Mode display, check that DTC C1345/66, which indicates trouble with stroke sensor zero point learning, is not output.
h. Enter the normal mode from the Test Mode following the intelligent tester or Techstream prompts.

HINT: Refer to the intelligent tester or Techstream operator's manual for further details.

4. CLEAR STORED VALUE OF INITIALIZATION OF LINEAR SOLENOID VALVE AND CALIBRATION (WHEN USING SST CHECK WIRE)




a. Move the shift lever to the P position.
b. Turn the engine switch on (IG) with the brake pedal released.
c. Using SST, connect and disconnect terminals 12 (TS) and 4 (CG) of the DLC3 4 times or more within 8 seconds.

SST 09843-18040




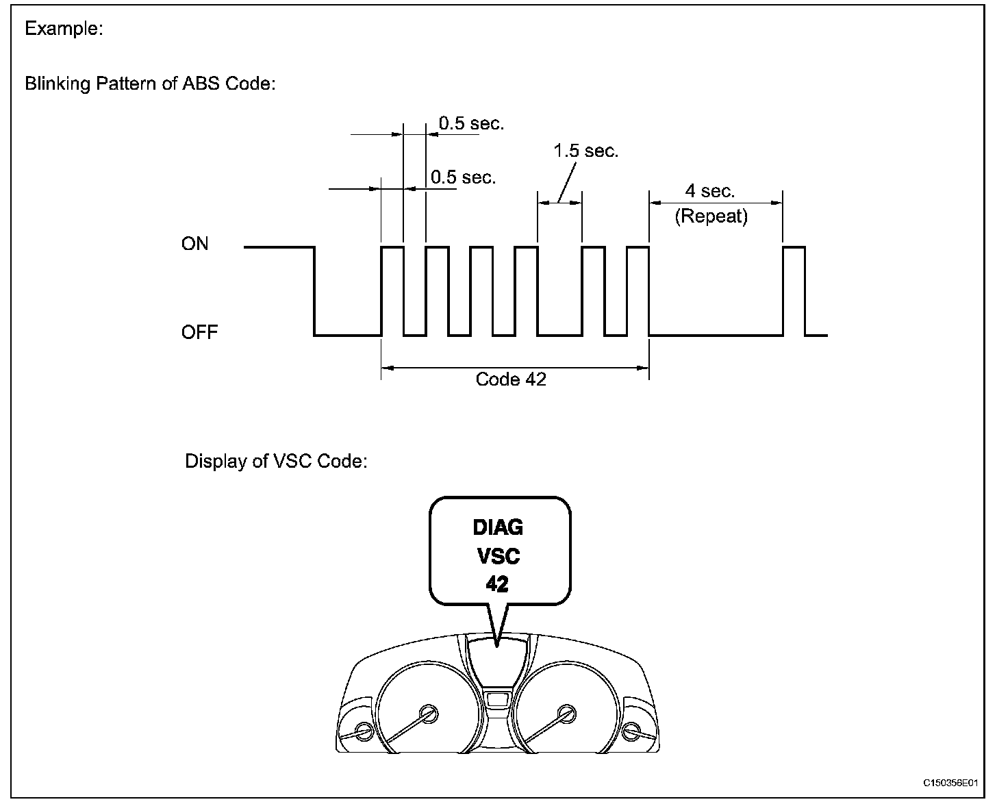
d. Check that no codes other than ABS code 42, VSC code 45 and electronically controlled brake system code 48, 66, or 95 are stored in the diagnostic system.

HINT: The ABS warning light and multi-information display do not indicate the normal system code.

5. PERFORM INITIALIZATION OF LINEAR SOLENOID VALVE AND CALIBRATION (WHEN USING SST CHECK WIRE)

a. Turn the engine switch off.




b. Using SST, connect terminals 12 (TS) and 4 (CG) of the DLC3.

SST 09843-18040

c. Move the shift lever to the P position.
d. Turn the engine switch on (IG) with the brake pedal released.

NOTE:
- If the linear solenoid valve offset learning is performed without turning the engine switch on (IG), the learning process may not be completed properly because of insufficient battery voltage.
- When the linear solenoid valve offset learning is interrupted, or the learning process is performed with the shift lever not in the P position, DTC C1345/66 will be stored.

e. Leave the vehicle stationary without depressing the brake pedal for 1 or 2 minutes.




f. Check that the interval between blinks of the brake warning light / yellow (minor malfunction) changes from 1 second to 0.25 seconds.

HINT:
- The time needed to complete initialization of linear solenoid valve and calibration varies depending on the battery voltage.
- The brake warning light / yellow (minor malfunction) blinks at 1 second intervals during the initialization of linear solenoid valve and calibration. After it is complete, the brake warning light / yellow (minor malfunction) changes to the Test Mode display, and blinks at 0.25 second intervals.

g. When the brake warning light / yellow (minor malfunction) changes to the Test Mode display, check that DTC C1345/66, which indicates trouble with stroke sensor zero point learning, is not output.

h. Turn the engine switch off and disconnect SST from the DLC3.