Curiosii for ever!: Car repair manuals for everyone.

Front Passenger Side Door Entry Unlock Function Does Not Operate

Front Passenger Side Door Entry Unlock Function does not Operate

DESCRIPTION
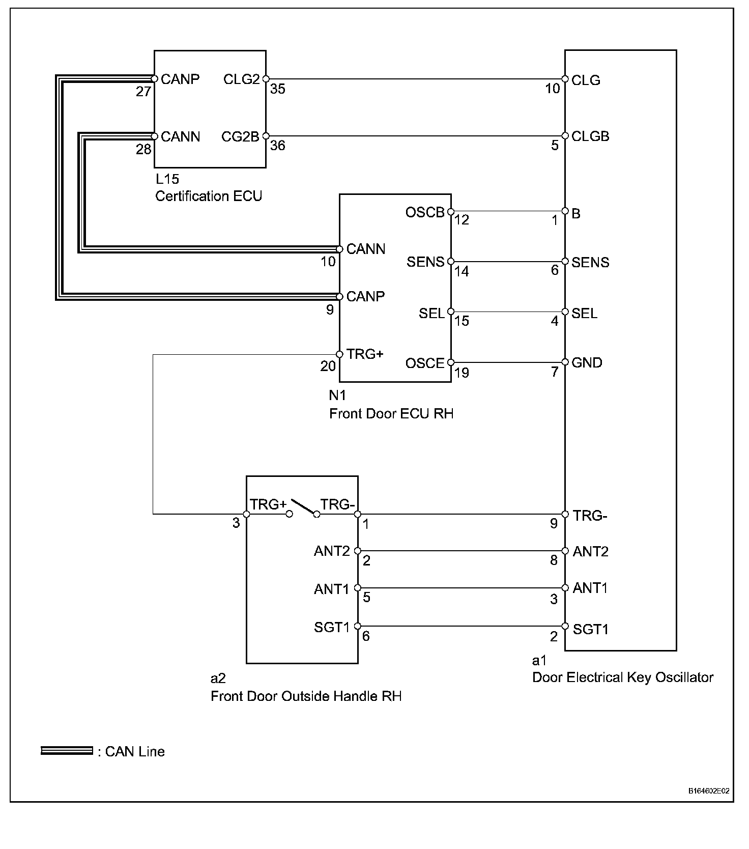
If the front passenger door entry unlock function does not operate but the entry lock operation operates, the communication line between the vehicle and electrical key transmitter is normal. Either of the following may have occurred: 1) the door outside handle touch sensor is malfunctioning; or 2) the front door ECU RH receives the door outside handle touch sensor ON signal, but is unable to send the signal to the certification ECU through CAN communication.

Wiring Diagram:






Step 1-2:




Step 2 (Continued)-4:




Step 5-6:




Step 7-8:




INSPECTION PROCEDURE